The engine stopped running why?

Tiny
THETOYMAN1
  • MEMBER
  • 1995 TOYOTA CAMRY
  • 2.2L
  • 4 CYL
  • FWD
  • AUTOMATIC
  • 28,622 MILES
I start it up in the morning and drive to work just fine. It is when I try to start it up again after I get somewhere. I have to wait forty five minutes to an hour before it will restart. It is like something needs to cool down. It also stalls out in traffic if I have been in it for an hour or so. I have put in a new fuel filter and a igniter box. It cranks fine but no spark when I try to restart it. Any ideas would be great. Thanks
Tuesday, December 13th, 2016 AT 7:05 AM

32 Replies

Tiny
STEVE W.
  • MECHANIC
  • 15,679 POSTS
It could be a number of things. The most common causes would be the crank position sensor. As a quick test to find the problem, visit a store and buy a couple cans of "computer duster" or "canned air". Those are both just canned refrigerant. When the engine quits flip a can upside down and spray one component at a time. This will cool them fast. Try one then try to start it. When you get it to start the component you just sprayed was the problem. This sounds like the crankshaft angle sensor or the fuel pump has gone out, when you turn the key to the on position without cranking the engine over can you hear the fuel pump run in the tank for 5 seconds?

https://www.2carpros.com/articles/car-cranks-but-wont-start

Please run down this guide and report back.
Was this
answer
helpful?
Yes
No
Tuesday, December 13th, 2016 AT 9:54 AM
Tiny
DGREGO5555
  • MEMBER
  • 3 POSTS
  • 1995 TOYOTA CAMRY
  • 4 CYL
  • FWD
  • AUTOMATIC
  • 200,000 MILES
My 1995 Camry 2.2 will only start if I advance the distributor past the hold down point. I have check every thing over and over including the timing belt cam position to TDC position, distributor rotor under #1 on the cap. I have back probed the ECM and checked every pin voltage test and all check out ok. I changed the Ecm with a used one purchased from Ebay still the same thing. When the distributor is in the proper position the enging just cranks untill I step on the gas then it back fires thru the throttle body.
Was this
answer
helpful?
Yes
No
Monday, February 22nd, 2021 AT 10:12 AM (Merged)
Tiny
BILLYMAC
  • MECHANIC
  • 2,204 POSTS
Hi this is a timeing prob. Maybe the marks you are useing is the wrong ones. As the marks on this engine are deceptive. Try this get no 1 up on tdc roll eng by hand and use a piece of hose inside the spark plug hole roll eng until eng goes all the way to the top and starts it, s downward stroke. Now remove the v/c and make sure the valves are all closed on the no 1 cyl if they are the the mark nearest the notch or extruded indentation are aligned.. Let me know if I can help. Billymac
Was this
answer
helpful?
Yes
No
Monday, February 22nd, 2021 AT 10:12 AM (Merged)
Tiny
DGREGO5555
  • MEMBER
  • 3 POSTS
The #1 piston is up @ TDC the cam is @ it's mark. The cam gear has a hole which is aligned with a mark on the cam bearing cap you look thru the hole in the cam gear to align the hole with the mark. When both those are in place both valves are closed on the #1 cylinder which is the one closes to the timing belt. The distributor has alignment marks you align before stabbing back into the head and when those marks are aligned the rotor points to aprox 7 pm postion which is #1 on the cap. I have checked & triple checked the plug wire position, timing belt alignment, distributor position, and everything else over and over again.
Was this
answer
helpful?
Yes
No
Monday, February 22nd, 2021 AT 10:12 AM (Merged)
Tiny
BILLYMAC
  • MECHANIC
  • 2,204 POSTS
Hi, sorry I really don, t know. Resubmit your question and under subject request toyota tech. He will be able to help you sorry billymac
Was this
answer
helpful?
Yes
No
Monday, February 22nd, 2021 AT 10:12 AM (Merged)
Tiny
DGREGO5555
  • MEMBER
  • 3 POSTS
I finally got it figured out. Something kept bugging me that was the wire on the original pig tail was black and it was on the end of the pig tail but both all of the wiring diagrams and both pig tails I had including one off of a 93 camry showed the black wire in the middle. I found the original pig tail I cut off and broke it apart to find the wire colors and they turned out to go different prongs on the distributor that the other pigtails and different than all of the wiring diagrams. Motors, Mitchell, Autozone & Haynes repair manuals all had it wrong. Wow I i hadn't kept the old connector I doubt this would have ever got fixed. Thanks for all the help. Dan
Was this
answer
helpful?
Yes
No
Monday, February 22nd, 2021 AT 10:12 AM (Merged)
Tiny
TOMMYBRANDON
  • MEMBER
  • 1 POST
  • 1995 TOYOTA CAMRY
  • 4 CYL
  • 2WD
  • AUTOMATIC
Why my camry 2200 won't start with the alternator plugged in. And what are common reasons for my 2200 camry to have a bad miss to it why idling.
Was this
answer
helpful?
Yes
No
Monday, February 22nd, 2021 AT 10:13 AM (Merged)
Tiny
KHLOW2008
  • MECHANIC
  • 41,814 POSTS
Do you mean it starts when the alternator is unplugged?

https://www.2carpros.com/articles/car-cranks-but-wont-start

The above link explains how to go about troubleshooting the non starting problem.

As to the miss, it could be the spark plug or wires.
Was this
answer
helpful?
Yes
No
+1
Monday, February 22nd, 2021 AT 10:13 AM (Merged)
Tiny
PDEX
  • MEMBER
  • 1 POST
  • 1994 TOYOTA CAMRY
  • 2.2L
  • 4 CYL
  • 2WD
  • AUTOMATIC
  • 145,224 MILES
The car will shut off when coming to a stop and when in rain sometimes wont start. I have replaced the cap and rotor plugs wires fuel fitter and distributor.
Was this
answer
helpful?
Yes
No
Monday, February 22nd, 2021 AT 10:15 AM (Merged)
Tiny
KASEKENNY
  • MECHANIC
  • 18,907 POSTS
Hi PDEX,

This sounds like a weak spark so you may be on the right path. Have you checked for a weak spark? The coil is responsible for delivering the primary spark to the distributor but before it get there it goes through the igniter which interrupts the signal which creates a voltage spike and generates the high voltage needed in order ignite the air/fuel.

Normally a weak spark is an issue as you describe so I would suggest look at the coil and then confirm that the igniter came with the distributor you replaced. Normally it does but if you had to change it over then I would suggest replacing it and the coil. However, I believe your coil is part of the distributor as well so just let me know if this all part of what you replaced. Thanks

https://www.2carpros.com/articles/how-to-test-an-ignition-system
Was this
answer
helpful?
Yes
No
Monday, February 22nd, 2021 AT 10:15 AM (Merged)
Tiny
SPIDR8U
  • MEMBER
  • 2 POSTS
  • 1994 TOYOTA CAMRY
  • 2.2L
  • 4 CYL
  • 2WD
  • MANUAL
  • 332,367 MILES
I smell fuel sometimes and I jumped a wire to get my codes and I got a 31. The check engine light is not on as if there were a problem. This happened six months ago and if I got it started and pushed on the gas it would barely run. Then I would start it again and it would drive fine for twenty feet and then if I have it gas it would die and not start at all. I could let it set for sometimes an hour or a month and then one day it would start and run fine for several months. A few weeks ago it started doing this again. I would crank it several times and then finally it would start and maybe run a little rough for a few seconds but then be fine. It would do this once a week for a couple weeks and then it started occurring several times last week. It sat for two days before it would start and then acted fine driving until I started to slow down to stop and it started shaking and shuddering and I tried giving it gas to keep it running but it still shut off. I cranked it over a couple times and then it started and I drove a half mile and it shut off again while I was slowing down to turn. It shut off and I can’t get it to start at all now after several days. I replaced the MAP sensor but still just cranks with no start. What should I do?
Was this
answer
helpful?
Yes
No
Monday, February 22nd, 2021 AT 10:15 AM (Merged)
Tiny
SCGRANTURISMO
  • MECHANIC
  • 4,897 POSTS
Hello,

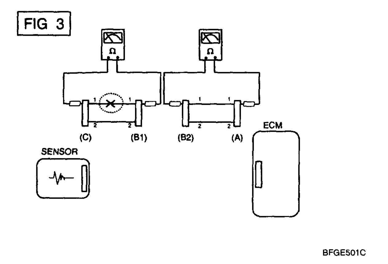
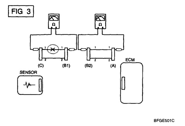
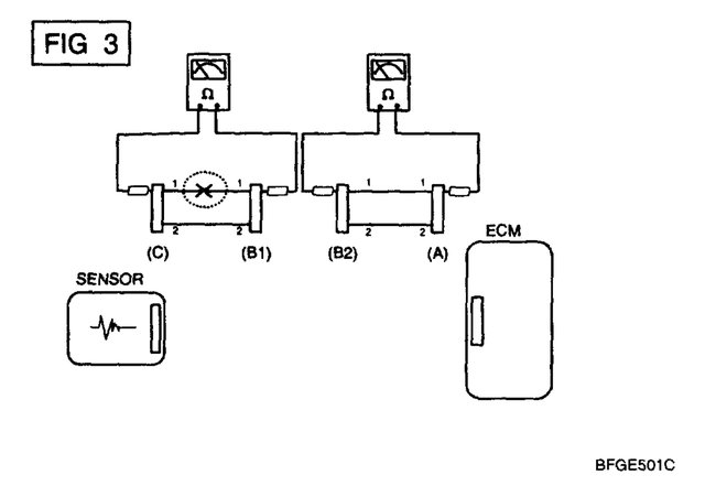
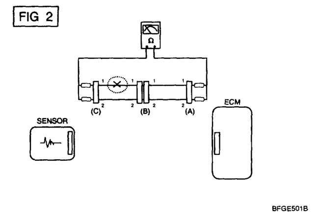
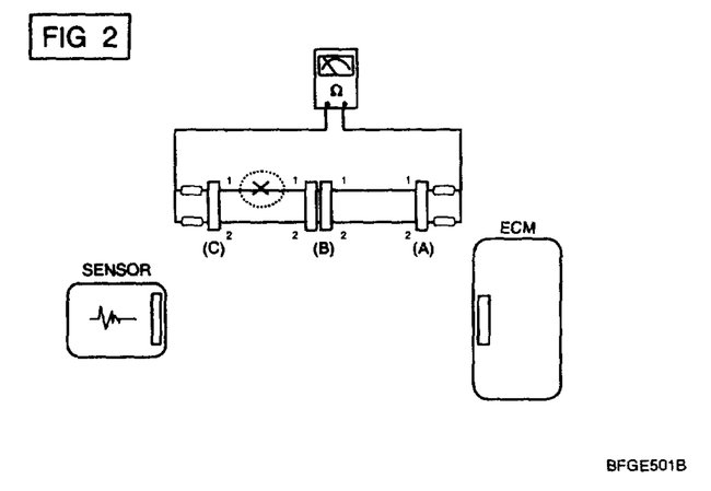
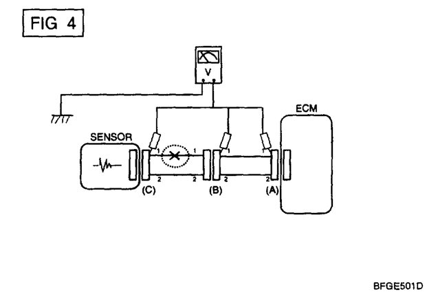
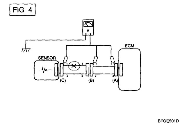
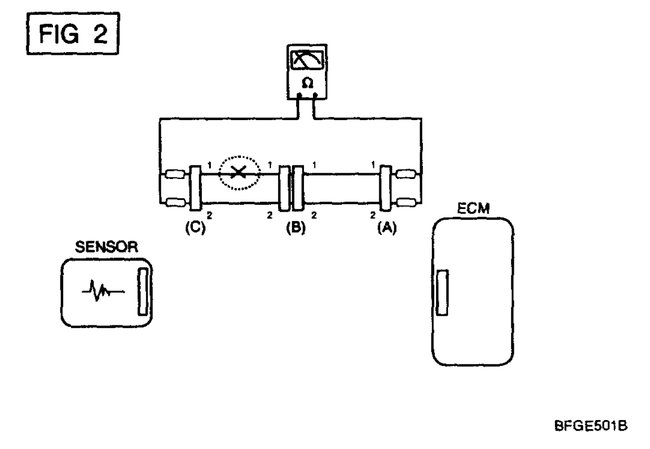
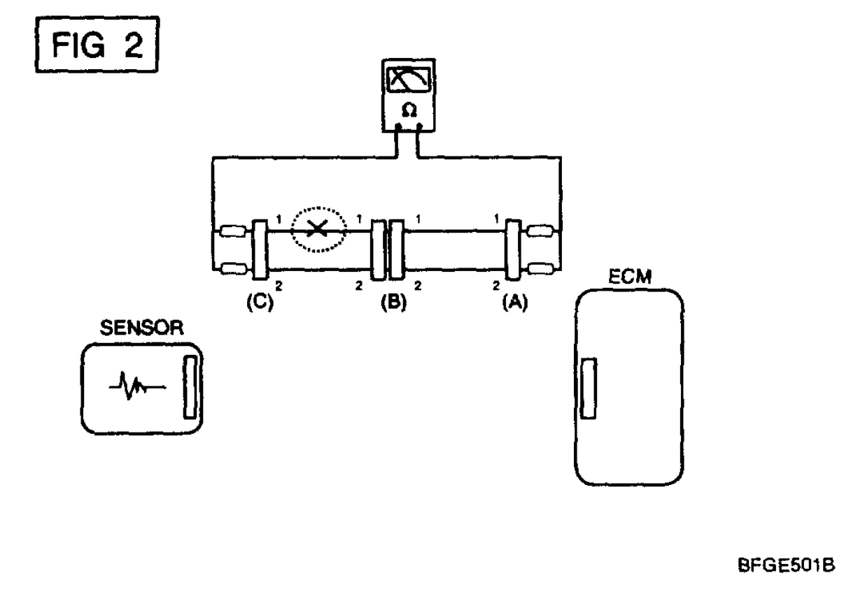
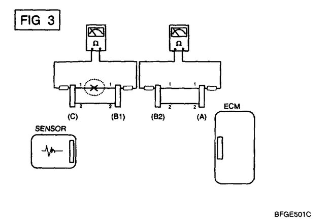
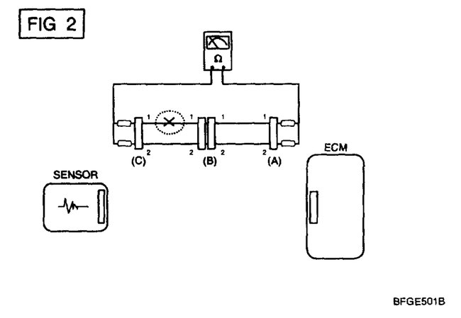
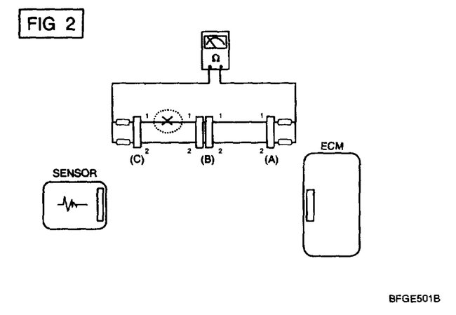
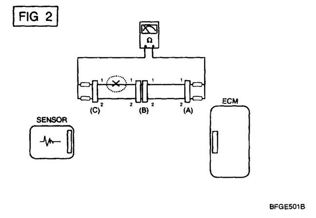
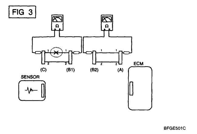
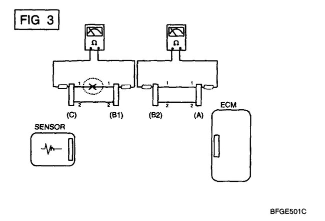
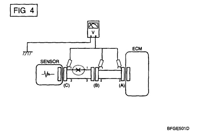
The Direct Trouble Code (DTC) 31 for your vehicle is a DTC for the Manifold Absolute Pressure sensor (MAP) or the MAP sensor circuit, which will have an open (a break in the electrical path) so that your Power-train Control Module (PCM) is not reading the sensor. In the diagrams down below I have sent you not only the DTC description, but the circuit wiring diagrams and instructions for how to find an open in an electrical circuit for you. It will require you to use a multi-meter. so here is a link below for you if you are unfamiliar with how to use one:

https://www.2carpros.com/articles/how-to-use-a-voltmeter

Please go through these guides and get back to us with what you are able to find out.

Thanks,
Alex
2CarPros
Was this
answer
helpful?
Yes
No
Monday, February 22nd, 2021 AT 10:15 AM (Merged)
Tiny
FUSD
  • MEMBER
  • 1 POST
  • 1994 TOYOTA CAMRY
  • 2.2L
  • 4 CYL
  • 2WD
  • MANUAL
  • 149,000 MILES
My car will run when first started for about thirty to forty five minutes. Then it shuts down and I have to wait until it cools down before it restarts. Once it cools down it will run from five to forty five minutes depending on how I let it cool down. I have replaced the igniter coil due to the fact I had a check engine light code of 14 which is the igniter, but no help. It almost seams as though an electrical component is heating up and shorting out until it cools down. Any help would be appreciated.
Was this
answer
helpful?
Yes
No
Monday, February 22nd, 2021 AT 10:16 AM (Merged)
Tiny
HARRY P
  • MECHANIC
  • 2,296 POSTS
ALLData's information on trouble code 14 says that there is a short somewhere in that circuit, and not necessarily the igniter itself. It could be the igniter, a wiring problem, or the ECM itself. You should definitely trace the wiring there and see if there are any bare spots in the wiring. Personally, I would see about replacing the connector coming from the igniter, whether or not you see any issue from it.

It would not be a bad idea to actually check the sparks when it's acting up either. You can get a spark tester for roughly $15.00 at AutoZone. Here is the one I have: https://www.amazon.com/Lisle-20610-Inline-Spark-Tester/dp/B0002STSC6/ref=sr_1_3?ie=UTF8&qid=1501325755&sr=8-3&keywords=spark+tester

Just take the plug wire off of the plug, and plug the tester in between the plug and wire. Then have someone crank it and observe the sparks. They should be bright. Very bright. And consistent. Check all cylinders.

Finally, have you checked the fuel pressure when it is shutting off? Personally, that is what I would suspect. Sometimes fuel pumps will lose pressure when they get good and hot, causing the car shut off. You can borrow a fuel pressure gauge from the local auto parts shops (AutoZone, Advance Auto, and O'reilly). Here is a how-to guide: https://www.2carpros.com/articles/how-to-check-fuel-system-pressure-and-regulator

Let us know what you find.

Was this
answer
helpful?
Yes
No
Monday, February 22nd, 2021 AT 10:16 AM (Merged)
Tiny
SPIDR8U
  • MEMBER
  • 2 POSTS
  • 1994 TOYOTA CAMRY
  • 2.4L
  • 4 CYL
  • 2WD
  • MANUAL
  • 332,338 MILES
I try starting my car and it will crank but won’t start. After I try starting it a few times it will start. This doesn’t always happen, only randomly. Last week it started and then shut off after I turned on the A/C right away it shut off. I tried starting it and it only would crank not turn over and white smoke came from under the hood. I let it set about fifteen minutes and then it started right up and drove fine. Since then it would not start a few random times but after cranking it over a few times it started and was fine. Today it wouldn’t start again. Tried several times and then white smoke under the hood again. Still won’t start.
Was this
answer
helpful?
Yes
No
Monday, February 22nd, 2021 AT 10:16 AM (Merged)
Tiny
SCGRANTURISMO
  • MECHANIC
  • 4,897 POSTS
Hello,

This could be a couple of things, it could be a bad wire, like maybe the ground wire from the starter back to the battery being loose or having a lot of resistance to it causing an electrical backup and smoking a wire, or it could be a bearing on a component the the serpentine belt drives that is failing and starting to freeze up causing the smoke. In the diagrams down below I have included a wiring diagram of your vehicle's starting circuit. Please check the grounds to the battery and make sure that they are clean, tight, corrosion free, and making good metal to metal contact and then please, get back to us with what you are able to find out. We can go from there.

Thanks,
Alex
2CarPros
Was this
answer
helpful?
Yes
No
+1
Monday, February 22nd, 2021 AT 10:16 AM (Merged)
Tiny
ADNAN2EZ
  • MEMBER
  • 1 POST
  • 1994 TOYOTA CAMRY
I have a Camry 94, after driving for more than an hour it starts miss firing and some times it stops. And after that I try to start it but it won't. Engine cranks but don't start.I've change fuel pump, distributor, ignitor, plugs. But still it's the same.I've examined one thing that when it's cranking and not starting.I've unplugged the fuel pump connector then it starts
then plugging back the connector car keeps on running but when I stop the car it's the same. And then unplug the fuel pump. Engine starts. Please help me!
Was this
answer
helpful?
Yes
No
Monday, February 22nd, 2021 AT 10:19 AM (Merged)
Tiny
JOEWEE39
  • MEMBER
  • 2 POSTS
Have you looked at the fuel pressure regulator going to the injectors it may be getting clogged
Was this
answer
helpful?
Yes
No
Monday, February 22nd, 2021 AT 10:20 AM (Merged)
Tiny
CAPTAIN HANK
  • MEMBER
  • 32 POSTS
Check your fuel pump relay and the EFI relay. Sounds as if you have an electrical problem.
Was this
answer
helpful?
Yes
No
Monday, February 22nd, 2021 AT 10:20 AM (Merged)
Tiny
BOOTLG13
  • MEMBER
  • 1 POST
  • 1994 TOYOTA CAMRY
  • 2.2L
  • 4 CYL
  • FWD
  • AUTOMATIC
  • 225,000 MILES
Hello my 1994 Toyota camry with 225000 miles wont start after driving for about an hour.I start car in the morning or after its been sitting a few hours it idles high at about 2500 rpms then idle fluctuates up and down till settling down to about 1.5 rpms then I will drive around for about an hour or so then get back in car after going in store or someplace else and car wont start. Cranks but wont start.I changed fuel pump, gas cap, iac valve. Cat converter, and cap wires and plugs can you please help
Was this
answer
helpful?
Yes
No
Monday, February 22nd, 2021 AT 10:21 AM (Merged)

Please login or register to post a reply.