Transmission not shifting correctly?

Tiny
DARON DANDADDA TURNQUEST
  • MEMBER
  • 1998 HONDA ACCORD
  • 2.5L
  • 6 CYL
  • 2WD
  • AUTOMATIC
  • 85,000 MILES
While I am driving at forty mph the car downshift into first gear causing me to slow at high speed. What causes this?
Thursday, March 22nd, 2018 AT 6:34 AM

28 Replies

Tiny
KHLOW2008
  • MECHANIC
  • 41,814 POSTS
The is a fault in the transmission control system and a diagnostic scan might tell you what control fault is causing this. It could be the speed sensor or throttle position sensor. THis gudie can help as well

https://www.2carpros.com/articles/automatic-transmission-problems

Please run down this guide and report back.
Was this
answer
helpful?
Yes
No
Thursday, March 22nd, 2018 AT 10:38 PM
Tiny
DARON DANDADDA TURNQUEST
  • MEMBER
  • 20 POSTS
There are three speed sensor which one can it be?
I do not have a check engine light on.
Was this
answer
helpful?
Yes
No
+1
Friday, March 23rd, 2018 AT 11:09 AM
Tiny
KHLOW2008
  • MECHANIC
  • 41,814 POSTS
One is the vehicle speed sensor and the other two are input and out shaft sensors. Any one of them can be the culprit but each sensor fault would be specific to their problem. Some trouble codes do not trigger the Check Engine Light and only going into diagnostic mode would you be able to now if anything is wrong.
Sometimes a fault with the throttle position sensor is not captured by the ECM and only looking at live data would you be able to understand if it is working correctly.
Was this
answer
helpful?
Yes
No
Saturday, March 24th, 2018 AT 8:52 AM
Tiny
DARON DANDADDA TURNQUEST
  • MEMBER
  • 20 POSTS
Ok I change the tps and both speed sensors problem still exist would the gear selector switch cause this
Was this
answer
helpful?
Yes
No
Sunday, March 25th, 2018 AT 5:24 AM
Tiny
DARON DANDADDA TURNQUEST
  • MEMBER
  • 20 POSTS
Ok here the latest update I am getting a code 9 which say speed sensor the countersahft sensor I replace the shaft and the sensor but what happens is that when taking of the car shift ti 2nd gear and when time to shift to 3rd it downshift to a lower gear instead what else can I check
Was this
answer
helpful?
Yes
No
Sunday, March 25th, 2018 AT 6:15 PM
Tiny
DARON DANDADDA TURNQUEST
  • MEMBER
  • 20 POSTS
It refuse to go into 3rd gear
Was this
answer
helpful?
Yes
No
Tuesday, March 27th, 2018 AT 6:41 PM
Tiny
KHLOW2008
  • MECHANIC
  • 41,814 POSTS
Sorry for the delay in getting back to you.

This is the rectification procedure from the shop manual. Go through it and see if there is anything you have missed out.

DTC P0720/9: COUNTERSHAFT SPEED SENSOR
Using scan tool, retrieve A/T freeze data. Clear fault codes and road test vehicle under same conditions freeze data was recorded. If fault code returns, go to next step. If fault code does not return, problem is intermittent, check mainshaft speed sensor and PCM connections.

Ensure countershaft speed sensor is installed properly. Disconnect countershaft speed sensor harness connector. Using a DVOM, measure resistance between sensor terminals.

If resistance is not 400-600 ohms, replace countershaft speed sensor. If resistance is 400-600 ohms, disconnect 16-pin PCM harness connector "D". Check for continuity between ground and 16-pin PCM harness connector "D", terminals No. 16 (Green wire) and No. 10 (Blue wire). See Figure.

If continuity is present, repair short to ground in Green wire or Blue wire between PCM and countershaft speed sensor. If continuity is not present, reconnect countershaft speed sensor harness connector. Measure resistance between 16-pin PCM harness connector "D", terminals No. 16 (Green wire) and No. 10 (Blue wire).

If resistance is 400-600 ohms, check for loose PCM harness connectors. Replace PCM with a known-good unit if necessary. If resistance is not 400-600 ohms, repair loose connection or open in Green wire or Blue wire between 16-pin PCM harness connector "D" and countershaft speed sensor harness connector.
Was this
answer
helpful?
Yes
No
Friday, March 30th, 2018 AT 6:47 AM
Tiny
DARON DANDADDA TURNQUEST
  • MEMBER
  • 20 POSTS
Well recently what has been happening is that it shift out fine but when going into third it catches then it releases the gear. If I rev up engine it catches again this is back and forth while driving. Some times when I pres pedal to the floor it catches again and then same thing over and over.
Was this
answer
helpful?
Yes
No
Friday, March 30th, 2018 AT 9:36 AM
Tiny
KHLOW2008
  • MECHANIC
  • 41,814 POSTS
Based on symptoms it is difficult diagnose the problem and since trouble codes are present, we need to have it diagnosed and rectified. If after the codes are cleared and do not come back and the symptoms are still present, we would need to test the hydraulic pressures etc.
Was this
answer
helpful?
Yes
No
Sunday, April 1st, 2018 AT 12:42 AM
Tiny
DARON DANDADDA TURNQUEST
  • MEMBER
  • 20 POSTS
Okay, I had to rebuild the transmission I notice that the two little filters on the valve body was clogged. Also the main filter was clogged. I replace all clutches all filters and dismantle the valve body and rebuild. Now car works fines the clutches was not fully gone.
Was this
answer
helpful?
Yes
No
Wednesday, April 18th, 2018 AT 3:20 PM
Tiny
DARON DANDADDA TURNQUEST
  • MEMBER
  • 20 POSTS
Thanks for assistance.
Was this
answer
helpful?
Yes
No
Wednesday, April 18th, 2018 AT 3:21 PM
Tiny
KEN L
  • MASTER CERTIFIED MECHANIC
  • 55,322 POSTS
Glad you could get it fixed, that kind of problem can be tough. Please use 2CarPros anytime we are here to help.

Cheers, Ken
Was this
answer
helpful?
Yes
No
Friday, April 20th, 2018 AT 4:50 PM
Tiny
ATUTTLE0122
  • MEMBER
  • 1 POST
  • 1998 HONDA ACCORD
  • 2.3L
  • 4 CYL
  • 2WD
  • AUTOMATIC
  • 213,000 MILES
The transmission puts itself in neutral whenever the RPM's get to about 3,000 (when it is supposed to shift to the next gear). My mechanic replaced the fuel filters and the problem went away for about six months but after further research I was able to find that it may be the transmission filter. When it acts up, I have absolutely no power (so basically neutral) and I have to keep the RPM's between 2,500 and 3,500 and it will shift after a little encouragement.
Was this
answer
helpful?
Yes
No
Saturday, September 26th, 2020 AT 11:25 AM (Merged)
Tiny
JACOBANDNICKOLAS
  • MECHANIC
  • 110,192 POSTS
Welcome to 2CarPros.

The first thing that comes to mind is low fluid. Have you checked it? IF it is clean and full, my next suspect is the transmission clutch pressure control solenoid. Here are directions to test it. The attached pictures correlate with these directions.

______________________________________

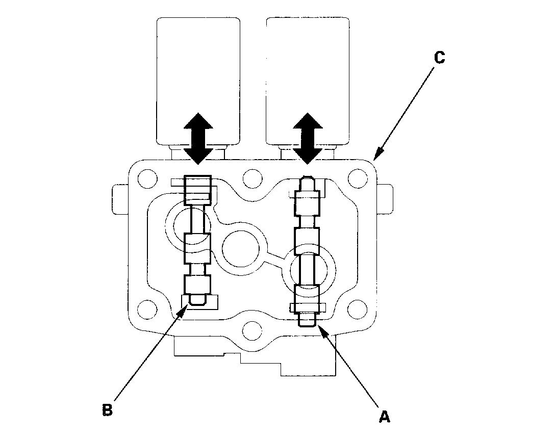
A/T CLUTCH PRESSURE CONTROL SOLENOID VALVES A AND B TEST
Test

picture 1

1. Disconnect the A/T clutch pressure control solenoid valves A and B 2P connectors.
2. Measure the resistance of the A/T clutch pressure control solenoid valves A and B between the No. 1 and No. 2 terminals of each connector.
STANDARD: About 5.0 ohms
3. If the resistance of either A/T clutch pressure control solenoid is out of standard, replace the A/T clutch pressure control solenoid valves A and B.
4. Connect the No. 1 terminal of the A/T clutch pressure control solenoid valve A (and B) to the battery positive terminal, and connect the No. 2 terminal to the battery negative terminal. A clicking sound should be heard.
5. If not, remove the A/T clutch pressure control solenoid valves A and B.
6. Check the fluid passage of the A/T clutch pressure control solenoid valves for dust and dirt.

picture 2

7. Connect the No. 1 terminal of the A/T clutch pressure control solenoid valves A and B to the battery positive terminal, and connect the No. 2 terminal to the battery negative terminal. Make sure the A/T clutch pressure control solenoid valves A (A) and B (B) move.
8. Disconnect one of the battery terminals and check valve movement.

NOTE: You can see the valve movement through the fluid passage in the mounting surface of the A/T clutch pressure control solenoid valves A and B body (C).

9. If either valve binds, or moves sluggishly, or if the A/T clutch pressure control solenoid does not operate, replace the A/T clutch pressure control solenoid valves A and B.

__________________________________________

Here are a few links you may find helpful when testing:

https://www.2carpros.com/articles/how-to-use-a-test-light-circuit-tester

https://www.2carpros.com/articles/how-to-use-a-voltmeter

https://www.2carpros.com/articles/how-to-check-wiring

________________________________________

If you find that is the problem, here are the directions for replacement. Picture 3 correlates with these directions.

A/T CLUTCH PRESSURE CONTROL SOLENOID VALVES A AND B TEST
Replacement

picture 3

1. Remove the mounting bolts and the A/T clutch pressure control solenoid valves A and B (A).
2. Clean the mounting surface and fluid passage of the A/T clutch pressure control solenoid valves A and B and the transmission housing.
3. Install a new A/T clutch pressure control solenoid valves A and B with a new gasket (B), new O-rings (C), ATF feed pipes (D), and harness clamp bracket (E).

NOTE: Install the filter side of the ATF feed pipes in the transmission housing.

4. Check the A/T clutch pressure control solenoid valve connectors for rust, dirt, or oil, then connect them securely.

______________________________________

Also, here are the directions for testing shift solenoids.

See picture 4 and 5

1. Disconnect the shift solenoid valve B or C 2P
2. Measure the resistance between the No. 1 and No. 2 terminals of the shift solenoid valve B or C.
STANDARD: 12 - 25 ohms
3. Replace the shift solenoid valve B or C if the resistance is out of standard.
4. If the resistance is within the standard, connect the No. 2 terminal of the shift solenoid valve B or C connector to the battery positive terminal, and connect the No. 1 terminal to the battery negative terminal. A clicking sound should be heard. Replace the shift solenoid valve B or C if no clicking sound is heard.

________________________________________

Check these things and let me know what you find. Also, let me know if you have questions.

Take care,
Joe

Was this
answer
helpful?
Yes
No
Saturday, September 26th, 2020 AT 11:25 AM (Merged)
Tiny
WOODSPLACE
  • MEMBER
  • 1 POST
  • 1998 HONDA ACCORD
  • 4 CYL
  • FWD
  • AUTOMATIC
  • 170,000 MILES
On cold start the transmission will not shift up from 1st gear. As car warms up it will start to shift regularly although with some hesitation. Have done power flush on fluid with same result. Told by mechanic that no servicable filter on this transmission, and shift sensors check out electrically. Any thoughts out there? Daughters car, I great shape except for this problem.
Was this
answer
helpful?
Yes
No
Saturday, September 26th, 2020 AT 11:25 AM (Merged)
Tiny
KHLOW2008
  • MECHANIC
  • 41,814 POSTS
Hi woodsplace,

Symptoms indicates the shift solenoids could be sticking and when this occurs, shifting is affected. They might not throw any codes and as the shift sensors are external, remove them and try cleaning to see if it works. THis gudie can help as well

https://www.2carpros.com/articles/automatic-transmission-problems

Please run down this guide and report back.
Was this
answer
helpful?
Yes
No
+1
Saturday, September 26th, 2020 AT 11:25 AM (Merged)
Tiny
OY
  • MEMBER
  • 2 POSTS
  • 1998 HONDA ACCORD
Engine Performance problem
1998 Honda Accord 6 cyl Two Wheel Drive Automatic

my car does not changes its gear automatically when accelerating
Was this
answer
helpful?
Yes
No
Saturday, September 26th, 2020 AT 11:25 AM (Merged)
Tiny
KHLOW2008
  • MECHANIC
  • 41,814 POSTS
Hi oy,

Get a scan done to retrieve for trouble codes and let me know what you find.
Was this
answer
helpful?
Yes
No
Saturday, September 26th, 2020 AT 11:25 AM (Merged)
Tiny
OY
  • MEMBER
  • 2 POSTS
Culdnt get a scan 2 be done, but my gear indicator ligth is alway binking has I engage on any gear
Was this
answer
helpful?
Yes
No
Saturday, September 26th, 2020 AT 11:25 AM (Merged)
Tiny
KHLOW2008
  • MECHANIC
  • 41,814 POSTS
Autozone and most major parts outlets provides free scanning services.

The D4 indicator light blinking indicates an error has been detected in the transmisison control system.

Without retrievng the trouble code, it is not possible to diagnose the problem.
Was this
answer
helpful?
Yes
No
Saturday, September 26th, 2020 AT 11:25 AM (Merged)

Please login or register to post a reply.