ABS light keeps coming on?

Tiny
ANONYMOUS
  • MEMBER
  • 2005 CHEVROLET TAHOE
  • 80,000 MILES
I changed the wheel bearings on my chevy tahoe, now my ABS light keeps coming on for a little while, then it will go off. What is wrong
Wednesday, November 14th, 2012 AT 12:04 AM

33 Replies

Tiny
SATURNTECH9
  • MECHANIC
  • 30,869 POSTS
It sounds like the ABS hub is defective. Here are two videos the first one show how to do the job correctly the other is to scan the ABS to confirm the failure.

https://youtu.be/ZgiPRG6jffc

and

https://youtu.be/rTtAnsOlZU4

Please run down these guides and report back.
Was this
answer
helpful?
Yes
No
Wednesday, November 14th, 2012 AT 12:12 AM
Tiny
MUSENN
  • MEMBER
  • 5 POSTS
  • 2004 CHEVROLET TAHOE
  • 5.3L
  • V8
  • 4WD
  • AUTOMATIC
  • 197,000 MILES
The ABS light comes on once in a while. When you hit a bump or turn. They activate sometimes when braking for no reason.
Was this
answer
helpful?
Yes
No
-1
Friday, February 19th, 2021 AT 8:39 PM (Merged)
Tiny
ASEMASTER6371
  • MECHANIC
  • 52,796 POSTS
Good evening.

The most common issue with this activation is dirty sensor mountings. It changes the air gap to the tone ring and the ABS comes on braking especially when you are coming to a stop.

I would remove the sensors, clean the mounting and the sensor and reinstall. Then road test it to verify the repair.

Roy
Was this
answer
helpful?
Yes
No
Friday, February 19th, 2021 AT 8:39 PM (Merged)
Tiny
NOSWEATMAN
  • MEMBER
  • 1 POST
  • 2003 CHEVROLET TAHOE
  • V8
  • 4WD
  • AUTOMATIC
  • 64,671 MILES
When driving the brakes work fine but it feel like they let off pressure when when they are applied. When I first noticed the problem you had to slam on the breaks to engage them but after bleeding the brakes it has helped some. The only code I can find with the OBD II is C0222. The is nothing in the cluster message center. The only sign is the ABS light stays on.
Was this
answer
helpful?
Yes
No
Friday, February 19th, 2021 AT 8:39 PM (Merged)
Tiny
BRIAN 1
  • MECHANIC
  • 1,030 POSTS
Measure the resistance at the wheel speed sensor, should be between 700 and 10,000 ohms. If its higher or lower than spec replace the wheel speed sensor.
Was this
answer
helpful?
Yes
No
Friday, February 19th, 2021 AT 8:39 PM (Merged)
Tiny
SLIM63
  • MEMBER
  • 5 POSTS
  • 2003 CHEVROLET TAHOE
  • 5.3L
  • V8
  • 2WD
  • AUTOMATIC
  • 275,000 MILES
Warning comes up in message center. I have checked fluid, pad thickness, both are fine up front. The front left caliper does seem to rub a bit but not enough to stop from turning. Doesn't pull either way. Got an idea of where I might need focus on?
Was this
answer
helpful?
Yes
No
Friday, February 19th, 2021 AT 8:41 PM (Merged)
Tiny
JACOBANDNICKOLAS
  • MECHANIC
  • 110,194 POSTS
Have you scanned the computer to see if there are any trouble codes? It may deal with an ABS sensor. This video will help

https://youtu.be/rTtAnsOlZU4

and

https://youtu.be/Pb6nXV-iamI

Please let us know what you find. We are interested to see what it is.
Was this
answer
helpful?
Yes
No
-1
Friday, February 19th, 2021 AT 8:41 PM (Merged)
Tiny
SLIM63
  • MEMBER
  • 5 POSTS
Yeas I have a scanner, nothing on the abs. I havent had the ABS problems son people speak of online.
Was this
answer
helpful?
Yes
No
Friday, February 19th, 2021 AT 8:41 PM (Merged)
Tiny
SLIM63
  • MEMBER
  • 5 POSTS
Yes I have a scanner and nothing on the abs system. I haven't had the ABS problems some people have spoke of online.
Was this
answer
helpful?
Yes
No
Friday, February 19th, 2021 AT 8:41 PM (Merged)
Tiny
JACOBANDNICKOLAS
  • MECHANIC
  • 110,194 POSTS
That makes it tough. Since the brakes are good, there are no ABS codes, and the fluid is full, you need to start checking wiring in the system.

NOTE: I assume this isn't a parking brake light, correct?
Was this
answer
helpful?
Yes
No
+2
Friday, February 19th, 2021 AT 8:41 PM (Merged)
Tiny
SLIM63
  • MEMBER
  • 5 POSTS
Na, it shows in the message center. And that damn buzzer goes off 15 or 20 times.
Was this
answer
helpful?
Yes
No
+1
Friday, February 19th, 2021 AT 8:41 PM (Merged)
Tiny
BHAINEAULT
  • MEMBER
  • 9 POSTS
  • 2001 CHEVROLET TAHOE
  • 5.3L
  • V8
  • 2WD
  • AUTOMATIC
  • 225,000 MILES
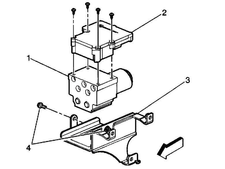
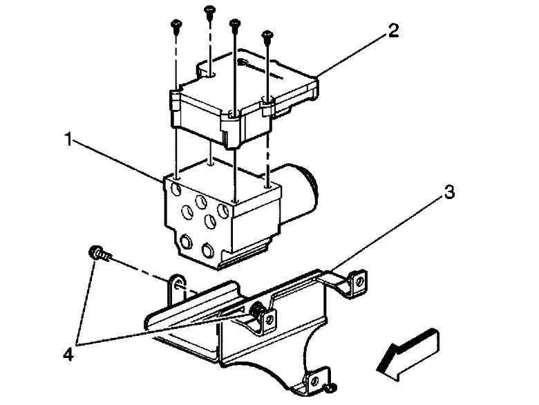
I recently had the ABS and brake lights pop up. Noticed while driving a sound coming from underneath. When I got home, I turned the car off, and the ABS pump was still running. Did some research and saw it was most likely the ABS control module.

Went ahead and replaced the control module, and also the 60A fuse in the electrical center. It is still doing the same thing. I am driving now by just pulling the fuse and running without ABS.

I was thinking it may be a speed sensor, but my cruise control works fine. Any ideas on what to try next?
Was this
answer
helpful?
Yes
No
Friday, February 19th, 2021 AT 8:42 PM (Merged)
Tiny
ASEMASTER6371
  • MECHANIC
  • 52,796 POSTS
Good afternoon,

Okay, there is a fault code stored in the system. I need that code to narrow the area of failure for you.

https://www.2carpros.com/articles/abs-warning-light-on-easy-repair-guide

Did you have the replacement module flashed or programmed to the cars VIN number? If you did not, it will not work.

https://www.2carpros.com/articles/how-to-replace-a-abs-controller

Speed sensors are the most common issue but needs to be confirmed.

https://www.2carpros.com/articles/abs-wheel-speed-sensor-test

https://www.2carpros.com/articles/how-to-replace-an-abs-wheel-speed-sensor

Roy
Was this
answer
helpful?
Yes
No
+1
Friday, February 19th, 2021 AT 8:42 PM (Merged)
Tiny
BHAINEAULT
  • MEMBER
  • 9 POSTS
I've gone to several places, and nobody has a scanner that picks up ABS codes. Found a guy and going after work today. Hopefully he will be able to pick up some codes and I will share.

I did not have it flashed, I didn't think a 2001 required that. I will need to check on that also.

I should have more info tonight, and will update.
Was this
answer
helpful?
Yes
No
Friday, February 19th, 2021 AT 8:42 PM (Merged)
Tiny
ASEMASTER6371
  • MECHANIC
  • 52,796 POSTS
Okay, sounds good.

Replacing an ABS module always requires programming to the VIN or it will not work.

Did you put a new or used module on the car?

Let me know the codes when you get them

Roy
Was this
answer
helpful?
Yes
No
+1
Friday, February 19th, 2021 AT 8:42 PM (Merged)
Tiny
BHAINEAULT
  • MEMBER
  • 9 POSTS
Okay, here are the scans. Guy didn’t know what they meant, so hopefully you do!

Current Code:
C0265: EBCM Motor Relay Circuit

History Codes:
C0267: Pump Motor Circuit Open
C0265: Same Above
C0298: Power-train Control Fault
Was this
answer
helpful?
Yes
No
Friday, February 19th, 2021 AT 8:42 PM (Merged)
Tiny
BHAINEAULT
  • MEMBER
  • 9 POSTS
Oh, and I put in a “re-manufactured” module in from Autozone.
Was this
answer
helpful?
Yes
No
Friday, February 19th, 2021 AT 8:42 PM (Merged)
Tiny
ASEMASTER6371
  • MECHANIC
  • 52,796 POSTS
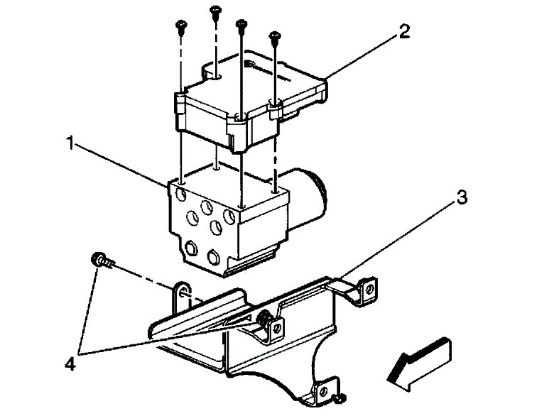
Okay, I attached the description of the code and the flow chart for finding the failure. In most cases, it is the module itself.

The 298 is for the flashing. The PCM is not communicating with the module because of a VIN mismatch.

I also attached a wiring diagram for you to verify power to the module.

https://www.2carpros.com/articles/how-to-check-a-car-fuse

https://www.2carpros.com/articles/how-to-check-wiring

I would definitely have the module programmed by someone who has the scan tool for performing this.

Roy

Circuit Description
The ABS relay supplies battery voltage to six valve solenoids (RF dump/isolation, LF dump/isolation, and rear dump/isolation). The EBCM microprocessor applies the grounds needed to activate each solenoid. The low side of each solenoid coil has a feedback circuit to the EBCM microprocessor. When a solenoid is commanded OFF, the feedback voltage is high. When a solenoid is commanded ON, the feedback voltage is low.

Conditions for Running the DTC
The ignition is ON.
The vehicle speed is greater than 6 km/h (4 mph).

Conditions for Setting the DTC
The EBCM detects an internal malfunction.

Action Taken When the DTC Sets
C0265
If equipped, the following actions occur:
The EBCM disables the DRP/ABS.
The ABS indicator turns ON.
The brake warning indicator turns ON.

C0266
If equipped, the following actions occur:
The EBCM disables the ABS.
The ABS indicator turns ON.

Conditions for Clearing the DTC
The conditions for setting the DTC are no longer present and you use the scan tool Clear DTCs function.

Diagnostic Aids

Important: Whenever the EBCM is replaced for DTC C0265 or C0266, the ABS pump motor and motor circuitry must be tested for the proper resistance. Refer to steps 7 and 8 in the diagnostic table below for testing procedures and resistance values.

C0265
Thoroughly inspect connections and circuitry that may cause an intermittent malfunction.

C0266
Replace the EBCM if DTC C0266 continues to set intermittently.

Test Description
The numbers below refer to the step numbers on the diagnostic table.
4. This step tests if the battery positive voltage circuit can supply adequate power to the system relay.
7. A shorted ABS pump motor or shorted motor circuitry may damage the contacts within the system relay. Follow this step to prevent damage to a replacement EBCM.

Was this
answer
helpful?
Yes
No
+1
Friday, February 19th, 2021 AT 8:42 PM (Merged)
Tiny
BHAINEAULT
  • MEMBER
  • 9 POSTS
Do you think reprogramming may resolve the issue fully, or do you think there is another wiring issue as well that you listed? Seems odd that the control module and wiring would go bad at the same time.

I think I know a guy who can reprogram, so I’ll call him tomorrow. After that it looks like an electrical wiring problem maybe.

I appreciate all the help. I’ll update you tomorrow on what I find out.
Was this
answer
helpful?
Yes
No
Friday, February 19th, 2021 AT 8:42 PM (Merged)
Tiny
ASEMASTER6371
  • MECHANIC
  • 52,796 POSTS
It may but if you know someone, get it done.

Then we can proceed with other checks.

You are welcome.

Roy
Was this
answer
helpful?
Yes
No
+2
Friday, February 19th, 2021 AT 8:42 PM (Merged)

Please login or register to post a reply.