Timing chain replacement

Tiny
JACOBANDNICKOLAS
  • MECHANIC
  • 110,192 POSTS
Hi,

There is a chance the fuel injectors are not getting a signal to inject fuel or they are clogged from old fuel. If it starts when you feed it fuel, then it isn't an ignition problem. At this point, I suggest two things. First, I need you to check for diagnostic trouble codes. This vehicle has an OBD1 system and you don't need a scanner to get codes. Take a look through this link. It explains how to get codes from the computer.

https://www.2carpros.com/articles/toyota-trouble-code-definitions-and-code-gathering-method-1990-1995

Do that first and let me know what codes are found.

Next, I need you to check for an injector pulse. Here is a link that will explain how to check for a pulse. If there is one, you will need to remove the injectors and check their condition. If you continue through this link, it will show you how to test the injector one it's out of the vehicle.

https://www.2carpros.com/articles/how-to-test-a-fuel-injector

Okay, that will get us started. Here are a few links you may find helpful when testing:

https://www.2carpros.com/articles/how-to-use-a-test-light-circuit-tester

https://www.2carpros.com/articles/how-to-use-a-voltmeter

https://www.2carpros.com/articles/how-to-check-wiring

Let me know what you find or if you have questions. Also, see if you use starting fluid to get it started if it will stay running. If it does, there could be an issue with the cold start injector.

I will watch for your reply.

Joe
Was this
answer
helpful?
Yes
No
Tuesday, December 15th, 2020 AT 8:33 AM (Merged)
Tiny
DAVIDSCHAFFER
  • MEMBER
  • 7 POSTS
When we first tried it with regular fuel in the throttle body it tried to start but then it suddenly stopped trying to fire. We did find a blown EFI fuse but it was replaced. We definitely have fuel in the cylinder now after changing the fuel pump, the fuel filter, and flushing the lines. The plugs are wet with fuel when we pull them out now so I know there is fuel getting into the cylinder. We also checked the spark by pulling the plug out and grounding it and they all seem to have good spark. It's odd it has spark, fuel, and compression but no fire.
Was this
answer
helpful?
Yes
No
Tuesday, December 15th, 2020 AT 8:33 AM (Merged)
Tiny
JACOBANDNICKOLAS
  • MECHANIC
  • 110,192 POSTS
Hi,

Okay, if you have spark and fuel it should run unless one of the following is an issue.

Low engine compression

Engine timing off (which usually will make it sound differently when cranked)

Fuel pressure is too high and flooding the vehicle.

If all of the above checks good, the engine has no choice but to run, so we are missing something. Do me a favor. Record the engine when you are trying to start it so I can hear what it sounds like. If to you it sounds normal, then I need you to perform a compression check. I would also confirm fuel pump pressure isn't too high.

_______________________

Here is a link that shows how to perform a compression test. You will need a compression gauge, but most parts stores will lend or rent one to you.

https://www.2carpros.com/articles/how-to-test-engine-compression

I would also just confirm that fuel pressure isn't too high. There could be an issue with the regulator.

I can usually tell if there is a timing issue just by hearing it. So, if you could record it, I may be able to tell. If that isn't an option, then the compression test is necessary. If timing is off, compression will be low. Please understand there are other things that can cause low compression such as a head gasket, but in most cases, that would not affect all cylinders.

One more thought. When you checked spark at the plugs, was it a hot blue snapping spark or was it more orange or white in color?

If the timing belt jumped or has broken, it will need replaced. I have all the directions step by step, so let me know if that is an issue. You may need to remove the timing belt cover to inspect it. I do have good news in all of this. If it is the timing belt, it really isn't that big of a concern. These engines are non-interference engines which means there won't be internal damage. So many cars today are the opposite.

Let me know what you find. I will watch for your reply. Don't worry, we'll get it running.

Joe

Was this
answer
helpful?
Yes
No
Tuesday, December 15th, 2020 AT 8:33 AM (Merged)
Tiny
DAVIDSCHAFFER
  • MEMBER
  • 7 POSTS
Thank you for your help. We really do appreciate it. The compression check showed 110 in all cylinders after about 3 cycles. We did try disconnecting the injectors and it still would not start with the fuel that was in the cylinder. I will try to get a video of it tomorrow but it does sound like it cranks for a few seconds and then chokes. We try again and same thing. We open up the oil fill and see the cam spinning so we know at least the timing belt is not broken. Thank you again for your help and I look forward to hearing what you have to say.
Was this
answer
helpful?
Yes
No
Tuesday, December 15th, 2020 AT 8:33 AM (Merged)
Tiny
JACOBANDNICKOLAS
  • MECHANIC
  • 110,192 POSTS
The choke sound could be related to timing if it is firing at the wrong time. I will wait to hear it. With that much compression, fuel, and spark, it should start. I have a feeling that we jumped time. Please reconfirm the spark. Make sure it is a hot blue spark.

Joe
Was this
answer
helpful?
Yes
No
+1
Tuesday, December 15th, 2020 AT 8:33 AM (Merged)
Tiny
DAVIDSCHAFFER
  • MEMBER
  • 7 POSTS
Here are the two videos you requested:
Was this
answer
helpful?
Yes
No
Tuesday, December 15th, 2020 AT 8:33 AM (Merged)
Tiny
DAVIDSCHAFFER
  • MEMBER
  • 7 POSTS
I dont think I had the spark plug grounded well for that video I apologize but it normally is bright and white.
Was this
answer
helpful?
Yes
No
Tuesday, December 15th, 2020 AT 8:33 AM (Merged)
Tiny
JACOBANDNICKOLAS
  • MECHANIC
  • 110,192 POSTS
Hi,

It sound normal cranking except at the very start. By any chance, did you turn the distributor? Does it always act the same way?

At the start of your video, it sounded like there was a timing issue, but it went away. To me, it sounded like it was firing at the wrong time. After that, I didn't hear any firing.

Let me know,

Joe
Was this
answer
helpful?
Yes
No
Tuesday, December 15th, 2020 AT 8:33 AM (Merged)
Tiny
DAVIDSCHAFFER
  • MEMBER
  • 7 POSTS
It normally will sound like it's trying to crank then bogs out. Then you try again and then it bogs out. We did remove the cover from the timing belt and when the crank was at TDC the dot on the cam pulley was at about 2 o'clock and I think that is suppose to be straight up. Not sure on that if you can confirm. We ordered a new timing belt and are going to try that. No we did not remove the distributor just changed the coil in the distributor and checking the cap and rotor. Thank you again for your help.
Was this
answer
helpful?
Yes
No
Tuesday, December 15th, 2020 AT 8:33 AM (Merged)
Tiny
JACOBANDNICKOLAS
  • MECHANIC
  • 110,192 POSTS
Hi,

If you look at the first picture below, it shows the timing marks. If you are replacing the belt, here are the directions for removal and replacement. All pics correlate with the directions.

___________________________
1992 Toyota Corolla Sedan L4-96.8 1587cc 1.6L DOHC (4A-FE)
Timing Belt Removal
Vehicle Engine, Cooling and Exhaust Engine Timing Components Timing Belt Service and Repair Procedures Timing Belt Replace Timing Belt Removal
TIMING BELT REMOVAL

pic 2

REMOVAL OF TIMING BELT

1. Remove RH front wheel.
2. Remove RH engine under cover.
3. Remove washer tank.
4. Loosen water pump pulley bolts and remove alternator drive belt.

Pic 3

(a)Stretch the belt tight and loosen the water pump pulley bolts.

Pic 4

(b)Loosen the pivot nut and adjusting bolt, and remove drive belt.

Pic 5

5. On vehicles with A/C, remove A/C compressor drive belt.
(a)Loosen the idler pulley mounting bolt A.
(b)Loosen the adjusting bolt B and remove the drive belt

pic 6

6. On vehicles with PS, remove PS pump drive belt.
(a)Loosen the pivot and lock bolts.
(b)Swing PS pump toward the engine and remove the drive belt.

Pic 7

7. Disconnect engine wire from No.3 timing belt cover.
(a)Disconnect the following connectors and wire:
- Alternator connector
- Alternator wire Oil pressure switch connector
- (with A/C) Compressor connector
(b)Remove the bolt.
(c)Disconnect the wire clamp from the wire bracket, and disconnect the engine wire from the timing belt cover.

Pic 8

8. Remove spark plug.
(a)Disconnect the high-tension cord from spark plug.
(b)Using a plug wrench (16 mm), remove the spark plugs.

Pic 9

9. Remove cylinder head cover.
(a)Disconnect the PCV hoses from the cylinder head cover.
(b)Remove the three cap nuts, grommet and cylinder head cover with the gasket.

Pic 10

10. Set No.1 cylinder at TDC/Compression.
(a)Turn the crankshaft pulley and align its groove with the No.1 timing belt cover.
(b)Check that the valve lifters on the No.1 cylinder are loose If not, turn the crankshaft pulley one complete revolution (360 ).

11. Remove RH engine mounting insulator.

Pic 11

(a)Set the jack to the engine.

HINT: Place a wooden block between the jack and engine.

Pic 12

(b)Remove the three bolts and mounting stay.

Pic 13

(c)Remove the bolt, two nuts, through bolt and RH mounting.

12. Remove water pump pulley.
13. Remove crankshaft pulley.

Pic 14

(a)Using SST 09213-14010 and 09330-00021 to hold the crankshaft pulley, remove the pulley bolt.

Pic 15

(b)Using SST 09213-31021, remove the pulley.

Pic 16

14. Remove timing belt covers.
Remove the nine bolts engine wire bracket and timing belt covers.
15. Remove timing belt guide.
16. Remove timing belt and idler pulley.

Pic 17

HINT: If reusing the timing belt, draw a direction arrow on the belt (in direction of engine revolution), and place matchmarks on the pulleys and belt as shown in the Illustration.

Pic 18

(a)Remove the bolt, idler pulley and tension spring.
(b)Remove the timing belt.

17. Remove crankshaft timing pulley.

Pic 19

18. Remove camshaft timing pulley.
Hold the hexagonal head wrench portion of the camshaft with a wrench, and remove the bolt and timing pulley.

NOTICE: Be careful not to damage the cylinder head with the wrench.
_______________________________________________________________________________________

Install

1992 Toyota Corolla Sedan L4-96.8 1587cc 1.6L DOHC (4A-FE)
Timing Belt Installation
Vehicle Engine, Cooling and Exhaust Engine Timing Components Timing Belt Service and Repair Procedures Timing Belt Replace Timing Belt Installation
TIMING BELT INSTALLATION

pic 20

INSTALLATION OF TIMING BELT

1. Install camshaft timing pulley.
(a)Align the camshaft knock pin with the knock pin groove of the pulley, and slide on the pulley.
(b)Temporarily install the timing pulley bolt.

Pic 21

(c)Hold the hexagonal wrench head portion of the camshaft with a wrench, and tighten the timing pulley bolt.

Torque: 59 N.M (600 kgf. Cm, 43 ft. Lbf)

pic 22

(d)Turn the hexagonal wrench head portion of the camshaft, and align the hole of the camshaft timing pulley with the timing mark of the bearing cap.

Pic 23

2. Install crankshaft timing pulley.
(a)Align the pulley set key with the key groove of the pulley.
(b)Slide on the timing pulley, facing the flange side inward.
(c)Using the crankshaft pulley bolt, turn the crankshaft and align the timing marks of the crankshaft timing pulley and oil pump body.

Pic 24

3. Temporarily install idler pulley and tension spring.
(a)Install the idler pulley with the bolt. Do not tighten the bolt yet.
(b)Install the tension spring.
(c)Push the pulley toward the left as far as it will go and tighten the bolt.

4. Install timing belt.

NOTICE: The engine should be cold.

Pic 25

HINT: If reusing the timing belt, align the points marked during removal, and install the belt with the arrow pointing in the direction of engine revolution.

5. Check valve timing and timing belt tension.

Pic 26

(a)Loosen the timing belt idler pulley mounting bolt.

Pic 27

(b)Temporarily install the crank pulley bolt and turn the crankshaft two revolutions from TDC to TDC.

HINT: Always turn the crankshaft clockwise.

Pic 28

(c)Check the valve timing.
Check that each pulley aligns with the marks as shown in the illustration.

Pic 29

(d)Tighten the timing belt idler pulley mounting bolt.

Torque: 37 N.M (375 kgf. Cm 27 ft. Lbf)

(e)Remove the temporarily installed crank pulley bolt.

Pic 30

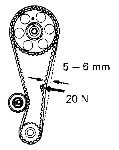
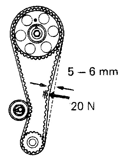
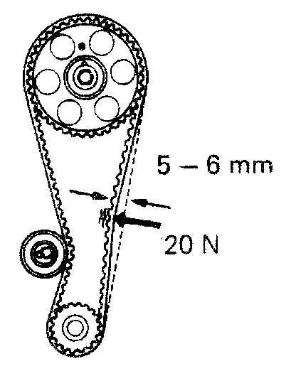
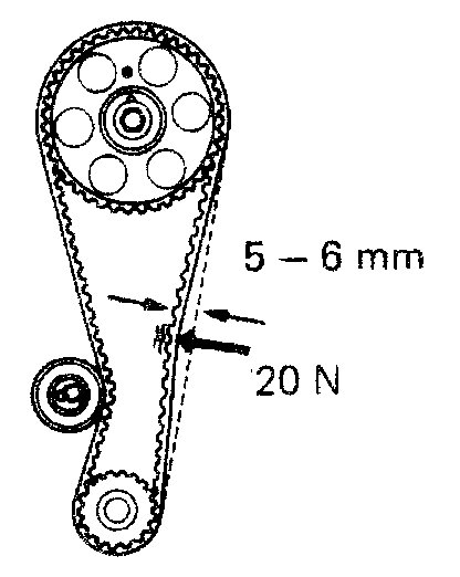
(f)(Reference) Measure the timing belt deflection as shown in the illustration.

Timing belt deflection: 5 - 6 mm (0.20-0.24 in.) At 20 N (2 kgf, 4.4 lbf)

pic 31

(g)If the measured value is not within standard, readjust with the idler pulley.

Pic 32

6. Install timing belt guide.
Install the guide, facing the cup side outward.

Pic 33

7. Install the timing belt covers.
(a)Install the timing belt cover with the three bolts.
(b)Install the No.2, No.3 timing belt covers and engine wire bracket with the six bolts.

Torque: 7.4 N.M (75 kgf. Cm, 65 in. Lbf)

pic 34

8. Install crankshaft pulley.
(a)Align the pulley set key with the key groove of the pulley and slide on the pulley.
(b)Temporarily install the pulley bolt.
(C)Using SST 09213-14010 and 09330-00021, install the pulley bolt.

Torque: 118 N.M (1,200 kgf. Cm, 87 ft. Lbf)

9. Temporarily install water pump pulley.
10. Install RH engine mounting insulator.

Pic 35

(a)Install the RH mounting insulator to the engine mounting bracket with the two nuts and bolt. Align the RH mounting insulator with the body bracket and install the mounting through bolt and nut.

Torque:
Bolt 64 N.M (650 kgf. Cm, 47 ft. Lbf)
Nut 52 N.M (530 kgf. Cm, 38 ft. Lbf)
Through bolt 87 N.M (890 kgf. Cm, 69 ft. Lbf)

pic 36

(b)Install the RH mounting stay with the three bolts, remove the jack.

Torque: 42 N.M (430 kgf. Cm 31 ft. Lbf)

11. Install cylinder head cover.

Pic 37

(a)Apply seal packing as shown in the illustration.

Seal packing: Part No. 08826-00080 or equivalent

HINT: Clean the indicated portions by removing the original sealant before recoating.

Pic 38

(b)Install the cylinder head cover with the three grommets and bolts.
(c)Install the PCV hoses.

Pic 39

12. Install spark plugs.
(a)Using a plug wrench (16 mm) install the spark plugs.

Torque: 18 N.M (180 kgf. Cm, 13 ft. Lbf)

(b)Connect the high tension cords to spark plugs.

Pic 40

13. Connect engine wire to No.3 timing belt cover.
(a)Connect the engine wire to the timing belt cover, and connect the wire clamp to the wire bracket.
(b)Install the bolt.
(c)Connect the following connectors and wire:
- Alternator connector Alternator wire
- Oil pressure switch connector
- (with A/C) Compressor connector

14. On vehicles with PS, install PS pump drive belt.
15. On vehicles with A/C, Install A/C compressor drive belt.
16. Install alternator drive belt.
17. Adjust drive belts.
Using a belt tension gauge, check and adjust the drive belt tension.

Drive belt tension:
Alternator Belt
New belt 160 20 lbf
Used belt 130 20 lbf

PS Belt
New belt 100 25 lbf
Used belt 55 20 lbf

A/C Belt
New belt 160 20 lbf
Used belt 100 20 lbf

18. Tighten water pump pulley bolts.
19. Install washer tank.
20. Install RH engine under cover.
21. Install RH front wheel.

_____________________________________________

I hope this helps. Let me know if you have questions or need help. Also, if you have a chance, let me know how things turn out for you.

Take care,
Joe
Was this
answer
helpful?
Yes
No
Tuesday, December 15th, 2020 AT 8:33 AM (Merged)
Tiny
DAVIDSCHAFFER
  • MEMBER
  • 7 POSTS
Thank you very much for your help. We changed out the timing belt yesterday and it started right up. The timing belt ended up jumping almost 5 teeth. Thank you for pointing us in the right direction and checking the alignment of it. We assumed that since it was turning the cam that the belt was good but didn't realize about it jumping teeth. Now it just appears that the alternator is not charging at all so on to the next thing, lol.
Was this
answer
helpful?
Yes
No
Tuesday, December 15th, 2020 AT 8:33 AM (Merged)
Tiny
JACOBANDNICKOLAS
  • MECHANIC
  • 110,192 POSTS
You are very welcome. If you need help with anything, let me know.

Take care,
Joe
Was this
answer
helpful?
Yes
No
Tuesday, December 15th, 2020 AT 8:33 AM (Merged)

Please login or register to post a reply.