Engine misfire? Can you help me fix it?

Tiny
BLACKSKEITH99
  • MEMBER
  • 2002 FORD TAURUS
  • 3.0L
  • 6 CYL
  • 2WD
  • AUTOMATIC
  • 172,000 MILES
Changed plugs and intake air circuit. To my dismay it wont change.
Saturday, February 29th, 2020 AT 10:21 AM

27 Replies

Tiny
ASEMASTER6371
  • MECHANIC
  • 52,796 POSTS
Good morning,

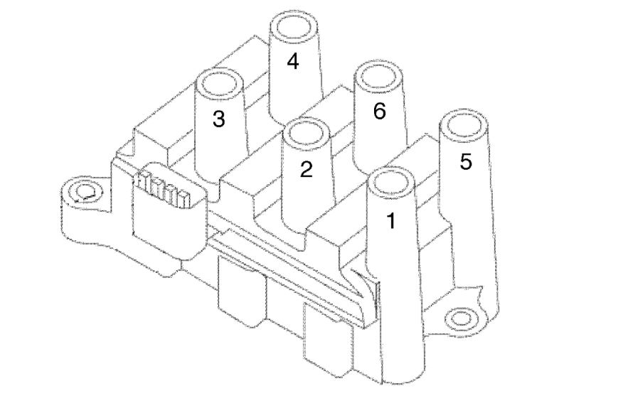
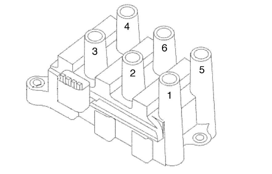
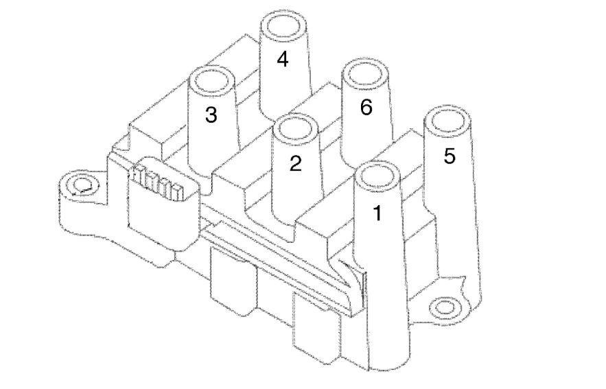
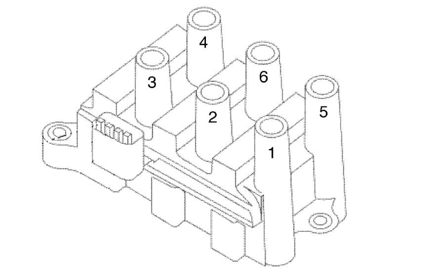
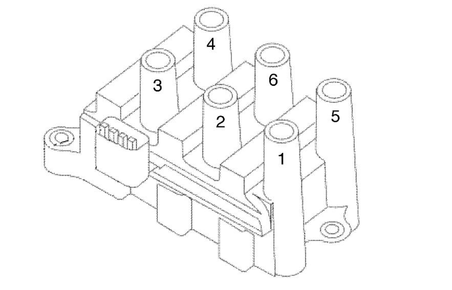
The 302 is a misfire for cylinder 2. I would check the compression to be sure there is nothing wrong with the cylinder.

https://www.2carpros.com/articles/how-to-test-engine-compression

The 316 is a misfire in the first 1,000 RPM's when it started It indicates a bad ignition coil.

https://www.2carpros.com/articles/engine-misfires-or-runs-rough

1504 is for idle air control. A common failure for the idle air control valve.

Roy
Was this
answer
helpful?
Yes
No
Sunday, March 1st, 2020 AT 2:23 AM
Tiny
JGONZO2398
  • MEMBER
  • 409 POSTS
  • 2002 FORD TAURUS
  • 3.0L
  • 3 CYL
  • 2WD
  • AUTOMATIC
  • 117,000 MILES
So I have been having this “jerk or surge” problem for two months or so now. Just a few weeks ago I have noticed that my car jerks only when the A/C is turned on. I have driven it with the air off, when I get to a stop, I turn on the air, and the car lightly kicks as if it tries to push forward, the jerking and kicking is very random but only happens when I am at a stop. I have changed the mass air flow sensor, idle air control valve. I have cleaned the throttle body and replaced the throttle position sensor. Nothing has work. Any guesses? I need help please!
My car is the SE model.
Was this
answer
helpful?
Yes
No
Saturday, January 16th, 2021 AT 9:26 AM (Merged)
Tiny
KEN L
  • MASTER CERTIFIED MECHANIC
  • 55,481 POSTS
It sounds like the engine is misfiring. Have you done a tune up lately? And should also run the codes to see if anything comes up.

Here are a couple of guides to help us fix the problem:

https://www.2carpros.com/articles/how-to-tune-up-a-car-engine

and

https://www.2carpros.com/articles/engine-vibration-at-idle

If you could take a quick video and upload it of what the car is doing it would help me see what' i going on.

Please let us know what happens.

Cheers, Ken
Was this
answer
helpful?
Yes
No
+1
Saturday, January 16th, 2021 AT 9:26 AM (Merged)
Tiny
JGONZO2398
  • MEMBER
  • 409 POSTS
I put in new spark plugs about six months ago, have not changed any of the coils nor my fuel filter either. The problem with taking a video is that the jerking is so random and you would not really be able to hear or see anything within the car, but I will try to capture anything and submit it. So do you recommend just getting a full tune-up?
Was this
answer
helpful?
Yes
No
+1
Saturday, January 16th, 2021 AT 9:26 AM (Merged)
Tiny
JGONZO2398
  • MEMBER
  • 409 POSTS
Or get my codes checked first, since I forgot to mention that there is no check engine light?
Was this
answer
helpful?
Yes
No
-2
Saturday, January 16th, 2021 AT 9:26 AM (Merged)
Tiny
JGONZO2398
  • MEMBER
  • 409 POSTS
This is all I could get, turning on the ac and having the car jerk and stutter right after, I don’t know if you can notice
Was this
answer
helpful?
Yes
No
-1
Saturday, January 16th, 2021 AT 9:26 AM (Merged)
Tiny
JGONZO2398
  • MEMBER
  • 409 POSTS
Here is this one with the AC at max:
Was this
answer
helpful?
Yes
No
Saturday, January 16th, 2021 AT 9:26 AM (Merged)
Tiny
KEN L
  • MASTER CERTIFIED MECHANIC
  • 55,481 POSTS
Thats for the videos, It think the AC system might be low on charge causing the compressor to start and stop causing the idle fluctuation. Can you lift the hood and see if this is the case. This guide will show the compressor clutch you will be looking at.

https://www.2carpros.com/articles/car-air-conditioner-not-working-or-is-weak

Please let us know what happens.

Cheers, Ken
Was this
answer
helpful?
Yes
No
+2
Saturday, January 16th, 2021 AT 9:26 AM (Merged)
Tiny
JGONZO2398
  • MEMBER
  • 409 POSTS
Low on charge? As in it is low on refrigerant? Or? I am confused. And my air blows cold, blows through all the vents, works fine, so the guide does not really pertain to me.
Was this
answer
helpful?
Yes
No
Saturday, January 16th, 2021 AT 9:26 AM (Merged)
Tiny
KEN L
  • MASTER CERTIFIED MECHANIC
  • 55,481 POSTS
If the compressor is cycling it will. Can you hear the compressor click on and off? If not then this will not have anything to do with the problem. Then I will be leaning toward a vacuum leak or a worn MAF sensor.

Here are two guides to help you see what I am talking about:

https://www.2carpros.com/articles/how-to-use-an-engine-vacuum-gauge

and

https://www.2carpros.com/articles/how-to-replace-a-mass-air-flow-sensor-maf

These problem will affect mixture which will make the engine run poorly at idle.

Was this
answer
helpful?
Yes
No
+1
Saturday, January 16th, 2021 AT 9:26 AM (Merged)
Tiny
JGONZO2398
  • MEMBER
  • 409 POSTS
Yes, when I turn the AC on I hear the compressor click on, what does that tell me?
Was this
answer
helpful?
Yes
No
+1
Saturday, January 16th, 2021 AT 9:26 AM (Merged)
Tiny
JGONZO2398
  • MEMBER
  • 409 POSTS
Could it be a fuse? The AC clutch relay?
Was this
answer
helpful?
Yes
No
Saturday, January 16th, 2021 AT 9:26 AM (Merged)
Tiny
KEN L
  • MASTER CERTIFIED MECHANIC
  • 55,481 POSTS
It click on yes, but then does it click off again and then on and then off? This is a sign of a low charge even though it is cold. I just want to make sure it not the compressor causing the issue.
Was this
answer
helpful?
Yes
No
-2
Saturday, January 16th, 2021 AT 9:26 AM (Merged)
Tiny
JGONZO2398
  • MEMBER
  • 409 POSTS
No I do not think I have heard it click on and off while driving and having the AC on. What does happen though is that whenever the car jerks, the AC seems to power down or just minimize for a split second on every jerk, you get me? So if it is not the compressor, what could it be?
Was this
answer
helpful?
Yes
No
-1
Saturday, January 16th, 2021 AT 9:26 AM (Merged)
Tiny
KEN L
  • MASTER CERTIFIED MECHANIC
  • 55,481 POSTS
So when you say there is no check engine light do you mean there is no light with the key on engine off?
Was this
answer
helpful?
Yes
No
+1
Saturday, January 16th, 2021 AT 9:26 AM (Merged)
Tiny
JGONZO2398
  • MEMBER
  • 409 POSTS
No I mean there is no check engine light present at all. Can you still read codes with no check engine light present?
Was this
answer
helpful?
Yes
No
-1
Saturday, January 16th, 2021 AT 9:26 AM (Merged)
Tiny
JGONZO2398
  • MEMBER
  • 409 POSTS
This is another video I took, this was on park, it kept jerking and it sounded like the AC clicked.
Was this
answer
helpful?
Yes
No
Saturday, January 16th, 2021 AT 9:26 AM (Merged)
Tiny
JGONZO2398
  • MEMBER
  • 409 POSTS
This is one of the engine with AC on MAX.
Was this
answer
helpful?
Yes
No
-1
Saturday, January 16th, 2021 AT 9:26 AM (Merged)
Tiny
KEN L
  • MASTER CERTIFIED MECHANIC
  • 55,481 POSTS
I cannot see it having a problem. Can you get a video of the actual problem? I need to see whats going on.
Was this
answer
helpful?
Yes
No
Saturday, January 16th, 2021 AT 9:26 AM (Merged)
Tiny
JGONZO2398
  • MEMBER
  • 409 POSTS
Turns out it was the spark plug cables, easy fix. Wow
Was this
answer
helpful?
Yes
No
+7
Saturday, January 16th, 2021 AT 9:26 AM (Merged)

Please login or register to post a reply.