Brake pedal it goes normal until close to the bottom and then continues about a quarter inch with a clunk at the bottom?

Tiny
JB3
  • MEMBER
  • 1997 FORD F-150
  • 4.6L
  • V8
  • 2WD
  • AUTOMATIC
  • 180,000 MILES
I have changed all brake parts, new calipers, new wheel cylinders, new pads, new master cylinder and booster and the cylinder rod adjusted. The problem is when I depress the brake pedal it goes normal until close to the bottom and then continues about a quarter inch with a clunk at the bottom. This issue did not appear until the brake service was done. I have had three different mechanics look into this with no resolve. Any help would be greatly appreciated.

Thank you in advance.
Friday, November 24th, 2017 AT 6:05 AM

100 Replies

Tiny
PATENTED_REPAIR_PRO
  • MECHANIC
  • 1,853 POSTS
It sounds like they did not bench bleed the master here are two guides that will help us fix the problem

https://www.2carpros.com/articles/how-to-replace-a-brake-master-cylinder

and

https://www.2carpros.com/articles/brake-pedal-goes-to-the-floor

Please run down these guides and report back.
Was this
answer
helpful?
Yes
No
Friday, November 24th, 2017 AT 7:23 AM
Tiny
JB3
  • MEMBER
  • 2 POSTS
The noise appears to be in the pedal but did not exist until the brake job was done. I will check these things as you suggest but find it hard to understand how this is now all of a sudden happening after a complete brake job.

Thank you for your assistance.
Was this
answer
helpful?
Yes
No
+1
Friday, November 24th, 2017 AT 7:28 AM
Tiny
KEN L
  • MASTER CERTIFIED MECHANIC
  • 55,090 POSTS
If there is no air in the brake system then the only two other things that can cause this problem is a defective master or the rear shoes are out of adjustment. Here are a couple of guides to help you get the problem fixed.

https://www.2carpros.com/articles/brake-pedal-goes-to-the-floor

and

https://www.2carpros.com/articles/how-to-bleed-or-flush-a-car-brake-system

and

https://www.2carpros.com/articles/how-to-replace-a-brake-master-cylinder

The clunk you feel is normal when the master cylinder bottoms out.

Please let us know what happens.

Cheers, Ken
Was this
answer
helpful?
Yes
No
+1
Sunday, November 26th, 2017 AT 7:09 PM
Tiny
GLEN WORSTALL
  • MEMBER
  • 2 POSTS
I have a 98 Ford f150 4-wheel drive with a 4.6 Triton that we put new calipers new brakes new bleeders new banjo bolts and everything in it tried bleeding it with no success
Was this
answer
helpful?
Yes
No
+1
Friday, August 23rd, 2019 AT 7:58 PM
Tiny
GLEN WORSTALL
  • MEMBER
  • 2 POSTS
I need to figure out what's wrong with this truck.
Was this
answer
helpful?
Yes
No
-1
Friday, August 23rd, 2019 AT 8:00 PM
Tiny
KEN L
  • MASTER CERTIFIED MECHANIC
  • 55,090 POSTS
Hello,

Does this truck have ABS? if so you will need to have the the ABS unit valves opened when bleeding using a scan tool.

This guide should help us:

https://www.2carpros.com/articles/brake-pedal-goes-to-the-floor

Please run down this guide and report back.
Was this
answer
helpful?
Yes
No
-1
Monday, August 26th, 2019 AT 11:54 AM
Tiny
SSTANELLE
  • MEMBER
  • 1 POST
Could air trapped in the ABS unit be causing the sinking brake pedal? It's my understanding that if the master cylinder is replaced, the ABS unit must be bled in conjunction with wheel-based bleeding. Can an expert confirm or deny this? I took into my local mechanic for a spongy brake pedal. He assumed it was the master cylinder. But after bleeding the brakes, the problem still exists. He then replaced the brake booster and bled the brake system again. Still the spongy brake pedal problem exists. He also replaced the front brake pads and rotors because it was needed to be done anyway after a complete inspection of the brake system. I didn't ask him yet if he bled the ABS unit because I don't know if that is a legitimate concern or not. Hopefully someone here can answer. I also don't know if he is equipped to do so as I believe it requires a scan tool to open the valve for each wheel independently. Also, can an expert tell me how far the brake pedal should normally travel? Thanks!
Was this
answer
helpful?
Yes
No
Wednesday, August 28th, 2019 AT 9:37 AM
Tiny
KEN L
  • MASTER CERTIFIED MECHANIC
  • 55,090 POSTS
The brake pedal should travel about 3 inches, you will need a scan tool to open the ABS control valves to get he air out, here is a guide that should help.

https://www.2carpros.com/articles/how-to-bleed-or-flush-a-car-brake-system

Please run down this guide and report back.
Was this
answer
helpful?
Yes
No
-1
Thursday, August 29th, 2019 AT 10:40 AM
Tiny
MALCOLM2817
  • MEMBER
  • 2 POSTS
  • 1997 FORD F-150
  • 4.6L
  • V8
  • 2WD
  • AUTOMATIC
  • 250,000 MILES
I have replaced the pads, master cylinder bleed the system all to no avail. The truck has front disc and rear drum, can someone assist me with this problem, it would be greatly appreciated.
Was this
answer
helpful?
Yes
No
Wednesday, March 10th, 2021 AT 11:19 AM (Merged)
Tiny
JACOBANDNICKOLAS
  • MECHANIC
  • 110,192 POSTS
Hi,

Are there any leaks? Are the rear brakes properly adjusted? When you replaced the master cylinder, was everything bled properly.

Lets start by going through the following link. See if there is anything that helps. Also, let me know the procedure used when you bled the brake system.I would suspect there is air in the lines. These guides can help you fix it.

https://youtu.be/w7gUsj2us0U

and

https://youtu.be/WDxvEQrMkBg

and

https://www.2carpros.com/articles/brake-pedal-goes-to-the-floor

Please run down these guides and report back.

Let me know.
Joe
Was this
answer
helpful?
Yes
No
Wednesday, March 10th, 2021 AT 11:19 AM (Merged)
Tiny
MALCOLM2817
  • MEMBER
  • 2 POSTS
Hello,

No there is not any leaks, the rear brakes was adjusted, the master cylinder was not bled to my knowledge. I had a mechanic install that, but the system was bled properly.
Was this
answer
helpful?
Yes
No
Wednesday, March 10th, 2021 AT 11:19 AM (Merged)
Tiny
JACOBANDNICKOLAS
  • MECHANIC
  • 110,192 POSTS
Just to confirm. You mentioned the master cylinder was not bled to your knowledge. It must be if it was replaced.

Please confirm.

Joe
Was this
answer
helpful?
Yes
No
Wednesday, March 10th, 2021 AT 11:19 AM (Merged)
Tiny
TERRY102204
  • MEMBER
  • 1 POST
  • 1997 FORD F-150
  • 4.6L
  • V8
  • 4WD
  • AUTOMATIC
  • 95,000 MILES
Replaced brakes, rotors, drums, and calibers lines. We have no air in lines fluid coming out, but pedal stills goes to floor and won't pump up.
Was this
answer
helpful?
Yes
No
-1
Wednesday, March 10th, 2021 AT 11:20 AM (Merged)
Tiny
ASEMASTER6371
  • MECHANIC
  • 52,796 POSTS
Good afternoon.

This sounds like you still have air in the system.

https://www.2carpros.com/articles/brake-pedal-goes-to-the-floor

I posted the procedure below but the key is you need a scan tool that can perform the automated ABS bleed procedure. It sounds like you have in the lines and conventional bleeding will not work until you open the ABS valves. That is what the scan tool does to get rid of the air.

https://www.2carpros.com/articles/how-to-bleed-or-flush-a-car-brake-system

Roy

NOTE: This procedure only needs to be performed if the 4 wheel anti-lock brake (4WABS) hydraulic control unit (HCU) has been replaced.

NOTE: One conventional pressure bleed cycle consists of advancing the brake pedal to its extended position, opening the wheel cylinder bleeder screw, allowing fluid to be released into the waste container, closing the wheel cylinder bleeder screw and releasing the brake pedal to its full upright position.

NOTE: When any part of the hydraulic system has been disconnected for repair or replacement, air may get into the system arid cause spongy brake pedal action. This requires the bleeding of the hydraulic system after it has been properly connected. The hydraulic system can be bled manually or with pressure bleeding equipment Brake Bleeder.

NOTE: Performing the New Generation Star tester (NGS) program routine drives entrapped air from the otherwise inaccessible lower section of the 4WABS valve into the upper sections (accessible by bleeding the brakes). Subsequent bleedings remove the air from the system.

NOTE: Add recommended brake fluid as necessary throughout the procedure.

Wheel Cylinder Bleeder Screw
imageOpen In New TabZoom/Print

1. Connect a clear waste line to the RH rear wheel cylinder bleeder screw and the other end in a container partially filled with recommended brake fluid.

2. With the RH rear wheel cylinder bleeder screw open, cycle the brake pedal until no more air is seen in the waste line.

Wheel Cylinder Bleeder Screws Torque Specifications
imageOpen In New TabZoom/Print

3. Close the RH rear wheel cylinder bleeder screw and disconnect the waste line.

4. Repeat steps 1, 2, and 3 for the LH rear wheel cylinder bleeder screw, RH front disc brake caliper bleeder screw, and the LH front disc brake caliper breeder screw.

Connect Cable Adapter
imageOpen In New TabZoom/Print

5. Connect the (A) NGS DCL cable adapter into the (B) vehicle data link connector (DLC).

Vehicle And Engine Selection
imageOpen In New TabZoom/Print

6. Select VEHICLE AND ENGINE SELECTION and press trigger to start the NGS.

Select New Vehicle Year And Model
imageOpen In New TabZoom/Print

7. Select SELECT NEW VEHICLE YEAR AND MODEL and press trigger to start the NGS.

Vehicle Year Selection
imageOpen In New TabZoom/Print

8. Select the appropriate vehicle year application and press trigger to start the NGS.

Select New Vehicle Year And Model
imageOpen In New TabZoom/Print

9. Scroll down to the appropriate vehicle application and highlight and trigger to start:the NGS.

Verify Vehicle Application
imageOpen In New TabZoom/Print

10.The NGS will prompt you to verify correct application. Trigger the NGS if correct.

Select Diagnostic Data Link
imageOpen In New TabZoom/Print

11.Select DIAGNOSTIC DATA LINK and press trigger to start the NGS.

Trigger Or Cancel Display
imageOpen In New TabZoom/Print

12.Follow the NGS prompt PRESS TRIGGER TO CONTINUE or PRESS CANCEL TO BYPASS.

Select - Anti-Lock Brake Module
imageOpen In New TabZoom/Print

13.Select ABS ANTI-LOCK BRAKE MODULE and press trigger to start the NGS.

Function Tests
imageOpen In New TabZoom/Print

14.Select FUNCTION TESTS and press trigger to start the NGS.

Service Bleed Function
imageOpen In New TabZoom/Print

15.Select SERVICE BLEED FUNCTION and press trigger to start the NGS.

Service Bleed Function
imageOpen In New TabZoom/Print

16.Select PRESS TRIGGER TO BEGIN.

NOTE: The brake pedal should be depressed while this procedure is functioning. Perform at least five service bleed procedures.

17.Repeat conventional bleed procedure as outlined in steps 1 through 4.

18.If brake pedal feels spongy, repeat NGS service bleed procedure as outlined in steps 5 through 16 and repeat conventional bleed steps 1 through 4.
Was this
answer
helpful?
Yes
No
Wednesday, March 10th, 2021 AT 11:20 AM (Merged)
Tiny
CHAD READ
  • MEMBER
  • 26 POSTS
  • 1997 FORD F-150
  • V8
  • 2WD
  • AUTOMATIC
  • 1,000 MILES
I replaced the master cylinder, replaced brake booster, new brake pads, turned rotors, replaced calipers. Tried bleeding brakes in sequence over and over, bench bled master cylinder. Front brakes squeeze together and won't let go. And pedal still sinks to the floor.
Was this
answer
helpful?
Yes
No
Wednesday, March 10th, 2021 AT 11:21 AM (Merged)
Tiny
JACOBANDNICKOLAS
  • MECHANIC
  • 110,192 POSTS
HI and thanks for using 2CarPros.

It sounds like an issue with one of the rubber brake hoses to the caliper. I need you to try this for me and let me know what happens.

First, safely lift the front wheels off the ground so you can turn them. Apply the brakes so the caliper locks. Open the bleeder on the brake caliper. Does the caliper release?

If so, do this. Apply the brakes to lock caliper. Release pressure at the master cylinder. If it doesn't release the caliper, replace the rubber brake hoses.

Here are the directions specific to your vehicle for brake hose replacement. The attached pictures correlate with these directions

Front brake hose
Removal:
Warning: brake fluid contains polyglycol ethers and polyglycols. Avoid contact with eyes. Wash hands thoroughly after handling. If brake fluid contacts eyes, flush eyes with running water for 15 minutes. Get medical attention if irritation persists. If taken internally, drink water and induce vomiting. Get medical attention immediately.

- Raise and support the vehicle.

Warning: the electrical power to the air suspension system must be shut off prior to hoisting, jacking or towing an air suspension vehicle, this can be accomplished by turning off the air suspension switch located in the right hand kick panel area. Failure to do so may result in unexpected inflation ()r deflation of the air springs which may result in shifting of the vehicle during these operations.
Disconnect Front Brake Hose
see picture 1

- Disconnect the front brake hose.
1 Remove the front brake hose bolt.
2 Remove and discard the copper washers. Plug the front brake hose.
3 Disconnect the front brake hose.

Remove Front Brake Hose
see picture 2

- Remove the front brake hose.
1 Disconnect the front brake tube fitting and plug the tube.
2 Remove the plug;
3 Remove the two brake hose frame bolts.
4 Remove the front brake hose.

INSTALLATION:

Front Brake Hose Torque Specifications
see picture 3
Front Brake Hose Torque Specifications
see picture 4

- To install, reverse the removal procedure.
Bleed the front brakes; refer to procedure in this section section.
Let me know what you find.

________________________________________________

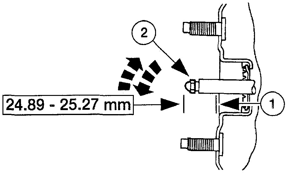
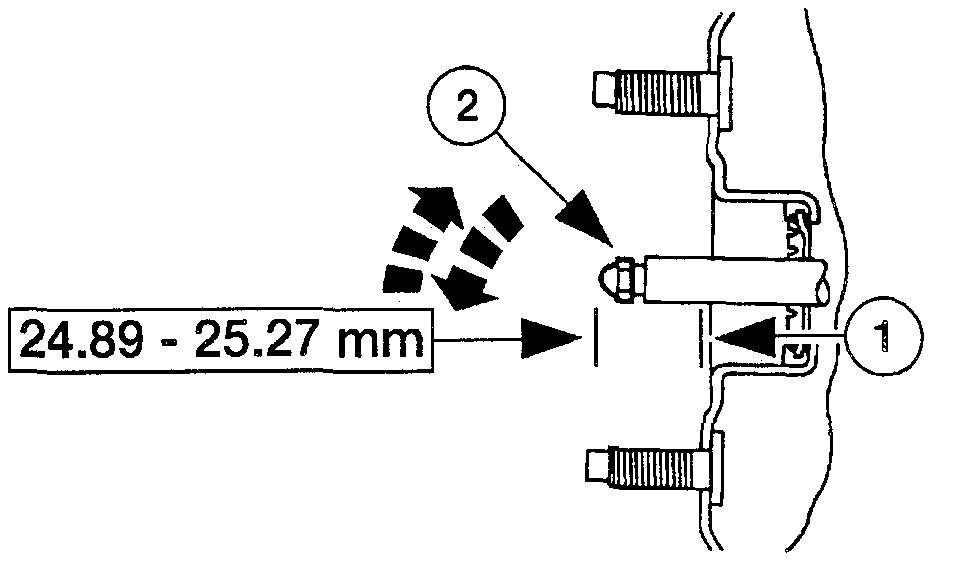
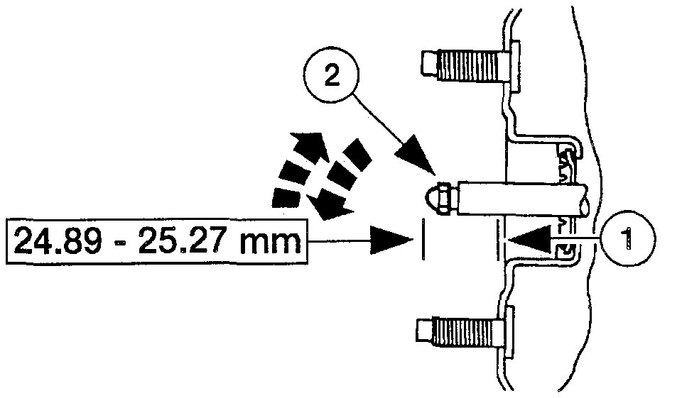
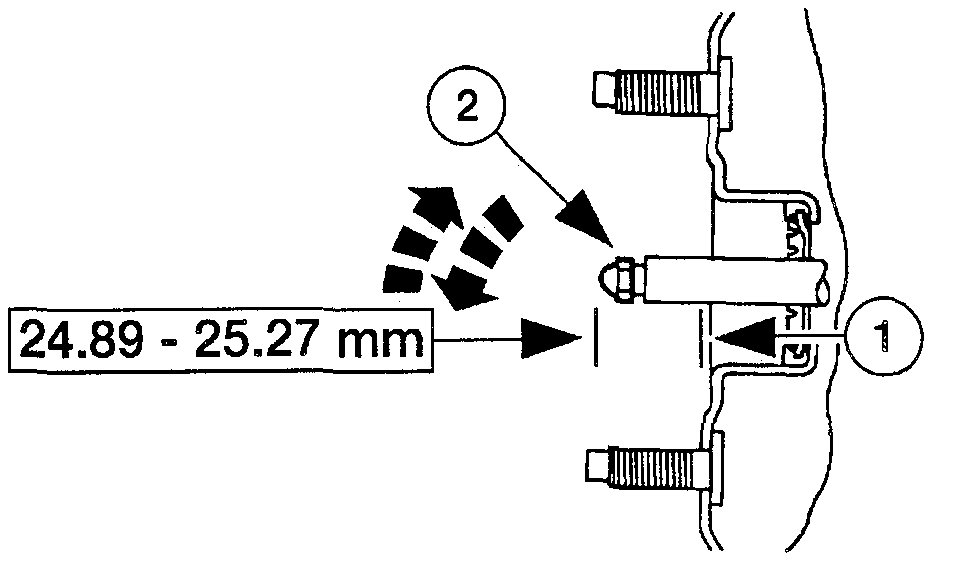
Also, since both the booster and master cylinder were replaced, you really should check the push rod adjustment between the two. Here are the directions for adjustment, Pic 5 correlates with this process.

Remove the brake master cylinder: refer to the Master Cylinder, Brakes.

Power Brake Booster To Master Cylinder Push Rod Torque Specification

see picture 5

-Adjust the power brake booster to brake master cylinder push rod.
1 Measure the power brake booster to brake master cylinder push rod.
2 If necessary, adjust the screw to the proper length.

Let me know what you find or if you have other questions.

Take care,
Joe
Was this
answer
helpful?
Yes
No
+2
Wednesday, March 10th, 2021 AT 11:21 AM (Merged)
Tiny
CHAD READ
  • MEMBER
  • 26 POSTS
I forgot to mention I also replaced the brake hoses.
Was this
answer
helpful?
Yes
No
Wednesday, March 10th, 2021 AT 11:21 AM (Merged)
Tiny
JACOBANDNICKOLAS
  • MECHANIC
  • 110,192 POSTS
Okay. Did you adjust the push rod? It sounds like something isn't put together correctly there. If nothing leaks, everything is new, either the master cylinder is bad or the push-rod is not properly adjusted and getting stuck causing the pressure to remain on the calipers. Try the release procedure I suggested. At least that way we will know if the problem is at the master cylinder or after it. THis guide can help us

https://www.2carpros.com/articles/brake-pedal-goes-to-the-floor

Please run down this guide and report back.
Was this
answer
helpful?
Yes
No
Wednesday, March 10th, 2021 AT 11:21 AM (Merged)
Tiny
CHAD READ
  • MEMBER
  • 26 POSTS
I have not yet adjusted the push rod yet. Waiting for warmer weather I also already bench bled the master cylinder the best I could with the kit. So I will check the push rod first.
Was this
answer
helpful?
Yes
No
Wednesday, March 10th, 2021 AT 11:21 AM (Merged)
Tiny
JACOBANDNICKOLAS
  • MECHANIC
  • 110,192 POSTS
Let me know what you find. I hope that takes care of it.

Take care,
Joe
Was this
answer
helpful?
Yes
No
+1
Wednesday, March 10th, 2021 AT 11:21 AM (Merged)

Please login or register to post a reply.