Engine shut off while idling it cranks but will not start?

Tiny
4X4PLEASE
  • MEMBER
  • 2021 FORD ESCAPE
  • 3.0L
  • V6
  • 4WD
  • MANUAL
  • 17,000 MILES
Was sitting idling and just shut off for no apparent reason. It turns over, I believe it gets fuel in the fuel and to the injectors but not to the spark plugs. I can take spark plugs out and put a little fuel in each one and it fires up for maybe 2 seconds.
Friday, June 19th, 2020 AT 11:21 PM

37 Replies

Tiny
ASEMASTER6371
  • MECHANIC
  • 52,796 POSTS
Good morning,

When you turn the key to the on position without cranking the engine over can you hear the fuel pump run in the tank for 5 seconds?

https://www.2carpros.com/articles/car-cranks-but-wont-start

Please run down this guide and report back.

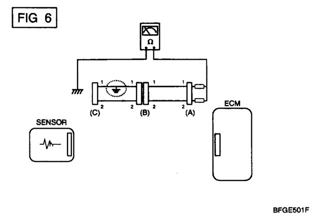
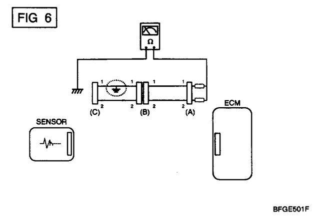
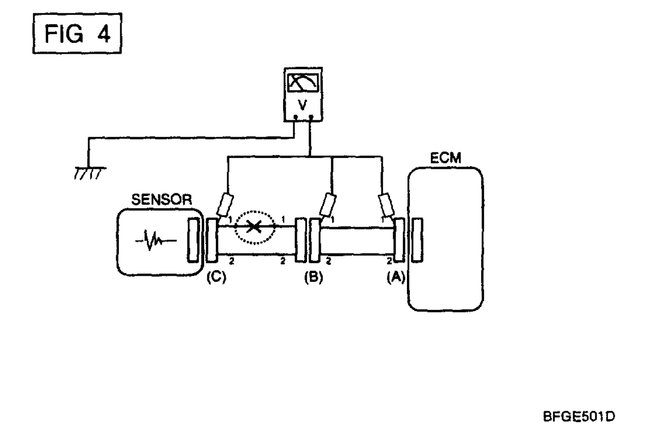
It sounds like the crankshaft sensor could be shirted out and needs replacement if so here are instructions in the diagrams below. Check out the diagrams (Below). Please let us know what you find. We are interested to see what it is.
Was this
answer
helpful?
Yes
No
-1
Saturday, June 20th, 2020 AT 3:43 AM
Tiny
THADDIUS AHSJRJDB JEANBATISTE
  • MEMBER
  • 1 POST
  • 2012 FORD ESCAPE
  • 2WD
  • AUTOMATIC
  • 160,000 MILES
Cut off at light in traffic while driving. And could not start back up it would just crank over?
Was this
answer
helpful?
Yes
No
-2
Wednesday, August 12th, 2020 AT 1:10 PM (Merged)
Tiny
WRENCHTECH
  • MECHANIC
  • 20,761 POSTS
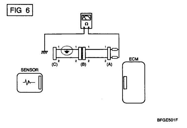
It sounds like the crankshaft sensor has gone out but to be sure this guide will help us fix it,

https://www.2carpros.com/articles/car-cranks-but-wont-start

Check to see if the Inertia switch has tripped. It is located behind the right kick panel. If is has tripped, there will be a red button on top that pops up. Try to push it down.
Was this
answer
helpful?
Yes
No
Wednesday, August 12th, 2020 AT 1:10 PM (Merged)
Tiny
MIKE E79
  • MEMBER
  • 1 POST
  • 2008 FORD ESCAPE
  • 6 CYL
  • 2WD
  • AUTOMATIC
  • 120,000 MILES
Car was rough to start yesterday. Finally fired and started but was rough idle, once it warmed up ran okay, some vibration at take off like maybe a cylinder misfire. Today would turn over fine but not fire. After turning over continuously the post on starter got hot and melted plastic buffer between post and metal casing of solenoid body producing smoke. Wires do not appear to have burnt, but engine will not fire at all now. Thought solenoid was bad but it will still turn over fine just will not fire.
Was this
answer
helpful?
Yes
No
Wednesday, August 12th, 2020 AT 1:10 PM (Merged)
Tiny
KEN L
  • MASTER CERTIFIED MECHANIC
  • 55,488 POSTS
We need to see if the engine is losing fuel pressure or spark.

Here are guides to help us get started:

https://www.2carpros.com/articles/how-to-test-an-ignition-system

and

https://www.2carpros.com/articles/how-to-check-fuel-system-pressure-and-regulator

Please let us know what you find.

Cheers, Ken
Was this
answer
helpful?
Yes
No
Wednesday, August 12th, 2020 AT 1:10 PM (Merged)
Tiny
JACOBR
  • MEMBER
  • 1 POST
  • 2006 FORD ESCAPE
  • 3.0L
  • 6 CYL
  • 4WD
  • AUTOMATIC
  • 197,000 MILES
The fuel pump won't turn on. And it won't start with starting fluid. Changed fuel pump 2 times. All fuel and relays are good. Battery good. What else can we try?
Was this
answer
helpful?
Yes
No
-1
Wednesday, August 12th, 2020 AT 1:12 PM (Merged)
Tiny
JOETECHPRO
  • MECHANIC
  • 705 POSTS
Hey JACOBR,

Can you please first check the inertia fuel cut off switch?

I have attached a description and location for the inertia cutoff switch.

Press the reset button and retry, if this makes no change then then disconnect the inertia switch and bridge the two connections.

Will the vehicle start now?

Regards, Joe
Was this
answer
helpful?
Yes
No
-1
Wednesday, August 12th, 2020 AT 1:12 PM (Merged)
Tiny
JACOBR
  • MEMBER
  • 1 POST
Already tried that!
Was this
answer
helpful?
Yes
No
Wednesday, August 12th, 2020 AT 1:12 PM (Merged)
Tiny
NANCY HEPOLA
  • MEMBER
  • 1 POST
  • 2005 FORD ESCAPE
  • 3.0L
  • V6
  • 4WD
  • AUTOMATIC
  • 150 MILES
My car will crank but wont start and no spark.I have changed battery, fuel filter, fuel pump. Crankshaft position sensor. What else can it be?
Was this
answer
helpful?
Yes
No
+1
Wednesday, August 12th, 2020 AT 1:12 PM (Merged)
Tiny
SCGRANTURISMO
  • MECHANIC
  • 4,897 POSTS
Hello,

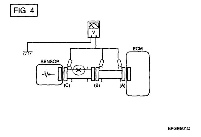
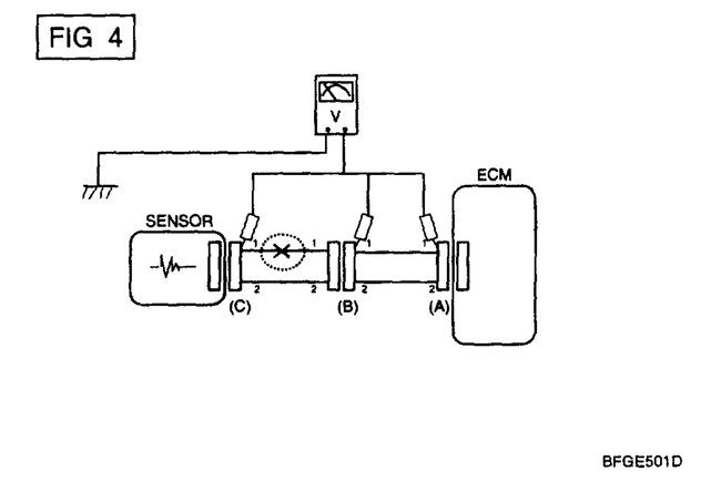
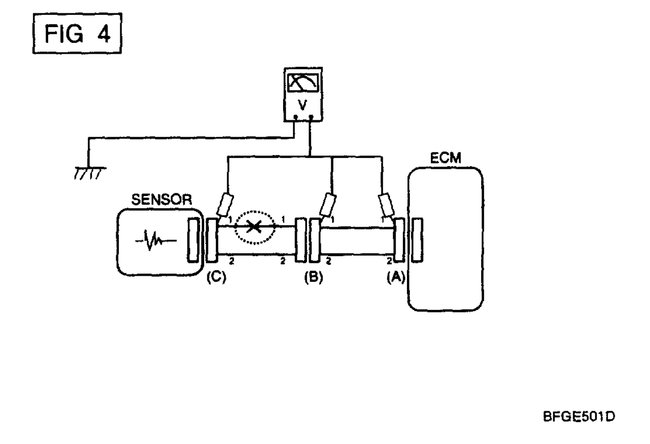
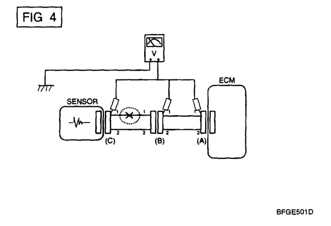
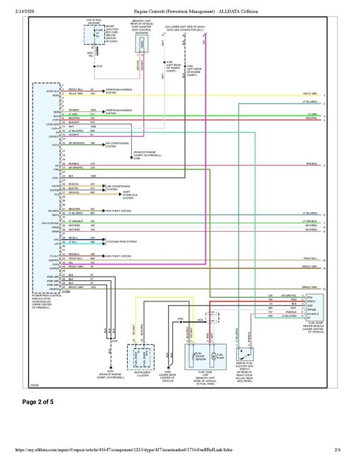
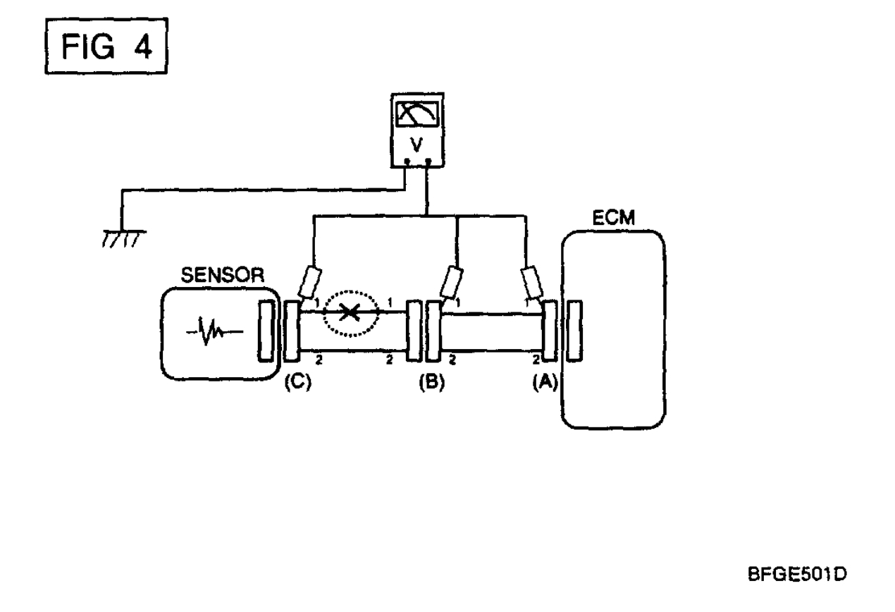
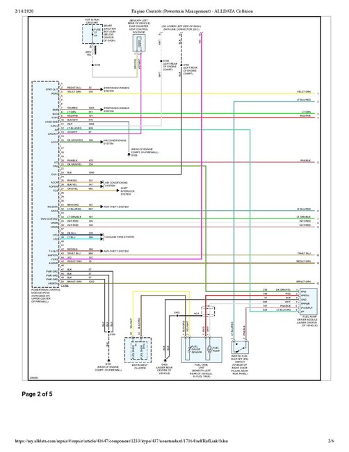
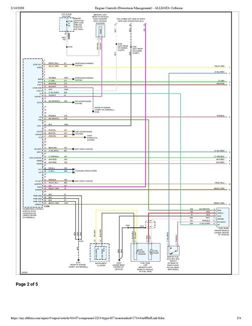
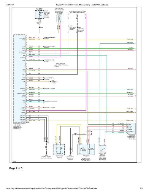
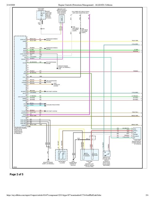
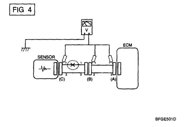
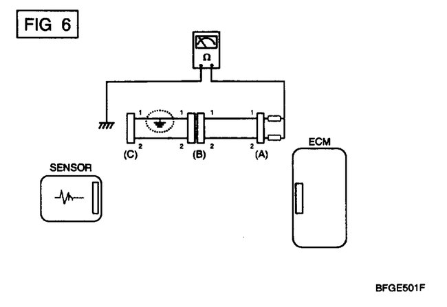
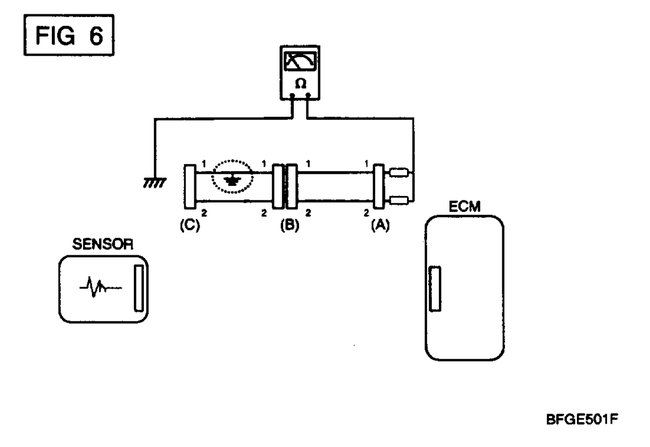
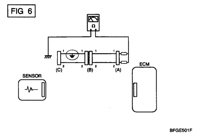
This could be a problem with the wires going from the Crankshaft Position Sensor (CKP) to your vehicle's Power-train Control Module (PCM). In the diagrams down below I have included a wiring diagram with the wires highlighted for you. You will need to check for an open in the circuit and I have included instructions for how to do that as well, but it will require you to use a multi-meter. Here is a link for you to go to if you are unfamiliar with how to use one.

https://www.2carpros.com/articles/how-to-use-a-voltmeter

Please check these wires and get back to us with what you are able to find out.

Thanks,
, Alex
2CarPros
Was this
answer
helpful?
Yes
No
+1
Wednesday, August 12th, 2020 AT 1:12 PM (Merged)
Tiny
BMDOUBLE
  • MECHANIC
  • 1,139 POSTS
Are there any trouble codes in the Power-train control module? This will help lead us in the right direction. Also, while cranking does the RPM needle move at all? This will be an indicator of a bad crank sensor signal. I’ve had wiring issues with crank sensors on these vehicles.
Was this
answer
helpful?
Yes
No
Wednesday, August 12th, 2020 AT 1:12 PM (Merged)
Tiny
DANIELPSTANDRE
  • MEMBER
  • 3 POSTS
  • 2005 FORD ESCAPE
  • 3.0L
  • 6 CYL
  • 4WD
  • AUTOMATIC
  • 160,000 MILES
Someone changed all the plugs and coils. But they are aftermarket. The computer was also repaired and programmed and put back. It has spark but it seems yellow not blue. I do believe it has fuel pressure, but I am not sure yet. It wants to start but doesn't. The new plugs seemed soaked with gas.I don't know what to do from here. Another shop also tested the front for compression it read fine.
Was this
answer
helpful?
Yes
No
Wednesday, August 12th, 2020 AT 1:13 PM (Merged)
Tiny
KASEKENNY
  • MECHANIC
  • 18,907 POSTS
Okay. Based on all this we need to start with new plugs. If they are soaked with fuel, then you may have fixed the issue with one of the other repairs but all the cranking prior to the "fix" getting installed it could have fouled the plugs again. So put new plugs in and try cranking it. If it does not fire then stop cranking so you don't foul the new ones. At that point we need to check the spark again. If it is still yellow then we have a secondary ignition issue. However, this is unlikely due to it being new coils.

Let me know what happens when we get good plugs in there.
Was this
answer
helpful?
Yes
No
Wednesday, August 12th, 2020 AT 1:13 PM (Merged)
Tiny
DANIELPSTANDRE
  • MEMBER
  • 3 POSTS
Okay, changed the new coil packs to better ones it did nothing. What does it mean when it will run without a spark plug in it?
Was this
answer
helpful?
Yes
No
Wednesday, August 12th, 2020 AT 1:13 PM (Merged)
Tiny
DANIELPSTANDRE
  • MEMBER
  • 3 POSTS
I also tested the slark with a new spark plug not the one in it.
Was this
answer
helpful?
Yes
No
Wednesday, August 12th, 2020 AT 1:13 PM (Merged)
Tiny
KASEKENNY
  • MECHANIC
  • 18,907 POSTS
Did you change the spark plugs or the coils? If the spark plugs are fouled with fuel then they will not deliver the proper spark to allow it to start.

As for it running without the spark plug installed, I am not sure I understand. Did you remove the plugs and try to start it and it started? So it would not start until you removed a plug? How many did you remove when it started? Let me know if I am misunderstanding. Thanks
Was this
answer
helpful?
Yes
No
Wednesday, August 12th, 2020 AT 1:13 PM (Merged)
Tiny
CRUISERBOY811
  • MEMBER
  • 1 POST
  • 2005 FORD ESCAPE
  • 4 CYL
  • AUTOMATIC
  • 75,336 MILES
I have a 2005 ford escape 4 cylinder engine 2.3 liter, it cranks but I can turn on the vehicle in any way not even with ether, it displays only dashes on the odometer and I don't know what this means, car wont start and the obd can does not link to the vehicle I have tried 3 more scanners an with all 4 scanners wont link too. The mileage registered is 75336 was placed on the work order.
Engine and transmission were pulled out just for a replacement of the front transmission seal and all has been placed in order I have check and double check all the electrical connections and rechecked all ground point and fuses, relays and all that is involved, there is a good spark in all 4 plugs and fuel pressure is in order but just wont start, engine was running perfectly and smoothly once the vehicle arrived and engine also was covered for dust or water entries. Any help would be great!
Was this
answer
helpful?
Yes
No
Wednesday, August 12th, 2020 AT 1:16 PM (Merged)
Tiny
CJ MEDEVAC
  • MECHANIC
  • 11,005 POSTS
I have seen the PCM go bad in these cars here is how you can replace it in the diagrams below. Check out the diagrams (Below). Please let us know what you find.
Was this
answer
helpful?
Yes
No
Wednesday, August 12th, 2020 AT 1:16 PM (Merged)
Tiny
TI2GER88
  • MEMBER
  • 3 POSTS
  • 2005 FORD ESCAPE
My car had a new motor installed last April and it has ran great since. I have put appro 25000 miles on the car since putting new motor in. It was fine last night and this morning it will not start. It is put fuel to motor and try to turn over but nothing. We had a major snow storm yesterday so I thought it had moisture somewhere but after looking things over and trying to start it without results I just by chance removed my cell phone charger and the car started right up but once I put it back in the car stalled immediately and now I can't get it to start at all. I bought this car brand new and ater like 10000 on the car they had to replace one of the wiring harnesses because "it was wired backwards"? Please any ideas?
Was this
answer
helpful?
Yes
No
Wednesday, August 12th, 2020 AT 1:23 PM (Merged)
Tiny
ASEMASTER6371
  • MECHANIC
  • 52,796 POSTS
Yes, maybe the car is not at fault, your charger is the issue.

Roy
Was this
answer
helpful?
Yes
No
Wednesday, August 12th, 2020 AT 1:23 PM (Merged)

Please login or register to post a reply.