Engine stalls while driving?

Tiny
DANE RILEY
  • MEMBER
  • 1999 NISSAN PATHFINDER
  • 0.5L
  • 6 CYL
  • 4WD
  • AUTOMATIC
  • 316,000 MILES
When driving at any speed or in any gear the gas pedal will suddenly become unresponsive and the engine will stall several seconds later. Usually one to six seconds after. When I restart it, the idle is inconsistent and jumping up and down until it stalls again. This will happen seven to fifteen times before everything goes back to normal.
Used to happen once a day now this is happening all day and vehicle is parked until I can fix it.
Tuesday, July 24th, 2018 AT 2:22 PM

31 Replies

Tiny
JACOBANDNICKOLAS
  • MECHANIC
  • 110,194 POSTS
Hi, Dane, and thanks for using 2CarPros.com.

Based on your description, it could be a few different things causing this. First, if the check engine light has come on and stayed on when the engine is running, you need to scan the computer for codes. If you have a scanner, great. If you do not, often times parts stores will lend you one.

Here is a quick video that shows how to use one:

https://youtu.be/YV3TRZwer8k

Now, there are a couple other things which could be checked. Both a weak fuel pump (low pressure) or an ignition problem (such as a bad crankshaft position sensor) can be an issue.

Here is a link which describes how to check fuel pressure:

https://www.2carpros.com/articles/how-to-check-fuel-system-pressure-and-regulator

The first picture below contains the fuel pressure specifications required by the manufacturer. The second is where the pressure gauge is connected.

Next, a bad crankshaft position sensor can act similar to what you described and never set an engine code. (the check engine light never comes on). Read through this link which describes symptoms of a bad sensor.

https://www.2carpros.com/articles/symptoms-of-a-bad-crankshaft-sensor

If you find the sensor is the issue, here is a general guide for replacement

https://www.2carpros.com/articles/crankshaft-angle-sensor-replacement

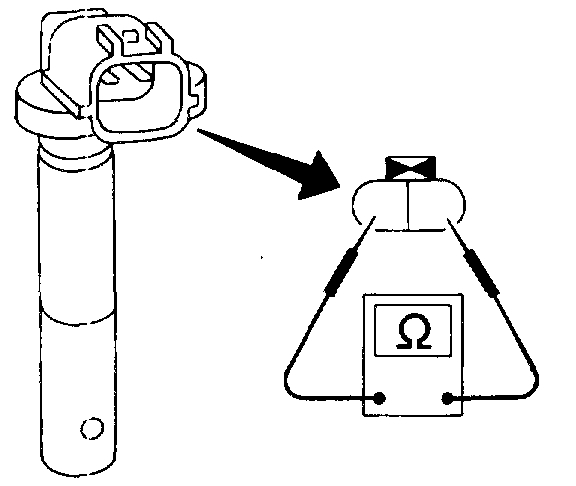
If you feel the sensor should be checked, here are the specific directions from alldata specific to your vehicle. Pictures three and four correlate with these directions.

CRANKSHAFT POSITION SENSOR (OBD)
1. Disconnect crankshaft position sensor (OBD) harness connector.
2. Loosen the fixing bolt of the sensor.
3. Remove the sensor.
4. Visually check the sensor for chipping.
5. Check resistance as shown in the figure.
Resistance: Approximately 166.5 - 203.5 Ohms [at 20°C (68°F)]
If NG, replace crankshaft position sensor (OBD).

Picture five is the location of the sensor.

I hope this helps. Let me know if you have other questions or need additional help.

Joe
Was this
answer
helpful?
Yes
No
Tuesday, July 24th, 2018 AT 7:28 PM
Tiny
BROKENCAR1957
  • MEMBER
  • 1 POST
  • 1999 NISSAN PATHFINDER
  • 6 CYL
  • AUTOMATIC
  • 150,000 MILES
Engine shut off at 55 mph, turns over but does not ignite, what may have happened?
Was this
answer
helpful?
Yes
No
Wednesday, September 30th, 2020 AT 3:24 PM (Merged)
Tiny
KHLOW2008
  • MECHANIC
  • 41,814 POSTS
https://www.2carpros.com/articles/car-cranks-but-wont-start

You need to find out what is missing causing the non starting. The above link explains how to go about.
Was this
answer
helpful?
Yes
No
Wednesday, September 30th, 2020 AT 3:24 PM (Merged)
Tiny
JEREMYMAC
  • MEMBER
  • 3 POSTS
  • 1999 NISSAN PATHFINDER
  • 3.3L
  • 6 CYL
  • 2WD
  • AUTOMATIC
  • 220,000 MILES
When I go to start my vehicle it turns off after 1 or 2 seconds kind of like it is not getting fuel can anybody help me?
Was this
answer
helpful?
Yes
No
Wednesday, September 30th, 2020 AT 3:24 PM (Merged)
Tiny
ASEMASTER6371
  • MECHANIC
  • 52,796 POSTS
Good morning,

Is the theft or security light on after it starts? It sounds like a security issue turning it off.

https://www.2carpros.com/articles/how-to-reset-a-security-system

Roy
Was this
answer
helpful?
Yes
No
Wednesday, September 30th, 2020 AT 3:24 PM (Merged)
Tiny
JEREMYMAC
  • MEMBER
  • 3 POSTS
That didn't work the security light still stays on when trying to start the car. I did just replace the ignition switch do I have to do anything special when doing that?
Was this
answer
helpful?
Yes
No
Wednesday, September 30th, 2020 AT 3:24 PM (Merged)
Tiny
ASEMASTER6371
  • MECHANIC
  • 52,796 POSTS
Did you replace the key as well?

The system has to be programmed and you need an advanced scan tool for this procedure.

If you do not have one, you can call a locksmith and he can come to you and program the security to get it to run.

Otherwise, it is a tow to the dealer or shop and programming performed.

Roy
Was this
answer
helpful?
Yes
No
Wednesday, September 30th, 2020 AT 3:24 PM (Merged)
Tiny
JEREMYMAC
  • MEMBER
  • 3 POSTS
Yes, the ignition switch I bought came with 2 keys. I believe they were already programmed.
Was this
answer
helpful?
Yes
No
Wednesday, September 30th, 2020 AT 3:24 PM (Merged)
Tiny
ASEMASTER6371
  • MECHANIC
  • 52,796 POSTS
You need the system programmed. They do not come programmed. They have to be programmed on the vehicle.

I would call a locksmith and have him come to you and program them.

Roy
Was this
answer
helpful?
Yes
No
Wednesday, September 30th, 2020 AT 3:24 PM (Merged)
Tiny
SUZIEQ35
  • MEMBER
  • 2 POSTS
  • 1999 NISSAN PATHFINDER
  • 181,000 MILES
Car has been wanting to stall. It hesitates and then I smell something sweet coming from the engine with a little smoke coming from the right side of the engine (when facing the car). Also, when I looked in the under the engine it seems like something is leaking but I do not know where it is coming from. Check all the fluids and they are all good. Hoping that it is something simple to fix. Thank you
Was this
answer
helpful?
Yes
No
Wednesday, September 30th, 2020 AT 3:24 PM (Merged)
Tiny
WRENCHTECH
  • MECHANIC
  • 20,761 POSTS
The sweet smell is a coolant leak. Have the cooling system pressure tested to determine the source of the leak.
Was this
answer
helpful?
Yes
No
Wednesday, September 30th, 2020 AT 3:24 PM (Merged)
Tiny
SUZIEQ35
  • MEMBER
  • 2 POSTS
So that could make the car want to stall?
Was this
answer
helpful?
Yes
No
Wednesday, September 30th, 2020 AT 3:24 PM (Merged)
Tiny
WRENCHTECH
  • MECHANIC
  • 20,761 POSTS
Hard to say. You shouldn't be driving it with a coolant leak anyway. Resolve that and then start a new question for the stalling. You could be just getting it too hot.
Was this
answer
helpful?
Yes
No
Wednesday, September 30th, 2020 AT 3:24 PM (Merged)
Tiny
DDUESLER
  • MEMBER
  • 1 POST
  • 1999 NISSAN PATHFINDER
  • 6 CYL
  • 4WD
  • AUTOMATIC
  • 152,000 MILES
Not running right and when it stalls out exhaust smoke comes out of air box, and it's like the tailpipe is my air box?
Was this
answer
helpful?
Yes
No
Wednesday, September 30th, 2020 AT 3:24 PM (Merged)
Tiny
KEN L
  • MASTER CERTIFIED MECHANIC
  • 55,440 POSTS
Hello,

It sounds like you have a clogged catalytic converter. To be sure here is a guide to help confirm the issue:

https://www.2carpros.com/articles/how-to-test-a-catalytic-converter

Please run down this guide and report back.
Was this
answer
helpful?
Yes
No
Wednesday, September 30th, 2020 AT 3:24 PM (Merged)
Tiny
2CP-ARCHIVES
  • MEMBER
  • 4,540 POSTS
  • 1998 NISSAN PATHFINDER
  • 186,000 MILES
So, my Pathfinder had been running okay but having some lagging acceleration on hills etc. Then the other morning it didn't want to turn over, started then died all interior lights etc. All working. Started it again and it drove fine for about five miles and then started stuttering and died on the side of the road. Towed it home and now it will turn over after a few tries but dies after a lot of stuttering. Did a spark test as recommended in other posts and i'm getting spark. Replaced the fuel filter, didn't make a difference. What else? How do I test the fuel pump? Could it be a timing belt issue?
Was this
answer
helpful?
Yes
No
Wednesday, September 30th, 2020 AT 3:24 PM (Merged)
Tiny
KHLOW2008
  • MECHANIC
  • 41,814 POSTS
https://www.2carpros.com/articles/how-to-check-fuel-system-pressure-and-regulator

Above link shows how to test fuel pressure.
Was this
answer
helpful?
Yes
No
Wednesday, September 30th, 2020 AT 3:24 PM (Merged)
Tiny
BSALINAS
  • MEMBER
  • 2 POSTS
Replaced the fuel pump, filter, spark plugs/wires, relay. Fuses are all fine, dist. Cap etc. Fine. Still acting the same wants to turn over but won't and if it does every once in ten tries it runs really rough and then dies, just like before. Any ideas?
Was this
answer
helpful?
Yes
No
Wednesday, September 30th, 2020 AT 3:24 PM (Merged)
Tiny
KHLOW2008
  • MECHANIC
  • 41,814 POSTS
Did you check for trouble codes?
Was this
answer
helpful?
Yes
No
Wednesday, September 30th, 2020 AT 3:24 PM (Merged)
Tiny
ANDREW BERRY
  • MEMBER
  • 3 POSTS
  • 1998 NISSAN PATHFINDER
  • 3.3L
  • V6
  • 4WD
  • AUTOMATIC
  • 188,000 MILES
Once it's over 35 mph it runs good, but is only getting 8.5-9.2 miles to a gallon. Have put new sensors on the intake and new filters but still stuttering and shutting off?
Was this
answer
helpful?
Yes
No
Wednesday, September 30th, 2020 AT 3:25 PM (Merged)

Please login or register to post a reply.