Wednesday, May 31st, 2023 AT 10:23 AM
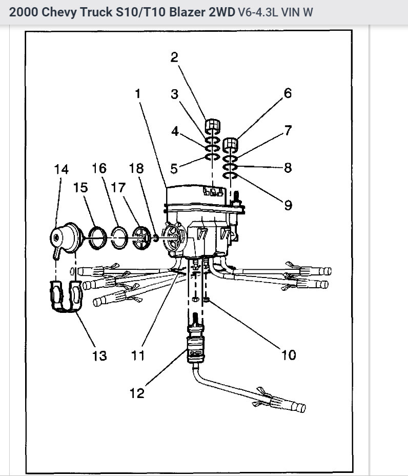
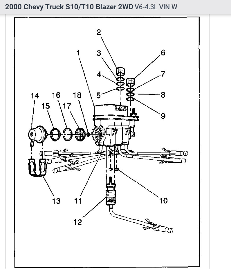
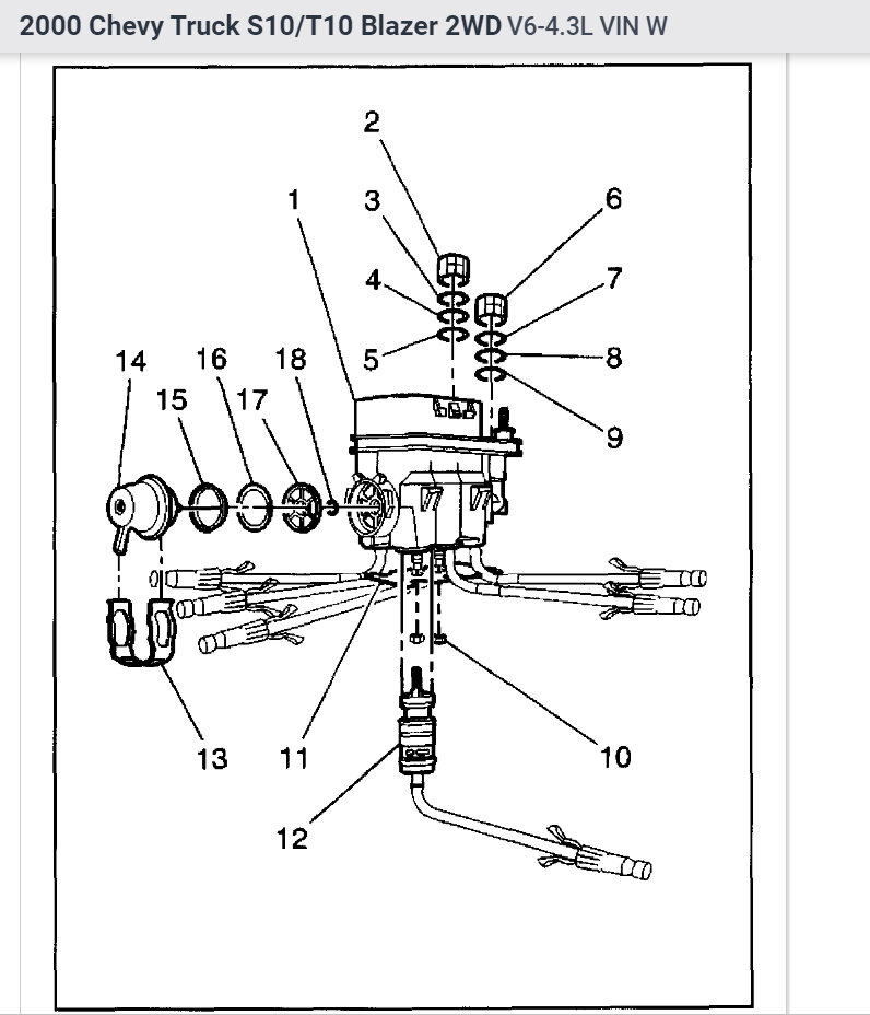
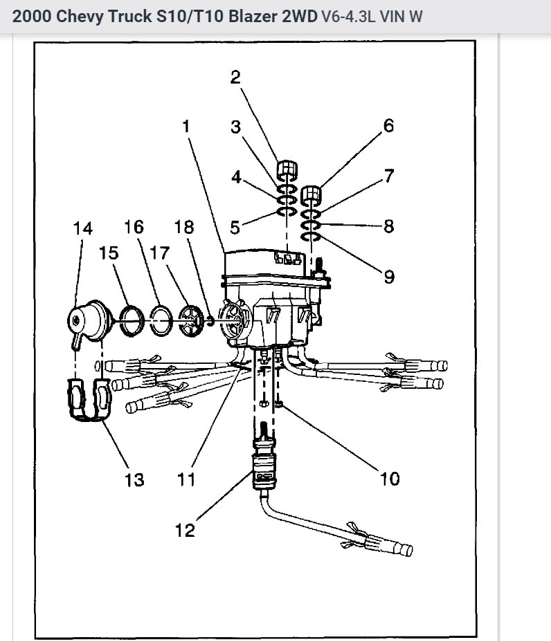
Have replaced all ignition components plugs wires distributor cap, rotor coil, replaced fuel filter. The compression good 155. Spark seems good when touch plug exhaust manifold, even clean spark plug hole threads, but still getting miss and p0302 code. Do I need to start taking the engine apart to replace the gaskets? How can I diagnose it?




















