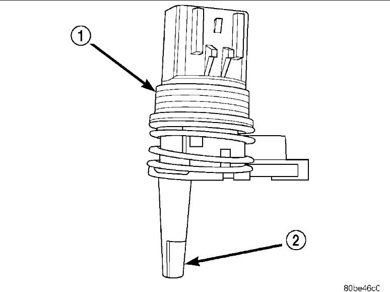
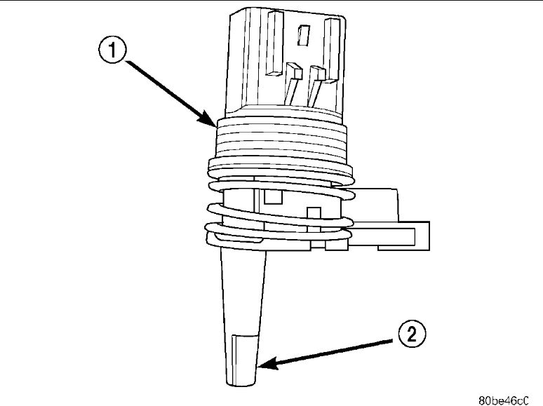
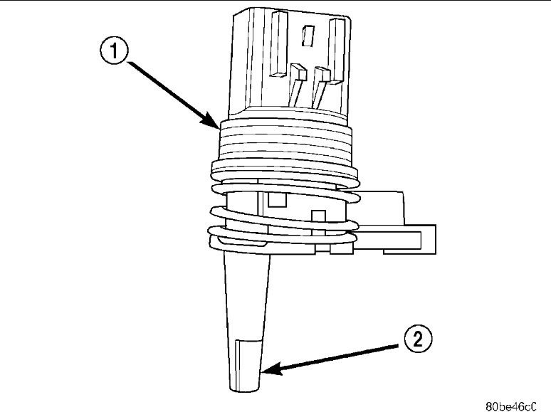
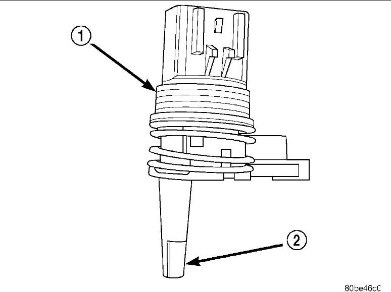
Ignition switch connector

Tiny
ASEMASTER6371
  • MECHANIC
  • 52,796 POSTS
Dirty fluid from lack of service and the metal is from wearing parts internally. Yes a flow gauge will tell if it is clogged.

Roy
Was this
answer
helpful?
Yes
No
Monday, July 2nd, 2018 AT 8:36 AM
Tiny
ZEMORZEMOR
  • MEMBER
  • 486 POSTS
When I replaced the fluid it was not bad and on the magnet it was only clutch material. Can I try to flush it with this product; Lubegard Kooler Kleen transmission line flush cleaner (13 OZ) and see?
Was this
answer
helpful?
Yes
No
Monday, July 2nd, 2018 AT 9:08 AM
Tiny
ASEMASTER6371
  • MECHANIC
  • 52,796 POSTS
No, none of that stuff works. You need an acid flush and under pressure. None of that stuff will break up or dislodge any debris.

Roy
Was this
answer
helpful?
Yes
No
Monday, July 2nd, 2018 AT 9:16 AM
Tiny
ZEMORZEMOR
  • MEMBER
  • 486 POSTS
Sometimes when turning the ignition key I hear just a glitch. It is like just one crank and stops is when p0882 code comes.
Was this
answer
helpful?
Yes
No
Monday, July 2nd, 2018 AT 9:41 PM
Tiny
ASEMASTER6371
  • MECHANIC
  • 52,796 POSTS
Did you have the battery load tested? It sounds like low voltage.

Roy

P0882
Item Description
Symptom/DTC P0882
Descriptor
Tcm Power Input Low
Probable Causes
(T15) Transmission Control Circuit Open
(T15) Transmission Control Circuit Shorted to Ground
Powertrain Control Module (PCM)
Related Totally Integrated Power Module (TIPM) DTCs
Was this
answer
helpful?
Yes
No
Tuesday, July 3rd, 2018 AT 2:12 AM
Tiny
ZEMORZEMOR
  • MEMBER
  • 486 POSTS
Yes I did. When I turn the ignition key I can hear the fuel pump but with interruption it like electric interruption.
Was this
answer
helpful?
Yes
No
Tuesday, July 3rd, 2018 AT 9:19 AM
Tiny
ASEMASTER6371
  • MECHANIC
  • 52,796 POSTS
Interruption?
Was this
answer
helpful?
Yes
No
Tuesday, July 3rd, 2018 AT 9:47 AM
Tiny
ZEMORZEMOR
  • MEMBER
  • 486 POSTS
It sounds like bad electricity flow. It is like when you open and close switch rapidly.
Was this
answer
helpful?
Yes
No
Tuesday, July 3rd, 2018 AT 12:15 PM
Tiny
ASEMASTER6371
  • MECHANIC
  • 52,796 POSTS
That is either a low voltage issue as I stated before or a connection problem.

Roy
Was this
answer
helpful?
Yes
No
Tuesday, July 3rd, 2018 AT 12:56 PM
Tiny
ZEMORZEMOR
  • MEMBER
  • 486 POSTS
Is the range sensor and transmission temperature sensor share the same connector? Can you tell me where the transmission temperature sensor connector is at?
Was this
answer
helpful?
Yes
No
Thursday, July 5th, 2018 AT 8:08 AM
Tiny
ASEMASTER6371
  • MECHANIC
  • 52,796 POSTS
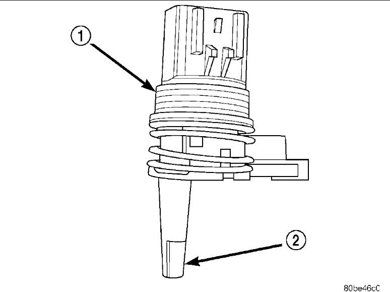
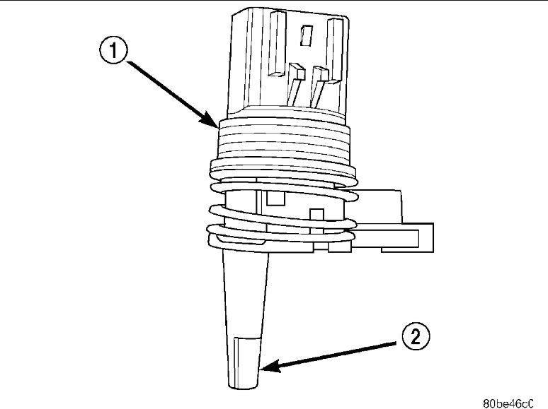
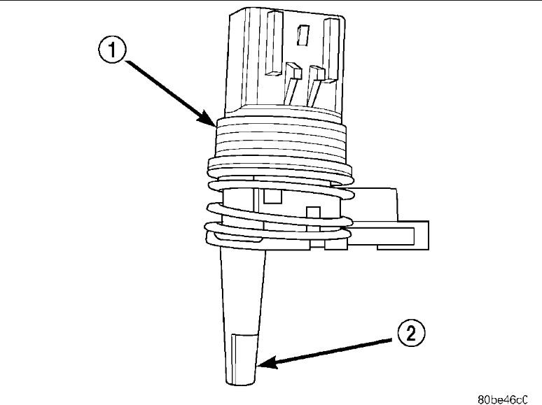
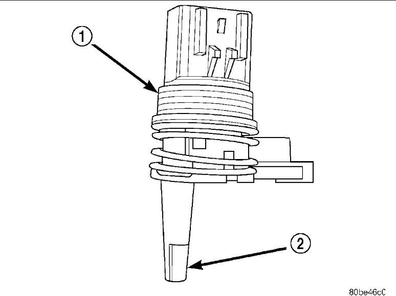
The temperature sensor is part of the range sensor.

Yes, they share the same connector.

Number two in the picture. The rest is the range sensor.

Roy
Was this
answer
helpful?
Yes
No
Thursday, July 5th, 2018 AT 8:17 AM
Tiny
ZEMORZEMOR
  • MEMBER
  • 486 POSTS
How many pins the connector has and which ones are for the temperature sensor?
Was this
answer
helpful?
Yes
No
Thursday, July 5th, 2018 AT 8:19 AM
Tiny
ASEMASTER6371
  • MECHANIC
  • 52,796 POSTS
Diagram attached of the connector and pins.

If you have a scan tool, you can read the actual temp through the scan tool to see if it is working

Roy
Was this
answer
helpful?
Yes
No
Thursday, July 5th, 2018 AT 8:24 AM
Tiny
ZEMORZEMOR
  • MEMBER
  • 486 POSTS
I have a code reader but does not show the transmission temperature. I want to check resistance of the sensor so number four is temperature signal wire and they both sensor shares a ground right?
Was this
answer
helpful?
Yes
No
Thursday, July 5th, 2018 AT 8:30 AM
Tiny
ASEMASTER6371
  • MECHANIC
  • 52,796 POSTS
Code reader is not a scan tool.

Check the resistance from the terminal to a good ground. Since it is a temperature sensor, it will vary according to temperature.

There is no chart for resistance according to temp that I can find. Thats why you need a scan tool to monitor the actual reading and compare to the temp of the fluid with a lazer temp unit.

Roy

Transmission temperature sensor:
The TRS has an integrated thermistor that the PCM/TCM uses to monitor the transmission's sump temperature. Since fluid temperature can affect transmission shift quality and convertor lock up, the PCM/TCM requires this information to determine which shift schedule to operate in. The PCM/ also monitors this temperature data so it can energize the vehicle cooling fan(s) when a transmission overheat condition exists. If the thermistor circuit fails, the PCM/TCM will revert to calculated oil temperature usage.

Calculated temperature:
A failure in the temperature sensor or circuit will result in calculated temperature being substituted for actual temperature. Calculated temperature is a predicted fluid temperature which is calculated from a combination of inputs:
- Battery (ambient) temperature
- Engine coolant temperature
- In-gear run time since start-up
Was this
answer
helpful?
Yes
No
Thursday, July 5th, 2018 AT 8:34 AM
Tiny
ZEMORZEMOR
  • MEMBER
  • 486 POSTS
I thinking there is a problem either at the sensor or its connector, because when code p0882 shows up all the gears P N R 3 2 1 on the dashboard are selected.
Was this
answer
helpful?
Yes
No
Thursday, July 5th, 2018 AT 9:05 AM
Tiny
ASEMASTER6371
  • MECHANIC
  • 52,796 POSTS
Very possible. Wiggle the connector outside the transmission and see if you can recreate the issue.

Roy
Was this
answer
helpful?
Yes
No
Thursday, July 5th, 2018 AT 9:08 AM
Tiny
ZEMORZEMOR
  • MEMBER
  • 486 POSTS
What about measuring voltage instead of resistance? I will t pin the temperature sensor wire and the voltage should rise when temperature rise right?
Was this
answer
helpful?
Yes
No
Thursday, July 5th, 2018 AT 9:22 AM
Tiny
ASEMASTER6371
  • MECHANIC
  • 52,796 POSTS
A sensor work on 5 volts. The PCM will monitor that voltage as the sensor will create a resistance to ground. That is what the PCM looks at.

A voltmeter reading is not a test for this.

That is why you need a scan tool.

Roy
Was this
answer
helpful?
Yes
No
Thursday, July 5th, 2018 AT 9:28 AM
Tiny
ZEMORZEMOR
  • MEMBER
  • 486 POSTS
When all gears are selected on dashboard or the P N R 3 2 1 disappear what does it means?
Was this
answer
helpful?
Yes
No
Friday, July 6th, 2018 AT 8:20 AM

Please login or register to post a reply.