Blown head gasket, coolant leak

Tiny
SANDIFER1998
  • MEMBER
  • 2002 TOYOTA CAMRY
  • 2.2L
  • 4 CYL
  • 2WD
  • AUTOMATIC
  • 150,000 MILES
The coolant in the reservoir is brownish and low, but the coolant in the radiator is bright green and full. When I turn the car on it tends to get hot very quickly but does not overheat. The other day as I was starting it, a squeak was coming from the belt area, but it has not done that since. I am wondering if I have a leak, something is clogged, or the gasket is starting to go bad.
Tuesday, August 21st, 2018 AT 5:34 PM

3 Replies

Tiny
JACOBANDNICKOLAS
  • MECHANIC
  • 110,194 POSTS
Hi and thanks for using 2CarPros.com.

If the coolant in the radiator is green and clean, there is a good chance it is not a head gasket. However, if you are losing coolant and cannot find the leak, it could be a head gasket. With that being said, here are links that describe how to find a coolant leak. Additionally, the second link is how to check for a bad head gasket.

Take a look at these links and let me know if you have questions, need additional information, or just need help.

https://www.2carpros.com/articles/radiator-pressure-test

https://www.2carpros.com/articles/head-gasket-blown-test

Take care,
Joe
Was this
answer
helpful?
Yes
No
Wednesday, August 22nd, 2018 AT 5:13 PM
Tiny
SANDIFER1998
  • MEMBER
  • 2 POSTS
Thank you Joe,
So if the coolant in the reservoir is bad do we need to flush it out? Another issue I was having with my cooling system is the radiator fans do not work, both of them. Even when the AC is on the fans do not turn on. Everything is plugged in, should I get new fans?
Thank you for your reply!
Was this
answer
helpful?
Yes
No
Thursday, August 23rd, 2018 AT 6:27 AM
Tiny
JACOBANDNICKOLAS
  • MECHANIC
  • 110,194 POSTS
Hi again. If the coolant is bad only in the overflow, I would drain it, clean the reservoir and replace the coolant.

As far as the cooling fans, if they are not working, it could be the result of many different things. It could be a blown fuse, bad temperature sensor, bad fan relay, damaged or disconnected wiring, and the list goes on. Do not just replace the fan motors until you are sure they are bad, and yes that can be the problem. Here is a link that describes how they work:

https://www.2carpros.com/articles/how-an-electric-cooling-fan-works

Here is a link that shows in general how to replace the fans.

https://www.2carpros.com/articles/replace-electric-fan-motor

Here are the directions for testing the cooling fan relay specific to your vehicle. Note: you will need a multi meter. I will provide links that show how to use the tools needed at the end of this post. The first two pictures correlate with testing the relay. The relay can be found under the left side of the dash in the relay/fuse box.

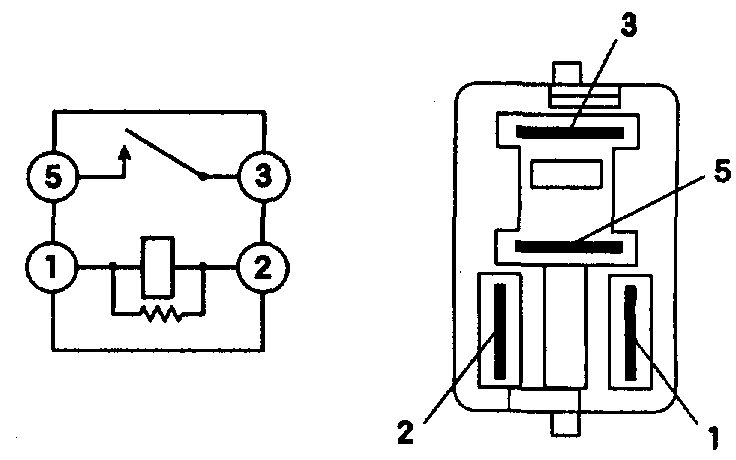
INSPECTION
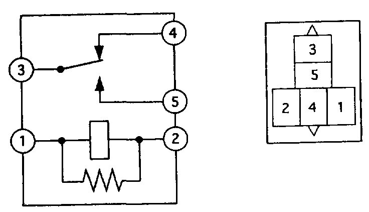
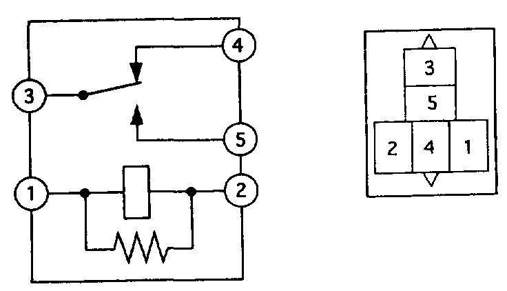
1. COOLING FAN RELAY
COOLING FAN RELAY NO. 3
a. Inspect the cooling fan relay continuity.
1) Using an ohmmeter, check that there is continuity between terminals 1 and 2.
If there is no continuity, replace the relay.
2) Check that there is no continuity between terminals 3 and 5.
If there is continuity, replace the relay.
3) Apply battery voltage across terminals 1 and 2.
4) Using an ohmmeter, check that there is continuity between terminals 3 and 5.
If there is no continuity, replace the relay.
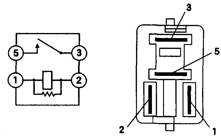
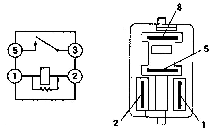
2. COOLING FAN RELAY NO. 2
a. Inspect the cooling fan relay continuity.
1) Using an ohmmeter, check that there is continuity between terminals 1 and 2.
If there is no continuity, replace the relay.
2) Using an ohmmeter, check that there is continuity between terminals 3 and 4.
If there is no continuity, replace the relay.
3) Check that there is no continuity between terminals 3 and 5.
If there is continuity, replace the relay.
4) Apply battery voltage across terminals 1 and 2.
5) Using an ohmmeter, check that there is continuity between terminals 3 and 5.
If there is no continuity, replace the relay.

___________________________________________________

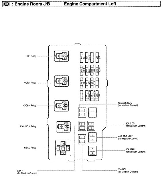
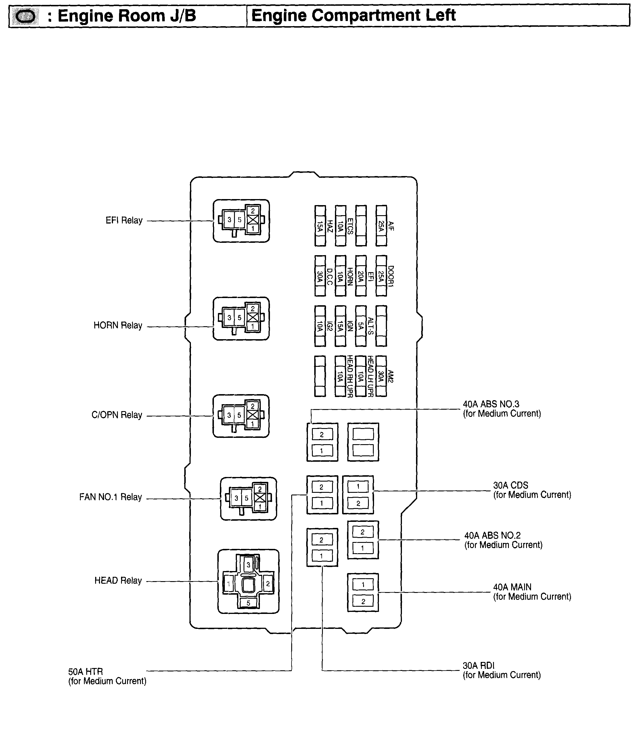
Picture 3 is the fuse / relay box located under the dash on the driver's side. It has the relays that need checked and also, check the 30 amp RDI fuses to make sure they aren't blown.

If the fuses and relays are good, the next thing to do is actually apply power directly to the fan motor connector to determine if it works. However, make sure to check the wiring and connectors to make sure they are in good condition and not corroded when you take the plugs apart.

Here are the links for using a multi meter and checking wiring:

https://www.2carpros.com/articles/how-to-check-wiring

https://www.2carpros.com/articles/how-to-use-a-voltmeter

I hope this helps. It is a bit of a job. Let me know if you have questions or need help.

Take care,
Joe
Was this
answer
helpful?
Yes
No
Thursday, August 23rd, 2018 AT 9:16 PM

Please login or register to post a reply.