Car lock Symbol on does not flash and engine will not run?

Tiny
ROBERTMENKEN
  • MEMBER
  • 2010 CHEVROLET COBALT
  • 2.2L
  • 4 CYL
  • 2WD
  • AUTOMATIC
  • 97,000 MILES
Working on this car, I was trying to install a remote car starter and got it to start and try to crank but no fire. After a while of trying that the car decided to go into car lock mode. The car lock symbol is on it does not flash, the airbag light and brake light are now on as well. There is a clicking from the fuse box in the hood so I replaced a couple fuses and relays and it still will not do anything
wondering if I might have fried the board inside the fuse box? Please any suggestions would help. I have also tried leaving the key in for ten minutes to relearn the key but that did not work.
Friday, January 26th, 2018 AT 3:37 PM

23 Replies

Tiny
CARADIODOC
  • MECHANIC
  • 34,489 POSTS
Before you get all wrapped around the axle, everything you described could be caused by a run-down battery. Thanks to all the unnecessary computers that do things they were never needed for before, a slightly weak battery can cause no cranking at all where it used to cause the common slow cranking. Computers will do weird things when they get confused from low system voltage.

These can help

https://www.2carpros.com/articles/car-cranks-but-wont-start

and

https://www.2carpros.com/articles/how-to-reset-a-security-system

Common observations are "airbag", anti-lock brake", and other warning lights are on. Those computers shut down because they know they cannot properly do their job when system voltage is low, and they turn on their warning lights to tell you. The two most common clues to a run-down battery are multiple warning lights and rapidly-clicking relays.
Was this
answer
helpful?
Yes
No
+1
Friday, January 26th, 2018 AT 5:47 PM
Tiny
ROBERTMENKEN
  • MEMBER
  • 7 POSTS
The relays do not rapidly click just once when you turn the key.
I have taken out the battery and let it charge on two amp for an entire day and then plugged it back in and tried to start it, after still not working the battery went from fully charged to basically drained except for the light. Drained battery? Or short in wiring somewhere?
Was this
answer
helpful?
Yes
No
Saturday, January 27th, 2018 AT 2:49 PM
Tiny
CARADIODOC
  • MECHANIC
  • 34,489 POSTS
I suspect you are staring the problem in the face, but we are not seeing it. A good battery cannot go drained that quickly. A pair of head lights will drain a fully-charged battery in about two hours, and that is a pretty significant drain. If yours is going drained real quickly, it either has a shorted cell or there is a bad cable connection.

Once you are done charging the battery, put a small load on it for about five seconds, then measure its voltage. Turn the head lights or heater fan on for a few seconds. That will remove the "surface charge" which would cause a false reading. Once that surface charge is removed, the battery should measure 12.6 volts if it is good and fully-charged. It will measure close to 12.2 volts if it is good but fully-discharged. If you find around 11 volts, it has a shorted cell and must be replaced. If the voltage is okay, that only means it is okay to perform a load test on it. You will need to visit a shop that has a load tester. Most auto parts stores can do that for you, but remember, they are in business to sell batteries, so they have an interest in finding your battery "bad".

Besides the shorted cell which shows up as that eleven volts I mentioned, batteries also age by the lead flaking off the plates. When enough of that happens, that is when it builds up in the bottom of the case and shorts that cell. Before it gets that bad, any lead that flakes off is no longer part of that battery, so it loses its capacity. It could still crank the engine fast enough to start, but in this case it will be able to do that for a shorter and shorter period of time. This is where a recently-charged battery can run drained in just a few minutes with a light load, like when running the radio. This will show up on the load tester as an inability to supply one half of the "cold cranking amps" listed on the sticker on top. That is the standard load test, for fifteen seconds. The operator will set the tester to draw the correct amount of current, for fifteen seconds, then the voltage must not drop below 9.6 volts. I apologize if you know this already.

If the battery is okay, we may need to perform some voltage drop tests on the battery cables and connections. I will describe that if it becomes necessary.
Was this
answer
helpful?
Yes
No
Saturday, January 27th, 2018 AT 3:20 PM
Tiny
ROBERTMENKEN
  • MEMBER
  • 7 POSTS
The car does not even try to crank it just shows the car lock symbol the brake light and the air bag light and the head lights turn on and the radio and that is it except the trunk light.
Really hoping it is the battery however I have my doubts, if you could go into detail about the voltage drop testes on the fuse panel that would be greatly appreciated.
Was this
answer
helpful?
Yes
No
Saturday, January 27th, 2018 AT 3:27 PM
Tiny
ROBERTMENKEN
  • MEMBER
  • 7 POSTS
Was also thinking the BCM, but not sure how to test it. The fuses for it are still good though.
Was this
answer
helpful?
Yes
No
Saturday, January 27th, 2018 AT 3:28 PM
Tiny
CARADIODOC
  • MECHANIC
  • 34,489 POSTS
Are you saying the trunk light does not work? If so, a blown fuse is a good suspect. They often blow from the current surge when connecting the battery or even when connecting jumper cables. The problem is on newer cars the lights are usually run by a computer and those can start to shut down some functions when system voltage is low.

This miserableness also applies to the starter relay, as I briefly mentioned earlier. On older cars, a weak battery caused the starter to crank the engine too slowly. With the addition of computers, with low system voltage, the computer may refuse to turn on the starter relay, resulting in a no-crank condition. The engineers found a solution where there was no problem when they added an unnecessary computer to the starter system.

Voltage drop tests are only done in high-current circuits like for starters and generators. The starter can crank the engine too slowly to start if there is as little as 0.04 ohms of resistance in a connection. Resistances that small are impossible to measure with standard ohm meters, but we can measure the results of that resistance by measuring how much voltage drops across it when current is trying to flow through that connection. You can measure the voltage drop in an entire part of the circuit, such as the entire positive battery cable, or across just one connection.

First let me explain what would happen if we did this the wrong way. There must be current trying to flow through the connections. A good way to force that is to turn on the head lights. Now current is flowing and we can measure the voltage at various places. Start with your negative meter probe right on the battery's negative post. If you have a side-post battery, this test becomes less-effective, but put the probe on the center-bolt head. Put the positive meter probe on the positive battery post. You should find 12.6 volts. Assuming you have a normal battery, move the positive probe from the positive post to the cable clamp on that post. You only moved it 1/2", and it's the same point in the circuit, so you should still measure 12.6 volts. If there is excessive corrosion between the post and cable clamp, you might find 12.5 volts here, but there is another problem. While you are doing this, the battery is running down. Any second, or third reading is going to be lower.

Instead, these problems can all be solved by putting one meter probe on the positive battery post, and the other probe on the positive battery cable clamp. Those are both the same point in the circuit, meaning they should have the same voltage, meaning the difference between them should be 0.000000 volts. In fact, when a little resistance is in that connection, voltage will be dropped across it, and that is the voltage you are measuring directly now. This voltage will not be affected by the battery running down.

The issue now is this test is normally done when there is a slow-cranking problem. Starters can draw over 150 amps. Head lights are not going to draw enough current, but I will share the values anyway for the starter system. During cranking, when that 150 amps is trying to flow, you must not find more than 0.2 volts where you are measuring right now, or across any other connection, and, you must not find more than 0.4 volts drop across the entire positive circuit, meaning that cable, down to the starter, and no more than 0.4 volts across the entire negative circuit, meaning the cable bolted to the engine. On most cars there are only two connections in each circuit. The exception was on older Fords that had the starter solenoid on the fender. Those had a whole pile of connections in the positive circuit. You are still allowed no more than 0.4 volts in the entire positive circuit.

When doing this with only the head lights turned on, current flow will be much less, so voltage drop across a connection will be less, but the point is, if you find anything other than 0.00 volts, suspect that connection needs to be cleaned and tightened.

Describing this test takes a real lot longer than actually doing it, and it sounds overly-complicated, but it is really just a quick way of identifying or eliminating the cause of a problem. If it helps, think of this as measuring water pressure in a garden hose. If you start with fifty pounds of pressure at the faucet, you will have fifty pounds of pressure at the nozzle, as long as the nozzle is turned off. Now, if you add some resistance by standing on the hose, you will still have fifty pounds at the nozzle, as long as the hose is not one hundred percent blocked. The problem is just like a battery does not do any work when it is just sitting there, the hose does not do anything until you open the nozzle. Now, when water, (current) is trying to flow, you are going to have lower pressure after your foot. We could measure the pressure at the faucet, then at the nozzle, then calculate the difference, but since we are emptying out the municipal water tower, the pressure at the faucet might have dropped to, ... Say, ... Forty five pounds. Your reading at the nozzle is going to be lower, regardless. Instead, we put the pressure gauge on both sides of your foot, then take just one reading. The reading shows how much pressure, (voltage), is dropped across the restriction, (resistance), and the starting pressure at the faucet is not a factor, even though it is changing.
Was this
answer
helpful?
Yes
No
+1
Saturday, January 27th, 2018 AT 4:19 PM
Tiny
ROBERTMENKEN
  • MEMBER
  • 7 POSTS
Wow, thank you so much. I definitely will try this in the morning and report back. You have been a big help. Any idea on testing the BCM? Just in case.
Was this
answer
helpful?
Yes
No
Saturday, January 27th, 2018 AT 5:27 PM
Tiny
CARADIODOC
  • MECHANIC
  • 34,489 POSTS
Nope. That can only be done by the manufacturer and their authorized repair centers. We have to approach these the same way I tested integrated circuits in tv's and vcr's. First you have to verify all the power supplies are there. For computers in a car, that means twelve volts on a minimum of one wire when the ignition switch is off, and a minimum of one other wire when the switch is on. It is common to find four twelve volt supplies to an engine computer.

Next is to verify the ground wires. As with the tiny resistances in the battery cables, it is not sufficient to just measure the wires with an ohm meter. Instead, while that computer is powered up and running, measure the voltages on those wires. On Chrysler engine computers, there are two "signal" ground wires for the sensor circuits, and two "power" ground wires for the stuff that has pulsing high current, like injectors and ignition coils. The reason is if there is just a little corrosion and resistance in the ground wire, that will result in a slight voltage drop, and that voltage drop will jump higher each time an injector or coil is fired. That tiny voltage means nothing to those circuits, however, if you put those few hundredths of a volt on the ground wire for the sensors, that will raise their signal voltages, and you will see those pulses in their signals. A few hundredths of a volt can mean a real lot to some sensor readings. For that reason, they want sensors being grounded independently of the more tolerant high-current stuff. There is just two of each ground wire in case one gets a bad connection. You will find that most GM and other brand computers also have multiple ground wires.

Once the power supplies and grounds are verified to be okay, you have to look at the inputs. There is no better way to do that than with a scanner. It is way too time consuming and tedious to find each wire on the wiring diagram, then on the computer, then take the voltage reading, and interpret it.

If you have power supplies, grounds, and inputs, you will get the correct outputs, if the computer, or integrated circuit, is okay. There is just one more stipulation. There cannot be any defects in the output circuits. For example, if a line leading out of the integrated circuit goes to a transistor that is shorted, that circuit cannot be run by the IC. If you have a wire to a solenoid or relay, for example, that is rubbed through and grounded, it cannot work either. The luxury we have with cars is the computer will usually detect a defective condition in an output circuit and will set a diagnostic fault code to tell us where to look.

With the scanner, you can see the state the inputs are in that the computer sees. On a Chrysler engine computer, when you see 210 degrees for the coolant temperature sensor, you know it should be turning on the radiator fan relay. On any engine computer, you should find the throttle position sensor voltage close to 0.50 volts at idle and 4.5 volts at wide-open-throttle. Those are examples of inputs that you will become real familiar with. The scanner will also show what the computer is doing with the outputs, typically meaning turning something on or off. If you expect to see it turn on a solenoid, but that does not happen, first we would check that circuit for a wire that is cut or grounded, or a bad part, but again, that will usually be detected for us by the computer.

The scanner also gives us the ability to command a computer to run an output circuit so we can do testing in that circuit or verify it is working. One common example is to command the engine computer to turn on the radiator fan. That lets us test its operation with a cold engine, and without even having to run the engine. For your body computer, you can activate door locks and interior lights. That will prove those functions are working in the computer. If the dome lights do not turn on when you open a door, you know it is the input circuit you have to look at. If you see on the scanner the computer recognizes a door is open, (input), but it does not turn on the lights, (output), that is the time to suspect the computer.
Was this
answer
helpful?
Yes
No
Saturday, January 27th, 2018 AT 6:20 PM
Tiny
ROBERTMENKEN
  • MEMBER
  • 7 POSTS
Alright well, when the car first started to not work I found two 30 amp cooling fan fuses blow. Is that a sign that the engine computer is bad? I did replace them to no avail. They have not blown since.
Was this
answer
helpful?
Yes
No
Saturday, January 27th, 2018 AT 7:04 PM
Tiny
CARADIODOC
  • MECHANIC
  • 34,489 POSTS
Nope. Those would be protecting the radiator fan motor. The computer simply turns on the fan relay. It is the relay that handles that high current, not the computer. GM often uses a two or three-speed system for their fan motors. I suspect you have a two-speed. The common cause of blown fuses is the motor has tight bearings and must be replaced. You can verify that by spinning the fan by hand. It should coast for many revolutions. If the bearings are tight, it will stop spinning the instant you let go of it.

Generators need three things to work; a coil of wire, a magnet, and most importantly, movement between them. When you drive the generator with a belt, it develops its current.

Guess what? Inside a fan motor, (and a starter motor), is a coil of wire, a magnet, (an electromagnet), and when it is running, movement. To simplify that wondrous statement, a spinning motor acts like a generator. We cannot measure the current it develops, but it is less than the current that's running the motor, and it opposes that current that's running it. Your fan motor might draw 35 amps when it is standing still, but once it comes up to speed, lets say it develops 15 amps that opposes current coming from the battery. That means actual current flow drops to 20 amps, which is a safe and normal current for a fan motor.

When the bearings become tight, the motor slows down, and with less movement, less reverse current is generated. That means current flowing through the fuse and motor goes up, often to the point the fuse blows. The motor is not shorted, but being tight makes it draw higher current. The confusing part is now that it is drawing higher current, the electromagnets become stronger, so the motor becomes stronger, often to the point it appears to be running at normal speed.
Was this
answer
helpful?
Yes
No
Saturday, January 27th, 2018 AT 9:07 PM
Tiny
ROBERTMENKEN
  • MEMBER
  • 7 POSTS
So new battery to no avail, as soon as I plugged new battery in and went to turn the key I then went back to trunk and hooked up battery charger and the charger said the battery was below 50% after I just charged it. Thinking a short somewhere. Any more ideas? Really do not want to spend the money to have it towed to garage. Anything easy to check to rule out anything would be fantastic?
Was this
answer
helpful?
Yes
No
Sunday, January 28th, 2018 AT 11:02 AM
Tiny
CARADIODOC
  • MECHANIC
  • 34,489 POSTS
I do not really get along with battery chargers that try to tell me stuff. My friend has one in his shop that I do use, but the automatic stuff causes more problems than it solves. At home I just use the older stuff that you clamp on and turn it on. What has happened to me, if I am not paying attention, is one of the clamps makes poor contact with the post. I will come back an hour later to find the battery is still drained.

If your charger has a digital readout, you may need to bypass something to get it to charge the battery. Two things can happen here. To explain first, it is easier to understand that if the municipal water tower in your town has fifty pounds of pressure in it, the pump has to develop more than fifty pounds of pressure if it is going to push water up there. The same is true of charging the battery, whether it is with the car's charging system or a battery charger. With my sad water pump story, if the pump could develop sixty pounds, and you took away the storage tower, pressure in the pipe would shoot instantly to sixty pounds. With the tower, pressure would rise gradually, over time, but at first it would still be fifty psi.

Your battery charger provides a less-steady, pulsing voltage that bounces from 0 volts to around 18 volts. The battery it's hooked to smooths that out to around 13.75 volts. That is what most over-complicated, technology-dripping chargers look for. When they see that correct charging voltage, they turn on and really get going at pushing electrons into the battery's plates. When you have a bad connection on one of the clamps, it is like taking the water tower away. The charger's voltage can pulse up to 18 volts, then down to 0 volts. Depending on how the circuitry was designed, the 0 volts could tell it it is not connected to a battery, or the 18 volts could tell it the battery is severely over-charged. Either condition tells it to stop charging. If you do not catch that, or if the clamp becomes loose while you are gone, the battery will not be getting charged.

The second potential problem is there will be sparks if you connect or disconnect the charger while it is putting out that high voltage. To avoid exploding the hydrogen gas batteries give off, you are supposed to connect and disconnect the cables only when the charger is off. Some high-class older chargers from the 1960's, and I suspect some of the newer ones today, turn on automatically once they see they are connected to the battery. Even when the battery is run down, the charger will see eleven to twelve volts when it is connected, and that tells it to start charging when you turn it on. If you have a bad connection on one of the charger's clamps, the charger will not see the eleven to twelve volts, it will assume it's not connected, and when you turn it on, it will not charge. Once it has gone to that "do not charge" mode, and then you wiggle the bad connection, it is too late. The charger has already given up. You might think it is charging, but you may need to turn it off, then back on to reset it. This is where the technology can bite us.

With a regular charger, when wiggling the cable gets it going, you will see the current jump up on the amp meter. If you have one of these more friendly chargers, the current meter is the easiest way to know what is going on. If the battery is totally drained, the charger will need some time to push electrons into the acid before that acid becomes conductive. That can take as much as fifteen minutes, then the electrons will start to get packed into the lead plates where they are stored. You will see the amp meter stay close to 0 amps, then slowly rise until the battery is charging. Current should be limited to around no more than 20 amps to avoid overheating the plates. Once the battery reaches full charge, its voltage will rise to match that of the charger, so current will drop. Consider the battery fully-charged when current drops to five amps. It will never drop much lower than that, but it is not putting any more electrons in the plates.

As a side note, batteries should never be charged at a high rate, to avoid an early failure. Alternators put out three-phase current which is very smooth and steady. This equates to a three-piston water pump. When two pistons are taking a gulp of water, one of them is always producing some pressure and flow, so the pressure in the pipe is smooth and steady. It it was a single-piston pump, you would get a pulse, a gap, a pulse, etc, and pressure would be pulsating badly. With the alternator's three-phase output, current is flowing very smoothly into the battery's plates. The amount of that current is determined by the voltage difference between the battery and the alternator. That difference is small, only one or two volts.

Battery chargers are not so nice to batteries. If you understand how house current is a sine wave, the chargers use diodes, (rectifiers), just like those in an alternator, to flip over the negative part of the sine wave. The result is you get a pulse of current flow that starts at 0 volts, rises to around 18 volts, then drops back to 0 volts before repeating. Instead of that one or two-volt difference between the battery and the alternator, and its resulting smooth current flow, you have current that pulses from 0 amps to very high amps, 120 times per second. The meter on the charger only shows the average current flow. That hard pulsing vibrates the battery's plates. The lead flakes off the plates on all batteries over time. The manufacturers know how quickly that is going to happen, and they offer warranties as long as possible to take advantage of that. On older batteries, more of that lead will be loose and ready to flake off. Charging with a battery charger makes that happen faster when it is charged at higher rates. You are likely to not have a battery fail right after charging it at a high rate, but doing that might shorten its life by maybe four to six months.

I do not know what automatic chargers are looking at to determine the condition of a battery other than its voltage. You can do that yourself with an inexpensive digital voltmeter. A fully-charged battery will measure 12.6 volts. If it is run draine, it will be closer to 12.2 volts. That is simply the state of charge for the lead still on the plates. How many electrons are in storage is determined by how much lead is still on the plates. The condition of those plates can be measured with a load test, but you need a professional load tester for that. All repair shops have them. Every battery has a sticker on top that lists the standardized "cold cranking amps, (CCA), rating. The tester is adjusted to draw one half that amount of current for 15 seconds. At the end of the fifteen seconds, voltage must still be at least 9.6 volts. Your car's starter draws less than the amount during the test, so a battery that passes should be able to start your engine.

Be aware that since batteries are a chemical reaction, and those slow down when cold, batteries can lose about half of their power in real cold climates. Add to that engine oil gets thicker and makes an engine harder to crank when it is cold, and you might need four times the battery to start a cold engine in winter than it takes to start that same engine in summer.
Was this
answer
helpful?
Yes
No
Sunday, January 28th, 2018 AT 5:29 PM
Tiny
LE CHEN
  • MEMBER
  • 4 POSTS
  • 2009 CHEVROLET COBALT
  • 4 CYL
  • 2WD
  • AUTOMATIC
  • 146,000 MILES
Thank you all for reading this post.
My car has been running flawlessly for years until two months ago. It refused to start when I parked my car at a mountain top with very low fuel. After adding two or three gallons of fuel, I managed to drive it back home. I immediately topped the gas tank then the nightmare started. It constantly stalled and struggled to start.
The local auto shop diagnosed the car then replaced the fuel filter, crankshaft sensor, and camshaft sensor. The car ran well for two days, then the same issue reappeared. The shop replaced the sensors again, as they suspect the replacement parts can be faulty. This time my car lasted for a month. Finally, the auto shop told me they could not figure out why.

So, here are symptoms of my car:

1. I managed to start the car initially, now it shut off completely.
2. The engine cranks but the car will not start.
3. When the key is on, the fuel pump does not prime, and there is no control signal on the fuel pump relay.
4. When I applied 12v to the fuel pump relay control pin, the pump runs and good fuel pressure was tested. I cranked the engine, still no start, only to smell unburned gas.
5. This indicates that the vehicle lost fuel and spark at the same time, and a bad crankshaft sensor seems to make sense.
6. But then what can make the sensor go bad frequently?
Any sort of help is greatly appreciated!
Was this
answer
helpful?
Yes
No
Wednesday, July 29th, 2020 AT 12:18 PM (Merged)
Tiny
SCGRANTURISMO
  • MECHANIC
  • 4,897 POSTS
Hello,

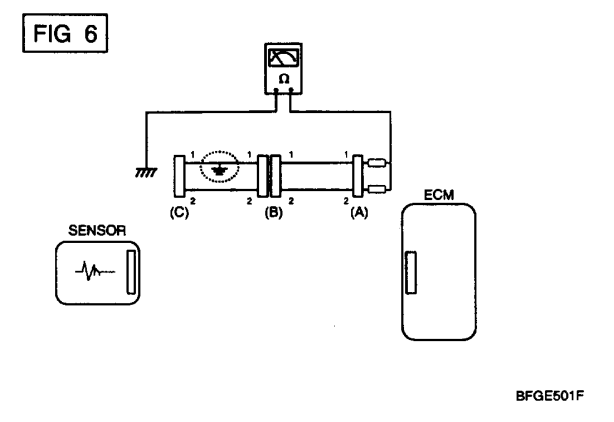
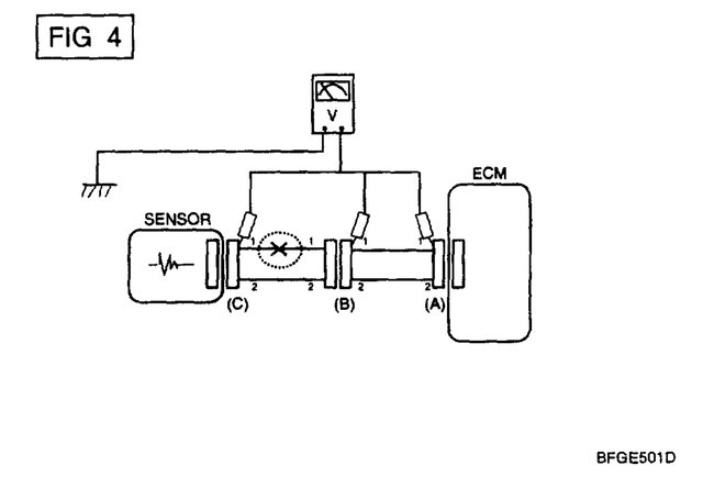
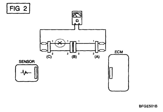
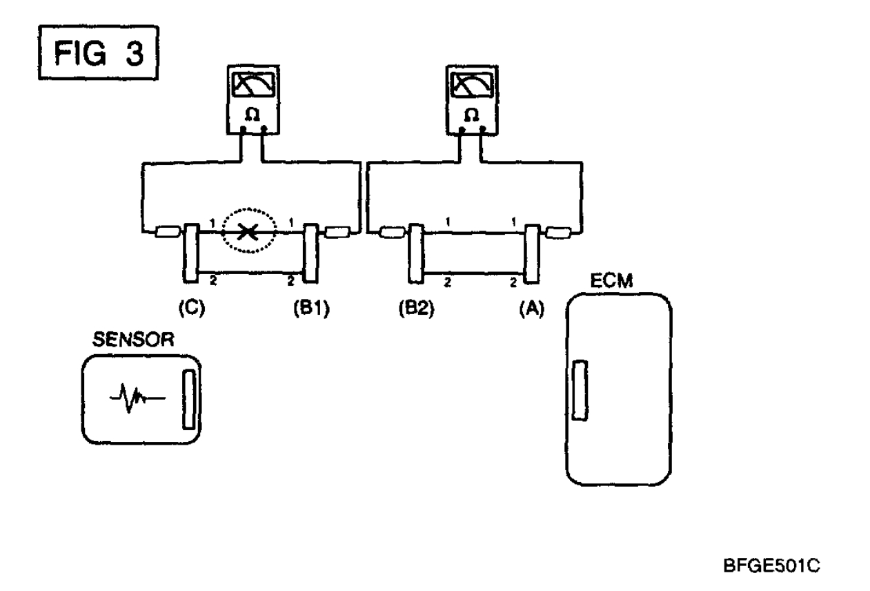
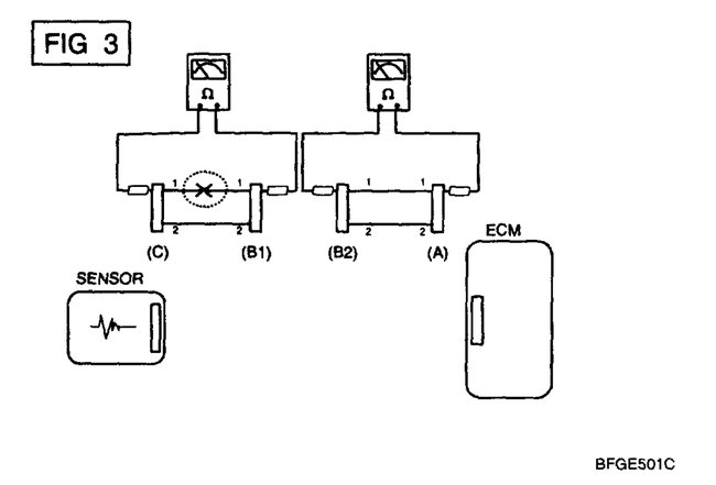
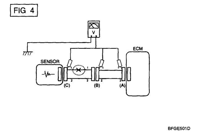
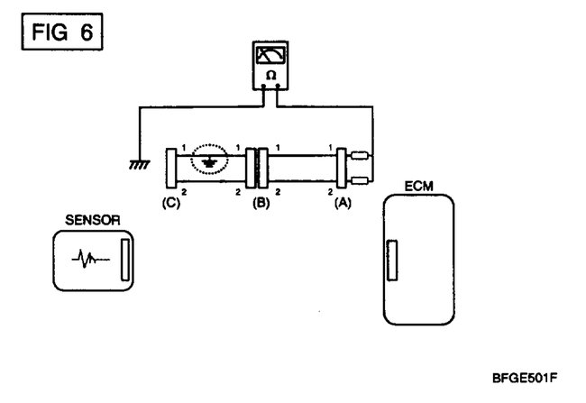
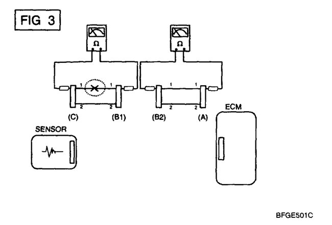
The fuel pump relay ground it probably bad. This is the ground on the coil and the other side should be coming from a switched power supply. The crankshaft sensor is probably good, but did the shop check the connector and the wires going to the Power-train Control Module (PCM)? This could very well be the problem. In the diagrams down below I have included wiring diagrams for you to check the CKP wires for damage as well as instructions for checking for an open, short circuit, and ground inspections on your vehicle's CKP circuit and fuel pump relay. Also here is a link on how to test a relay properly:

https://www.2carpros.com/articles/how-to-check-an-electrical-relay-and-wiring-control-circuit

Please go through these guides and get back to us with what you are able to find out.

Thanks,
Alex
2CarPros
Was this
answer
helpful?
Yes
No
+2
Wednesday, July 29th, 2020 AT 12:19 PM (Merged)
Tiny
LE CHEN
  • MEMBER
  • 4 POSTS
Hi Alex, thank you so much for this very informative response. I will let you know once I find out more information. Lots of thanks!
Was this
answer
helpful?
Yes
No
Wednesday, July 29th, 2020 AT 12:19 PM (Merged)
Tiny
KEN L
  • MASTER CERTIFIED MECHANIC
  • 55,481 POSTS
SCWICKEDSTANG is one of our best! Please let us know what you find. We are interested to see what it is.
Was this
answer
helpful?
Yes
No
Wednesday, July 29th, 2020 AT 12:19 PM (Merged)
Tiny
LE CHEN
  • MEMBER
  • 4 POSTS
Hi 2carPro friends,

Here is an update on the above issue. A mechanic helped me diagnosed the vehicle. Confirmed there was ignition spark, just fuel pump not running. So he replaced the fuel pump. Still not running. Switching fuel pump relay did not help.
Honestly, to troubleshoot circuit issues as Alex suggested requires a more advanced skill level. So he came up with a simple fix -- jumped a wire to bypass the fuel pump relay -- fuel pump shuts off when the key is off.
Yes, there is still a circuit issue which causes the fuel pump relay not getting control signal.
I asked another experienced mechanic whether he can fix the issue, he said this issue could be related to the "engine computer" which can only be reprogrammed at the dealers.
So far my vehicle runs perfectly. No engine light or any type of error codes.
Both mechanics told me it should be fine with the current solution.
What do you guys think? Any potential risk for bypassing the fuel pump relay?

Thank you for any kind of input!
Leo
Was this
answer
helpful?
Yes
No
Wednesday, July 29th, 2020 AT 12:19 PM (Merged)
Tiny
SCGRANTURISMO
  • MECHANIC
  • 4,897 POSTS
Hello again,

I have done the same thing in my vehicle. I have a 1997 Ford Mustang GT and the fuel pump relay is contained in what is called the Constant Control Relay Module (CCRM) that also holds the PCM relay and both the high and low speed fan relays. So when I had an issue with the fuel pump relay, I simply ran a new relay, using the high amperage wire from the Under hood Fuse Box and a switched power line from the Instrument Panel Fuse Box via a fuse tap. Just like yours, when the ignition key is in "run" or "start" the fuel pump is getting power and is running, and as soon as the ignition switch is turned off, the relay also turns off. Works great.

Thanks,
Alex
2CarPros
Was this
answer
helpful?
Yes
No
Wednesday, July 29th, 2020 AT 12:19 PM (Merged)
Tiny
LE CHEN
  • MEMBER
  • 4 POSTS
Hi Alex, what you've shared is really helpful. Lots of thanks!
Was this
answer
helpful?
Yes
No
Wednesday, July 29th, 2020 AT 12:19 PM (Merged)
Tiny
EDWOOLFOLK
  • MEMBER
  • 2 POSTS
  • 2009 CHEVROLET COBALT
  • 4 CYL
  • FWD
  • MANUAL
  • 8,000 MILES
Had a minor fender bender and now the car won't start.
It was parked for a while so battery was charged but it cranks without starting. Has spark and the fuel rail has gas in it. That's as far as I got. Is there an inertia switch?
I'm stumped.

Thank you, Ed
Was this
answer
helpful?
Yes
No
Wednesday, July 29th, 2020 AT 12:19 PM (Merged)

Please login or register to post a reply.