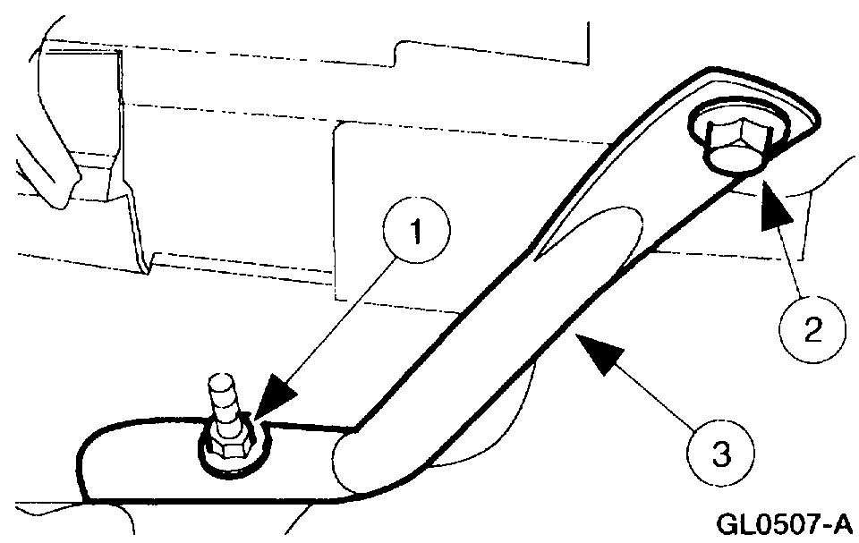
You need to rotate the white shaft to the same position as the old one. It will turn but maybe a little stiff.
Once you install it the actuator must be calibrated.
Note: Because the battery has been disconnected as part of the removal procedure the HVAC module will initialize and calibrate the actuators when the ignition switch is switched to the "on" position. The purpose of the module actuator position calibration is to allow the HVAC module to reinitialize and calibrate the actuator stop points. Calibration of the actuators will take approximately thirty seconds.
Turn the ignition switch to the "on" position and wait thirty seconds before verifying correct temperature blend door actuator operation.
Roy
Was this helpful?
Yes
No
Thursday, April 15th, 2021 AT 12:34 PM
(Merged)






















