Acceleration problem - Engine low power?

Tiny
CCANEZ
  • MEMBER
  • 2015 NISSAN SENTRA
  • 4 CYL
  • AUTOMATIC
  • 40,000 MILES
Use car to travel, all highway miles (40,000). While driving on the highway I pulled into a drive through for a drink. Upon returning to the highway my car would not accelerate quickly. My rpm's went up to about 3500 and only 40-50 mph. I then pulled over and sat for a few minutes, started my car and it drove like normal again. I have had my master air flow cleaned in the past. Is this a problem in correlation to my MAF or is this sounding like transmission?
Friday, September 2nd, 2016 AT 7:28 PM

29 Replies

Tiny
HMAC300
  • MECHANIC
  • 48,601 POSTS
This sounds like the car is going into limp mode which could be due to a dirty throttle body these guides should help us fix it.

https://www.2carpros.com/articles/reduced-power-limp-mode

and

https://www.2carpros.com/articles/throttle-actuator-service

and

https://www.2carpros.com/articles/engine-has-low-power-output

Please run down these guides and report back.
Was this
answer
helpful?
Yes
No
Saturday, September 3rd, 2016 AT 6:43 AM
Tiny
TERESA ROBERTS
  • MEMBER
  • 1 POST
  • 2013 NISSAN SENTRA
  • 4 CYL
  • 2WD
  • AUTOMATIC
  • 85,000 MILES
Starts fine, drives for a short distance, revs up and then completely loses acceleration. Once I've stopped for a few seconds, then it accelerates fine again after a short stall, except runs at 4-5 rpms, depending on speed.
Was this
answer
helpful?
Yes
No
+1
Friday, August 28th, 2020 AT 9:34 AM (Merged)
Tiny
JACOBANDNICKOLAS
  • MECHANIC
  • 110,194 POSTS
Hi and thanks for using 2CarPros.

Honestly, my first suspect is fuel pressure. However, if the check engine light is staying on when the engine is running, you should scan the computer to determine what diagnostic trouble codes are stored. Here is a quick video showing how that is done:

https://youtu.be/YV3TRZwer8k

I realize most people don't own a scanner. In that case, most parts stores will do it for free. If the light is on, have that done and let me know what you find.

Next, I would suggest checking fuel pressure. Here is a link that shows how it is done in general. What I have seen over the years is when the pressure gets too low, it changes the air fuel mixture in the engine. I have seen them rev high when this happens.

https://www.2carpros.com/articles/how-to-check-fuel-system-pressure-and-regulator

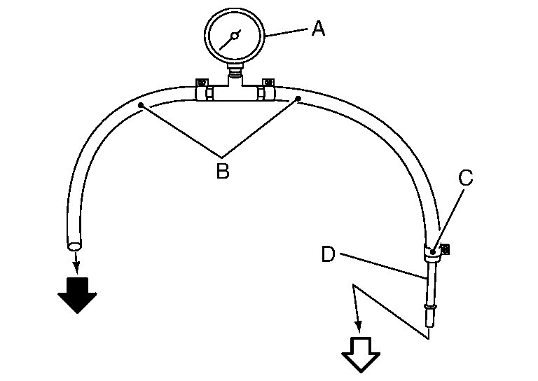
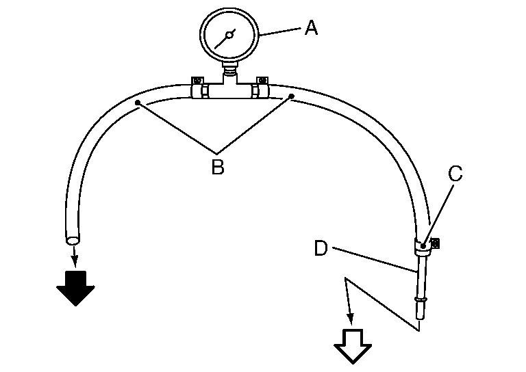
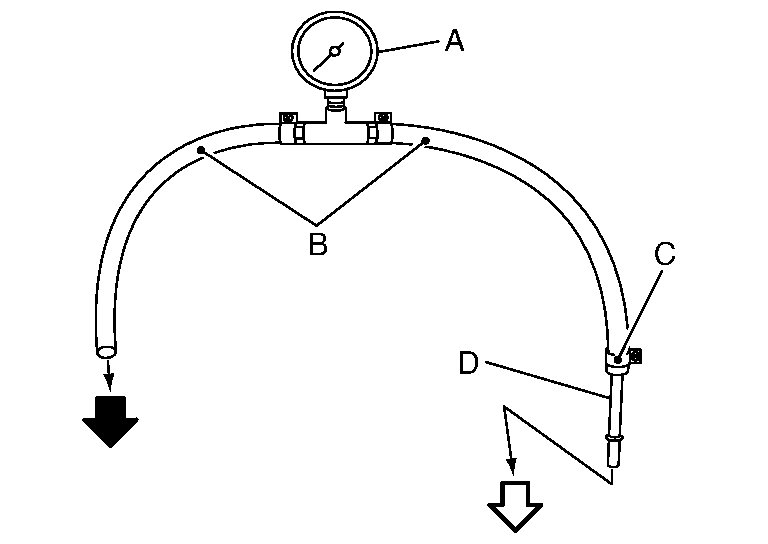
Here are the directions for testing fuel pressure specific to your vehicle. The attached pictures correlate with these directions.

____________________________

FUEL PRESSURE

Work Procedure

FUEL PRESSURE RELEASE

1. FUEL PRESSURE RELEASE

With CONSULT
1.Turn ignition switch ON.
2.Perform "FUEL PRESSURE RELEASE" in "WORK SUPPORT" mode of "ENGINE" using CONSULT.
3.Start engine.
4.After engine stalls, crank it two or three times to release all fuel pressure.
5.Turn ignition switch OFF.
Without CONSULT
1.Remove fuel pump fuse located in IPDM E/R.
2.Start engine.
3.After engine stalls, crank it two or three times to release all fuel pressure.
4.Turn ignition switch OFF.
5.Reinstall fuel pump fuse after servicing fuel system.
- END

FUEL PRESSURE CHECK

CAUTION:
- Before disconnecting fuel line, release fuel pressure from fuel line to eliminate danger.
- The fuel hose connection method used when taking fuel pressure check must not be used for other purposes.
- Be careful not to scratch or put debris around connection area when servicing, so that the quick connector maintains sealability with O-rings inside.
- Do not perform fuel pressure check with electrical systems operating (i.e. lights, rear defogger, A/C, etc.) Fuel pressure gauge may indicate false readings due to varying engine load and changes in manifold vacuum.
NOTE:
Prepare pans or saucers under the disconnected fuel line because the fuel may spill out. The fuel pressure cannot be completely released because this models do not have fuel return system.

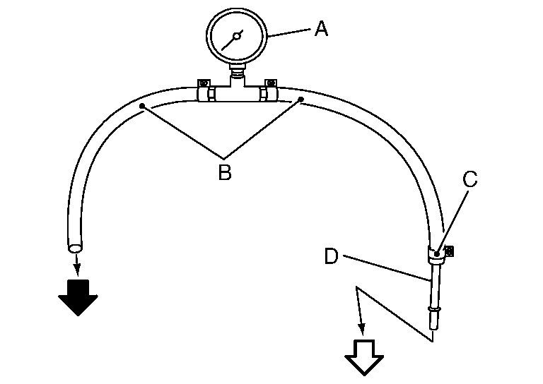
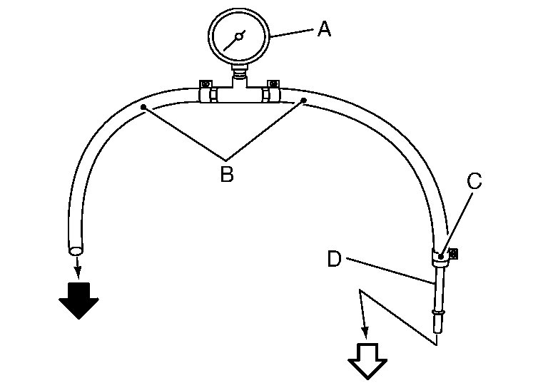
1. FUEL PRESSURE CHECK

1.Release fuel pressure to zero.

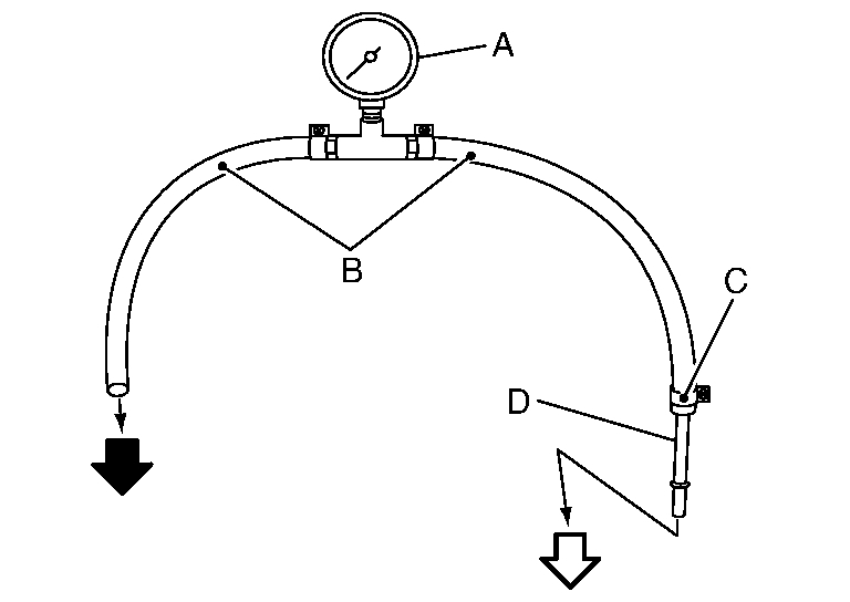
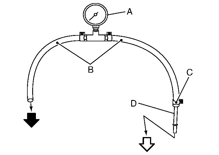
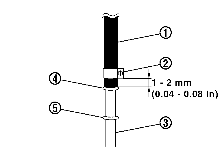
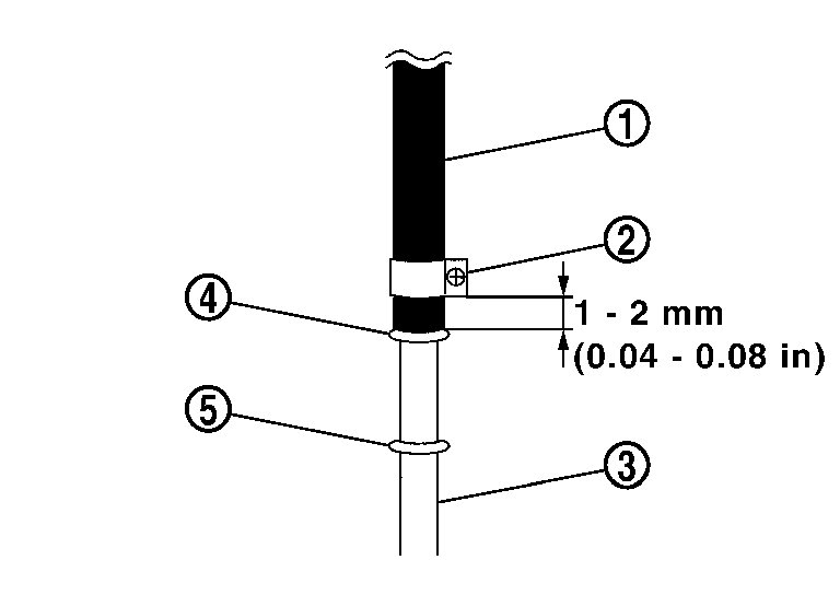
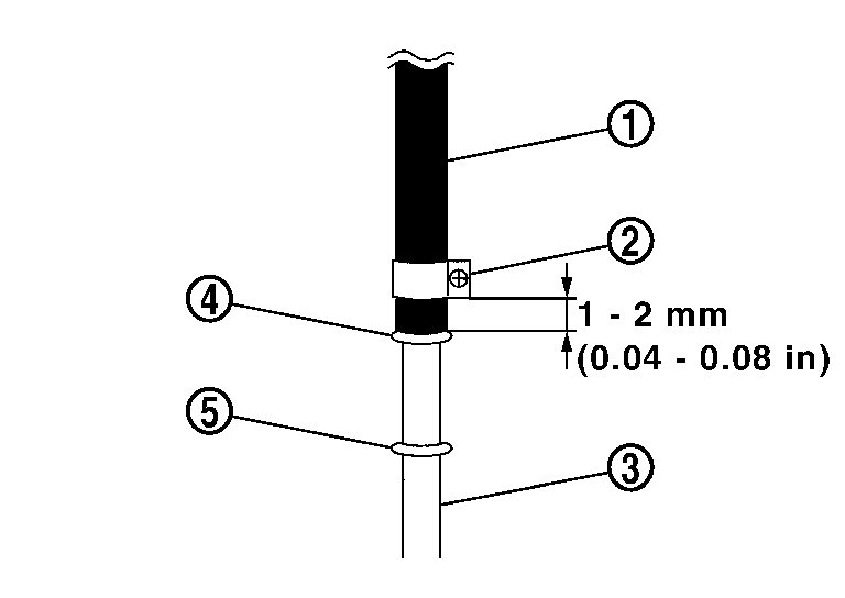
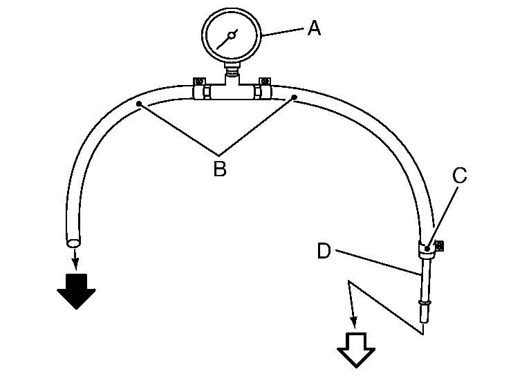
Picture 1

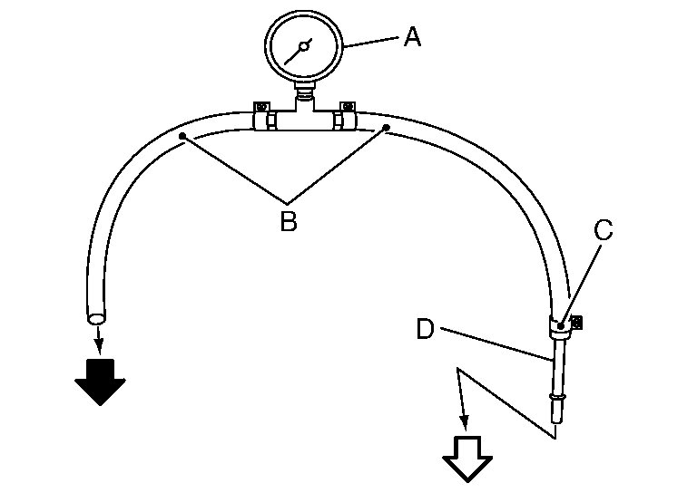
2.Prepare fuel hose for fuel pressure check (B) and fuel tube adapter [SST: KV1011840] (D), then connect fuel pressure gauge (A).

Picture 2

CAUTION:
- Use suitable fuel hose for fuel pressure check (genuine
NISSAN fuel hose without quick connector).
- To avoid unnecessary force or tension to hose, use moderately long fuel hose for fuel pressure check.
- Do not use the fuel hose for checking fuel pressure with damage or cracks on it.
- Use Pressure Gauge to check fuel pressure.
3.Remove fuel hose.

CAUTION:
Do not twist or kink fuel hose because it is plastic hose.

Picture 3

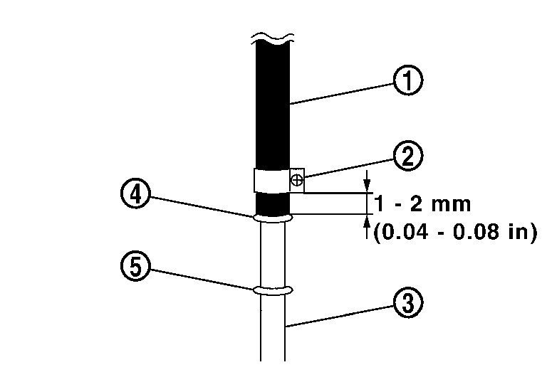
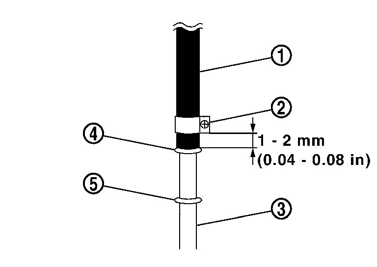
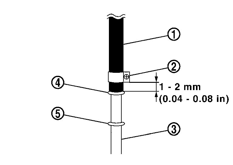
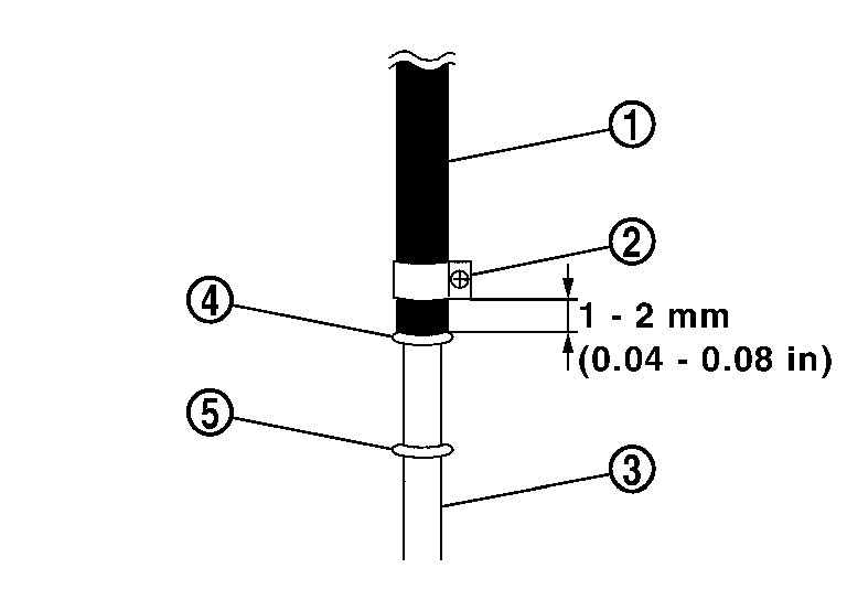
4.Connect fuel hose for fuel pressure check to fuel tube with clamp as shown in the figure.

Picture 4

CAUTION:
- Wipe off oil or dirt from hose insertion part using cloth moistened with gasoline.
- Apply proper amount of gasoline between top of the fuel tube and No. 1 spool .
- Insert fuel hose for fuel pressure check until it touches the No. 1 spool on fuel tube.
- Use NISSAN genuine hose clamp (part number: 16439
N4710 or 16439 40U00).
- When reconnecting fuel line, always use new clamps.
- Use a torque driver to tighten clamps.
Tightening 1 - 1.5 Nm (0.1 - 0.15 kg-m, 9 - 13 in-lb)
torque:
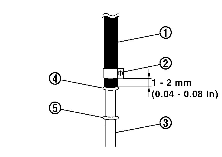
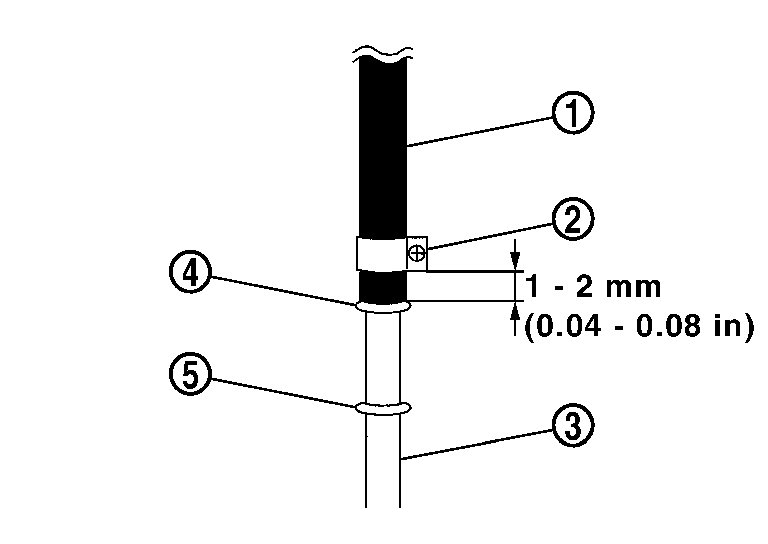
- Install hose clamp to the position within 1 - 2 mm (0.04 - 0.08 in).
- Make sure that clamp screw does not contact adjacent parts.

Picture 5

5.Connect fuel tube adapter to quick connector.

Picture 6

After connecting fuel hose for fuel pressure check, pull the hose with a force of approximately 98 N (10 kg, 22 lb) to confirm high pressure fuel pump does not come off.
6.Turn ignition switch ON and check for fuel leakage.
7.Start engine and check for fuel leakage.
8.Read the indication of fuel pressure gauge.

CAUTION:
- Do not perform fuel pressure check with system operating. Fuel pressure gauge may indicate false readings.
- During fuel pressure check, confirm for fuel leakage from fuel connection every 3 minutes.

At idling : Approximately 350 kPa (3.5 bar, 3.57 kg/cm2, 51 psi)

Is the inspection result normal?
YES- INSPECTION END
NO- GO TO 2.

2. CHECK FUEL HOSES

Check the following.
- Fuel hoses for clogging
- Fuel filter for clogging
- Fuel pump
- Fuel pressure regulator for clogging
Is the inspection result normal?
YES- Replace fuel pressure regulator.
NO- Repair or replace error-detected parts.

____________________________

Let me know if this helps or if you have other questions.

Joe
Was this
answer
helpful?
Yes
No
Friday, August 28th, 2020 AT 9:34 AM (Merged)
Tiny
DCISNEROS
  • MEMBER
  • 2 POSTS
  • 2012 NISSAN SENTRA
  • 2.0L
  • 4 CYL
  • 2WD
  • AUTOMATIC
  • 102,000 MILES
At times while I am driving my car it will start to slow down on the acceleration even when flooring it I am only getting to sixty mph? I have had it checked and mechanic says everything seems fine with motor and transmission. Had spark plugs changed and added sea foam to gas and still having the same issue. When mechanic has vehicle it never seems to duplicate the issue! Has anyone else had this issue?
Was this
answer
helpful?
Yes
No
Friday, August 28th, 2020 AT 9:34 AM (Merged)
Tiny
MHPAUTOS
  • MECHANIC
  • 31,937 POSTS
Did the mechanic get any live data with a road test? Any codes set? Are the brakes hanging on at all?
Was this
answer
helpful?
Yes
No
Friday, August 28th, 2020 AT 9:34 AM (Merged)
Tiny
DCISNEROS
  • MEMBER
  • 2 POSTS
No when doing road test car runs fine for mechanic. There are no error codes either and not sure what you mean about the brakes?
Was this
answer
helpful?
Yes
No
Friday, August 28th, 2020 AT 9:34 AM (Merged)
Tiny
MHPAUTOS
  • MECHANIC
  • 31,937 POSTS
Brakes may be dragging causing sluggish response. Otherwise you will have to drive and test when car acts up. If it is not faulting it is very hard to say what is going on. Just double check all tune and transmission related items for any faults.
Was this
answer
helpful?
Yes
No
Friday, August 28th, 2020 AT 9:34 AM (Merged)
Tiny
SOHAIL BALOCH
  • MEMBER
  • 1 POST
  • 2012 NISSAN SENTRA
  • 1.8L
  • 4 CYL
  • 2WD
  • AUTOMATIC
  • 80,000 MILES
My car Nissan Versa 2012 Accelerating in P and N Mode but not Accelerating in driver mode no Engine light appear mechanic told me it's gear box fault I have change gear box assembly and I have cleaned throttle body also but still same problem.

Car is not accelerating in drive mode CVT gear box.
Was this
answer
helpful?
Yes
No
Friday, August 28th, 2020 AT 9:34 AM (Merged)
Tiny
ASEMASTER6371
  • MECHANIC
  • 52,796 POSTS
Good morning,

The shop is correct. There are clutches in the transmission that apply in a certain position. The forward clutches are frozen applied.

https://www.2carpros.com/articles/automatic-transmission-problems

The only alternative is to replace the transmission.

Roy
Was this
answer
helpful?
Yes
No
Friday, August 28th, 2020 AT 9:34 AM (Merged)
Tiny
SOHAIL BALOCH
  • MEMBER
  • 1 POST
Transmission already replace, but still same problem is there; no accelerating in drive mode.
Was this
answer
helpful?
Yes
No
-1
Friday, August 28th, 2020 AT 9:34 AM (Merged)
Tiny
ASEMASTER6371
  • MECHANIC
  • 52,796 POSTS
Okay, new or used transmission?

How long ago was the transmission replaced?

Roy
Was this
answer
helpful?
Yes
No
Friday, August 28th, 2020 AT 9:34 AM (Merged)
Tiny
KEN L
  • MASTER CERTIFIED MECHANIC
  • 55,522 POSTS
Hello,

If I can chime in here. it sounds like the car is in limp mode. lets run the codes and service the throttle bore. here are two guides to help us see what's going on:

https://www.2carpros.com/articles/checking-a-service-engine-soon-or-check-engine-light-on-or-flashing

and

https://www.2carpros.com/articles/throttle-actuator-service

Please run down these guides and report back.

Was this
answer
helpful?
Yes
No
Friday, August 28th, 2020 AT 9:34 AM (Merged)
Tiny
SNELSON62
  • MEMBER
  • 1 POST
  • 2007 NISSAN SENTRA
  • 2.0L
  • 4 CYL
  • 2WD
  • AUTOMATIC
  • 120,000 MILES
First, I was driving a straight highway and noticed my car would go over sixty miles per hour, the radio stop playing and air worked sometimes. My friend told me I needed a throttle sensor. It was ordered and my friend installed it. After that it would not crank and later we tried and it cranked but would not continue to run. I cannot afford to take it to a mechanical shop and I am trying to get some answers.
Was this
answer
helpful?
Yes
No
Friday, August 28th, 2020 AT 9:34 AM (Merged)
Tiny
HMAC300
  • MECHANIC
  • 48,601 POSTS
Check battery for condition first including load test most places do for free. then try a security system reset may be the problem. especially if terminal ends are dirty/corroded. See link.
https://www.2carpros.com/articles/how-to-reset-a-security-system
Was this
answer
helpful?
Yes
No
Friday, August 28th, 2020 AT 9:34 AM (Merged)
Tiny
RENEE L
  • ADMIN
  • 1,260 POSTS
Hi SNELSON62,

If you decide to check the condition of your battery yourself HMAC300 suggested, here is a link to helpful information from this site that features written instructions, pictures and a video explaining how to load test your battery yourself. If you need further assistance please come back to 2CarPros.com. We are always happy to help.

https://www.2carpros.com/articles/how-to-check-a-car-battery

Thank you for visiting 2CarPros.

Kindest regards,

Renee
Admin
Was this
answer
helpful?
Yes
No
Friday, August 28th, 2020 AT 9:34 AM (Merged)
Tiny
NNIYI
  • MEMBER
  • 3 POSTS
  • 2007 NISSAN SENTRA
  • 2.5L
  • 4 CYL
  • 2WD
  • AUTOMATIC
  • 66,000 MILES
Hi,
I had a case of a faulty alternator and someone attempted to jumpstart my car, for some reason, I couldn't tell the exact sequence but the NATS light came on and would prevent the car from starting.
After many checks and wrong diagnosis by unskilled hands, I replaced my crankshaft and camshaft position sensors but the car still won't start.
Eventually had to replace the ECM, BCM and reprogram my key. At the moment, the car would experience a severe hard start and come on. Idle is normal, the tachometer would respond to acceleration when in park but when in drive, it struggles to rev above 3,000 rpm's and barely gets to 80 mph, there is a P0335 error that when cleared, the car moves as it should, once it comes on, I face the rev issues again.
Any ideas what to check for?
Was this
answer
helpful?
Yes
No
Friday, August 28th, 2020 AT 9:34 AM (Merged)
Tiny
ASEMASTER6371
  • MECHANIC
  • 52,796 POSTS
Good morning,

Did you have both the ECM and the BCM programmed to your car? That is mandatory.

Is the 335 code still active?

Roy
Was this
answer
helpful?
Yes
No
Friday, August 28th, 2020 AT 9:34 AM (Merged)
Tiny
NNIYI
  • MEMBER
  • 3 POSTS
Hello,

Yes, both ECM and BCM are programmed to car.
The 335 code is still active, when I clear the error code, it drives and accelerates as normal and after a drive cycle, the check engine light comes back on and the acceleration is limited.
Was this
answer
helpful?
Yes
No
Friday, August 28th, 2020 AT 9:34 AM (Merged)
Tiny
ASEMASTER6371
  • MECHANIC
  • 52,796 POSTS
A drive cycle? How long are you driving it?

If the 335 is still active there is something in the circuit causing this code to stay active.

Did you replace the crank sensor with an OEM sensor?

Roy
Was this
answer
helpful?
Yes
No
Friday, August 28th, 2020 AT 9:34 AM (Merged)
Tiny
NNIYI
  • MEMBER
  • 3 POSTS
Hi Roy,

Yes, it was replaced with OEM sensor.
I tried over three to four sensors but the hard start on its own is persistent.

The drive time varies, but usually within five to ten minutes at max before the check engine light resurfaces.
Was this
answer
helpful?
Yes
No
Friday, August 28th, 2020 AT 9:34 AM (Merged)

Please login or register to post a reply.