ABS light stays on

Tiny
RANDY INGLE
  • MEMBER
  • 2002 CHEVROLET SILVERADO
  • 6.6L
  • V8
  • 4WD
  • AUTOMATIC
  • 350,000 MILES
My ABS light with brake light would come on. I could turn the truck off and they would not appear for several hours or even a few days. I had the sensors replaced but now the ABS light comes on and stays on. I called AC Delco and it is the right one for my truck. I did disconnect both batteries to try to reset the computer but that did not help. In the past I have dealt with Steve with 2CarPros.
Friday, May 14th, 2021 AT 3:13 PM

50 Replies

Tiny
STEVE W.
  • MECHANIC
  • 15,671 POSTS
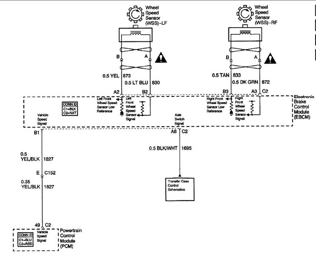
The description sounds like a bad circuit from a sensor to the ABS module. To see what the module is seeing will take a scan tool that can read live data and the codes. With the scan tool you can read the speed information from the sensors and see if the signal is getting to the module. There are three sensors in the system, One at each front wheel and one on the transfer case to show the rear wheel speeds. A scan tool can read the data from all 3.
With the code and scan data it would be easy to track the issue.
Was this
answer
helpful?
Yes
No
+1
Friday, May 14th, 2021 AT 6:18 PM
Tiny
RANDY INGLE
  • MEMBER
  • 63 POSTS
Thanks Steve. I will try to find someone who has that scan tool. I really have appreciated all your help!
Was this
answer
helpful?
Yes
No
Saturday, May 15th, 2021 AT 9:48 AM
Tiny
STEVE W.
  • MECHANIC
  • 15,671 POSTS
Some part stores have them as loaner tools, but you can get one reasonable as well. You want one that can read the ABS live data as well as engine data. Many will read the ABS codes but not the live data from the speed sensors which is the information you need to see.
Was this
answer
helpful?
Yes
No
Saturday, May 15th, 2021 AT 10:03 AM
Tiny
KEN L
  • MASTER CERTIFIED MECHANIC
  • 55,266 POSTS
It sounds like you may have a wheel speed sensor that is out. These videos will help us find the problem:

https://youtu.be/rTtAnsOlZU4

and

https://youtu.be/Pb6nXV-iamI

and

https://youtu.be/ANWVTh2RQoQ

and

https://www.2carpros.com/articles/abs-warning-light-on-easy-repair-guide

Please run down these guides and report back.
Was this
answer
helpful?
Yes
No
Saturday, May 15th, 2021 AT 3:01 PM
Tiny
STEVE W.
  • MECHANIC
  • 15,671 POSTS
New sensors already installed. That is why I would like him to get a scan tool that can read the live speed data from the sensors. With that you can actually see what the module is seeing. Codes are not going to do much if this is the typical harness issue on those trucks as it shorts out in the harness and shows a bad sensor. The ABS doesn't have very good diagnostics on the 02s so the live data works much better in showing any speed differences from the three sensors it has, unfortunately most of the lower end tools don't show that data, they will only pull codes.
The best solution would be to go to the ABS module and use a scope to look at the actual signal waveforms as that can tell you pretty much everything including if the issue is a bad tone ring because the wave will have flat spots where there should be an AC signal from the sensors. A really neat way to test these is to pull the sensor connector and send a square wave signal through the harness. Then read the speed it shows on the scan tool. Now alter the frequency and you can watch the speed change. If that works, the wiring and module are good but there is an issue with the sensor. Either rust jacking or a bad sensor.
Was this
answer
helpful?
Yes
No
Saturday, May 15th, 2021 AT 4:55 PM
Tiny
RANDY INGLE
  • MEMBER
  • 63 POSTS
Thanks both Steve and Ken.
Was this
answer
helpful?
Yes
No
Sunday, May 16th, 2021 AT 9:54 AM
Tiny
KEN L
  • MASTER CERTIFIED MECHANIC
  • 55,266 POSTS
Please let us know what you find. We are interested to see what it is.
Was this
answer
helpful?
Yes
No
+1
Tuesday, May 18th, 2021 AT 9:57 AM
Tiny
RANDY INGLE
  • MEMBER
  • 63 POSTS
I may take it back to the garage who put the new sensors in and hope they have a scanner that can assess the ABS system. Worst case scenario I can buy a scanner from Amazon for a bit less than $100.00 which can give me codes to problems for lots of things.
Was this
answer
helpful?
Yes
No
Tuesday, May 18th, 2021 AT 11:40 AM
Tiny
STEVE W.
  • MECHANIC
  • 15,671 POSTS
They should have a scan tool that can read the live data, if not find a shop that does. If not I predict that you will likely be told it has to be a bad ABS module as well. Could it be? Yes, but if it's a bad module, why did they replace the sensors? Especially both sensors when they share no connections other than the module?
Unfortunately there are any number of shops that buy a code reader and then fire the parts cannon because "It had a code for XXX and that means replace part YYY" When in reality that is very seldom the case, but they still make money replacing all those parts.

I try to follow a different approach of "test don't guess" So I have the test gear to do those tests. I also generally replace the bad part only. So say the issue on your truck is actually a bad wiring connector in the ABS harness that set a code for a bad RFWss, I'll test the sensor then for the signal at the ABS module if no signal there but a good signal at the sensor, I'll look at the wiring diagram for any connections between those parts. Then disconnect the harness and test there. If there is a good signal there but nothing at the module I know it's in the upper harness. If no signal at that connection it's in the lower harness. Time wise I would take me maybe 20 minutes to do those tests, but now I also know where the problem is and you don't pay for two speed sensors and installation when they were not the problem. But then the shop doesn't get to vacuum out your wallet.

Now how could a DIY person do those tests without any fancy tools? Well let's say that the issue on the code reader says you have a bad Right Front speed sensor. That means the Left side is still okay. So you unplug the opposite side and run jumper wires to cross connect the sensors, so the left side feeds the right side and vice versa. Now go for a drive. If it's a bad sensor you should see a bad left side code now. However if you still have a bad right hand code you know the sensor is good as it's feeding the left side. So now both sensors tested good. Now you look at the wiring and find where those sensors connect to the ABS module. Run those jumper wires from the right hand sensor up to the ABS terminals they feed. Back probe the wires in with a couple of pins and test again. If now the code is gone and no lights you just demonstrated there is a fault in the harness itself and the signal isn't getting to the module.
Was this
answer
helpful?
Yes
No
Tuesday, May 18th, 2021 AT 12:40 PM
Tiny
RANDY INGLE
  • MEMBER
  • 63 POSTS
I am the one who made the decision to replace the sensors hoping that would solve my problem. I always print what you send me out. I sure appreciate you!
Was this
answer
helpful?
Yes
No
Tuesday, May 18th, 2021 AT 3:38 PM
Tiny
STEVE W.
  • MECHANIC
  • 15,671 POSTS
Not a problem, I just see a lot of shops that do that. Then they say something like "Well the machine told us that was the problem, not our fault", here's the bill for this next part we changed. In this case there are two ABS systems, depending on if the truck has the optional traction assist or not. Most didn't in those years so the wiring should be correct. The sensors are really nothing but coils of wire and the tone ring going across the face of them generates a sine wave that changes in frequency as speed increases. There were a few issues with them, the most common had a different symptom though, you don't get any lights, instead the ABS would apply as you slowed down and the sensor stopped sending a signal. The ABS then figured that the tire had stopped and it would bleed off pressure in pulses to get it moving again. However the real issue was rust jacking. Rust would form between the sensor and the hub which would push the sensor up out of the hub slightly. That was just enough that the sensor signals would be at different amplitudes and one would suddenly drop out while you were still moving at say 5-10 MPH. The repair is simple. Remove the sensors and clean off the rust, apply some silicone grease and put the sensors back in.
Was this
answer
helpful?
Yes
No
Tuesday, May 18th, 2021 AT 4:47 PM
Tiny
RANDY INGLE
  • MEMBER
  • 63 POSTS
Thanks Steve however that was not the problem. They cleaned everything when putting the new sensors in. I am anxious if the garage that did it has a scanner that will reveal codes as to what is going on.
Was this
answer
helpful?
Yes
No
Wednesday, May 19th, 2021 AT 5:58 AM
Tiny
STEVE W.
  • MECHANIC
  • 15,671 POSTS
Yeah, just one of the common issues on them. A scan tool should at least show a code. A good scan tool should show much more. We'll be here in the meantime. Just waiting to see what they find.
Was this
answer
helpful?
Yes
No
Wednesday, May 19th, 2021 AT 9:34 AM
Tiny
RANDY INGLE
  • MEMBER
  • 63 POSTS
Sad to say the scan came up with the code that it was the sensors which both had already been replaced. Don't know what to do next. My Silverado was pulling to the right by the way and I ended up having to have the entire front end replaced.
Was this
answer
helpful?
Yes
No
Wednesday, June 30th, 2021 AT 10:10 AM
Tiny
STEVE W.
  • MECHANIC
  • 15,671 POSTS
Do you know the codes? Many had the rust jacking and others were the wiring harnesses that would fail just up past the first connector where the sensors plug in. I assume the rebuild took care of the issue?
Was this
answer
helpful?
Yes
No
Wednesday, June 30th, 2021 AT 11:00 AM
Tiny
RANDY INGLE
  • MEMBER
  • 63 POSTS
Sad to say they ran a scan and no codes came up!
Was this
answer
helpful?
Yes
No
Saturday, July 3rd, 2021 AT 6:50 AM
Tiny
STEVE W.
  • MECHANIC
  • 15,671 POSTS
Odd if the light was on it should have codes stored. May have a communication issue in the system. Hard to say without testing.
Was this
answer
helpful?
Yes
No
Saturday, July 3rd, 2021 AT 5:19 PM
Tiny
RANDY INGLE
  • MEMBER
  • 63 POSTS
I have a family member who has a scanner and will try to get him to scan the ABS system to see what he comes up with. He told me the scanner he uses in his work can scan an entire engine.
Was this
answer
helpful?
Yes
No
Sunday, July 4th, 2021 AT 9:13 AM
Tiny
DANNY L
  • MECHANIC
  • 5,648 POSTS
Hello, I'm Danny.

Just here to add my 2 cents. I would suggest performing a CAN- Controller Area Network scan. This will retrieve all information and codes within all the vehicles systems including the abs system you are having an issue with. Here is a tutorial showing what is involved for performing this scan:

https://www.2carpros.com/articles/can-scan-controller-area-network-easy

Hope this helps and thanks for using 2CarPros.
Was this
answer
helpful?
Yes
No
Thursday, July 8th, 2021 AT 11:08 PM
Tiny
RANDY INGLE
  • MEMBER
  • 63 POSTS
Thanks I ordered one. I saw a scanner on Amazon which was about $100.00 but I will try this one since it was only $35.00. The garage who put the new sensors in once told me the code that came up indicated it was the sensors but later they ran another scan and no codes came up. Sure hope this scanner will tell me what is going on.
Was this
answer
helpful?
Yes
No
Friday, July 9th, 2021 AT 8:04 AM

Please login or register to post a reply.