Engine not cranking over?

Tiny
WILDWOODY88
  • MEMBER
  • 2003 FORD F-150
  • 5.4L
  • V8
  • 4WD
  • AUTOMATIC
  • 185,000 MILES
I have had my truck listed above for a little over a year and about 20,000 miles, only real issues I’ve had are it burns a little oil and I had to replace the old battery. Over the last couple of months it has done this thing where I’ll start it and it’ll run for a couple seconds and cuts out, I’ll wait 5-10 seconds and start again with no issues. Today I tried to start it it started and shut off, I tried again and I can hear the starter spinning but it doesn’t try to start, I was thinking it isn’t getting fuel but I can hear the fuel pump kick on when I turn the key. I’m not a mechanic but have a basic understanding of how to change parts, I just need to know where to start.
Saturday, December 28th, 2019 AT 12:07 PM

8 Replies

Tiny
JACOBANDNICKOLAS
  • MECHANIC
  • 110,194 POSTS
Hi,

You mentioned you hear the starter working. Does it sound normal and is it turning the engine? If it is, then we need to do a couple basic tests.

First, we need to know if the engine is getting spark and fuel. If one is missing, it won't run. Here are two links that explain how to check fuel pressure and how to check for ignition spark. Follow these links and let me know the results.

https://www.2carpros.com/articles/how-to-check-fuel-system-pressure-and-regulator

https://www.2carpros.com/articles/how-to-test-an-ignition-system

Let me know what you find. Once I know which is the issue, I can better direct you. I don't want to guess and have you replace parts that are good. Hope you understand.

Also, if you don't want to do the fuel pressure test, see if it starts for a couple seconds using starting fluid. If it does and then stalls, we know it if fuel related.

Let me know.

Joe
Was this
answer
helpful?
Yes
No
Saturday, December 28th, 2019 AT 11:11 PM
Tiny
WILDWOODY88
  • MEMBER
  • 5 POSTS
Thank you for the response, it just sounds like the starter is spinning, the motor is not turning over.
Was this
answer
helpful?
Yes
No
Sunday, December 29th, 2019 AT 6:45 AM
Tiny
WILDWOODY88
  • MEMBER
  • 5 POSTS
I tried it again this morning, it turned over once then just sounded like the starter was spinning again.
Was this
answer
helpful?
Yes
No
Sunday, December 29th, 2019 AT 7:25 AM
Tiny
JACOBANDNICKOLAS
  • MECHANIC
  • 110,194 POSTS
Okay. If the starter is just spinning, either you have a damaged flywheel or more commonly, the Bendix on the starter is bad. The Bendix is what forces the starter gear outward to engage with the flywheel and turn the engine. If you could record the sound and upload it for me to hear, I would be more certain. However, it does seem you need a new starter.

Here is a link that shows in general how one is replaced:

https://www.2carpros.com/articles/how-to-replace-a-starter-motor

Here are directions specific to your vehicle for starter replacement. The attached pics correlate with the directions.

__________________________

2003 Ford Truck F 150 4WD Pickup V8-5.4L SOHC VIN L
Procedures
Vehicle Starting and Charging Starting System Starter Motor Service and Repair Procedures
PROCEDURES
REMOVAL

WARNING: WHEN CARRYING OUT MAINTENANCE ON THE STARTING SYSTEM, BE AWARE THAT HEAVY GAUGE LEADS ARE CONNECTED DIRECTLY TO THE BATTERY. MAKE SURE PROTECTIVE CAPS ARE IN PLACE WHEN MAINTENANCE IS COMPLETE. FAILURE TO FOLLOW THESE INSTRUCTIONS MAY RESULT IN PERSONAL INJURY.

1. Disconnect the battery ground cable.
2. Raise and support the vehicle; refer to Maintenance/Service and Repair.

WARNING: THE ELECTRICAL POWER TO THE AIR SUSPENSION SYSTEM MUST BE SHUT OFF PRIOR TO HOISTING, JACKING OR TOWING AN AIR SUSPENSION VEHICLE. THIS CAN BE ACCOMPLISHED BY TURNING OFF THE AIR SUSPENSION SWITCH LOCATED IN THE RH KICK PANEL AREA. FAILURE TO DO SO MAY RESULT IN UNEXPECTED INFLATION OR DEFLATION OF THE AIR SPRINGS WHICH MAY RESULT IN SHIFTING OF THE VEHICLE DURING THESE OPERATIONS.

pic 1

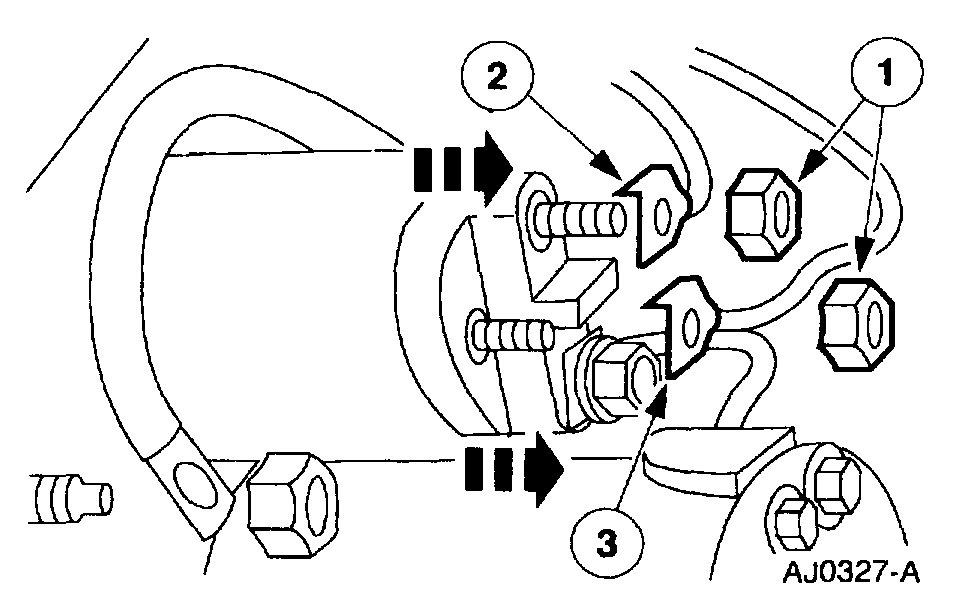
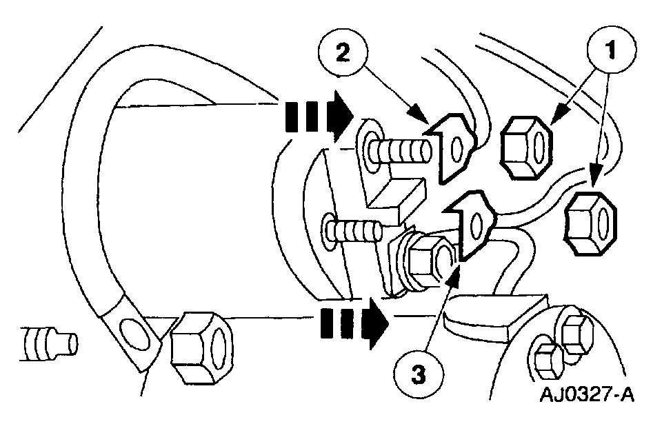
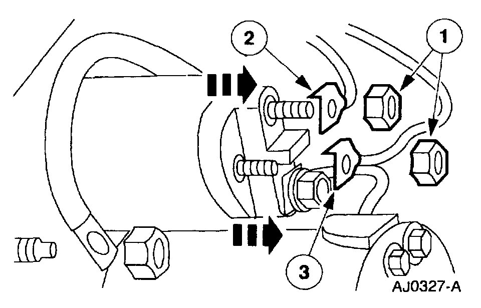
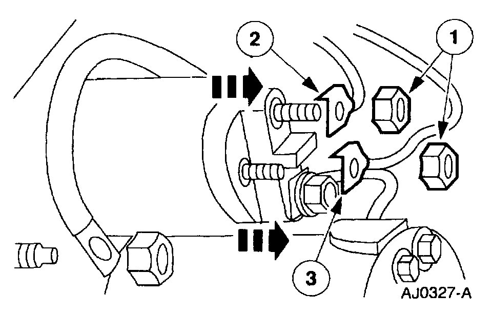
3. Remove the starter motor solenoid terminal cover.

pic 2

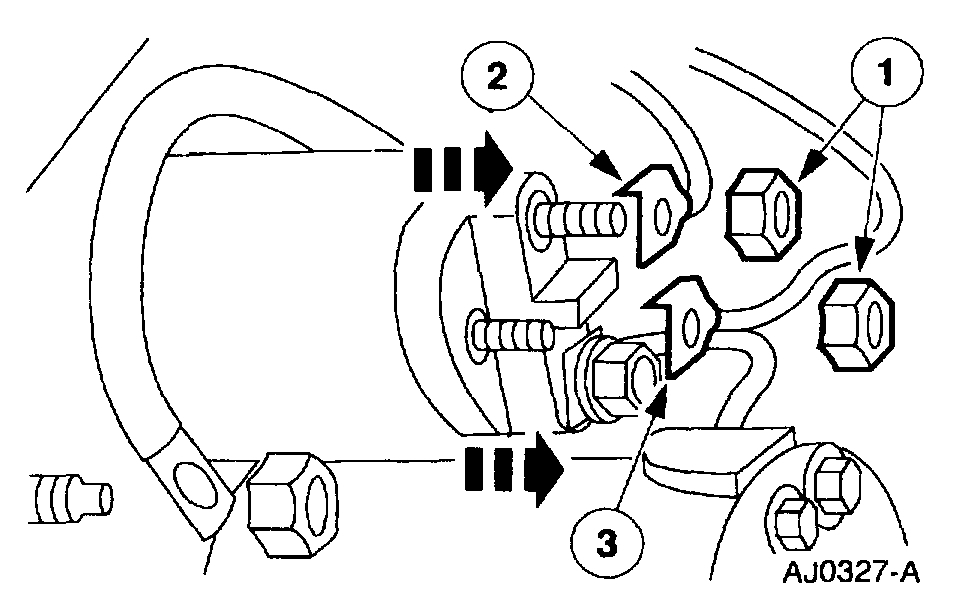
4. Disconnect the starter motor electrical connections.
1 Remove the two nuts.
2 Remove the battery cable.
3 Remove the starter solenoid wire.

NOTE: The 4.2L engine is shown; the 4.6L and 5.4L engine, are similar.

pic 3

5. Remove the nut and the starter motor ground cable.

NOTE: The 4.2L engine is shown; the 4.6L and 5.4L engine, are similar.

pic 4

6. Remove the stud bolt, bolts and the starter.

INSTALLATION

WARNING: WHEN CARRYING OUT MAINTENANCE ON THE STARTING SYSTEM, BE AWARE THAT HEAVY GAUGE LEADS ARE CONNECTED DIRECTLY TO THE BATTERY. MAKE SURE PROTECTIVE CAPS ARE IN PLACE WHEN MAINTENANCE IS COMPLETE. FAILURE TO FOLLOW THESE INSTRUCTIONS MAY RESULT IN PERSONAL INJURY.

pic 5

1. Connect the cable and install the motor nut.

NOTE: The 4.2L engine is shown; the 4.6L and 5.4L engine, are similar.

pic 6

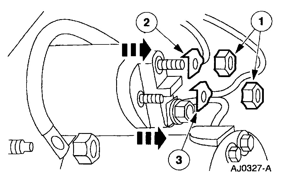
2. Connect the starter motor electrical connections.
1 Position the starter solenoid wire.
2 Position the battery cable.
3 Install the nuts.

NOTE: The 4.2L engine is shown; the 4.6L and 5.4L engine, are similar.

pic 7

3. Install the starter motor solenoid terminal cover.
4. Connect the battery ground cable.
5. Lower the vehicle.

NOTE: If equipped with air suspension, reactivate the system by turning on the air suspension switch.

_____________________________________

Please understand. I am basing this diagnoses on the idea that the starter is spinning but not turning the engine. If you can record it so I can hear it, I can be sure.

Take care and let me know if you have questions or need anything.

Joe
Was this
answer
helpful?
Yes
No
+1
Sunday, December 29th, 2019 AT 5:19 PM
Tiny
WILDWOODY88
  • MEMBER
  • 5 POSTS
I’ll try to record the sound tomorrow. Would that explain the truck just shuts off after I started it?
Was this
answer
helpful?
Yes
No
Sunday, December 29th, 2019 AT 6:28 PM
Tiny
JACOBANDNICKOLAS
  • MECHANIC
  • 110,194 POSTS
Honestly, no. Once it is started, the starter is done. Lets see if we can get it working correctly first, and then we can focus on the stall issue.

Let me know.

Joe
Was this
answer
helpful?
Yes
No
Sunday, December 29th, 2019 AT 11:25 PM
Tiny
WILDWOODY88
  • MEMBER
  • 5 POSTS
Now it sounds like it is trying to start but won’t fire.
Was this
answer
helpful?
Yes
No
Monday, December 30th, 2019 AT 12:51 PM
Tiny
JACOBANDNICKOLAS
  • MECHANIC
  • 110,194 POSTS
Hi,

I think you have a timing issue. I don't know if one of the chains broke or jumped. Please keep in mind, I'm not there so I can be wrong, but that is surely what it sounds like.

Now to add insult to injury, this is an interference engine. What that means is there isn't enough clearance between the pistons and valves and they can hit and cause internal damage if the timing is off.

I don't know if you want to, but at this point, I would do an engine compression test. I suspect you will find very low compression in one or more cylinders. Low compression, in conjunction with a timing issue, is why I feel it won't run.

Here is a link that shows how to do a compression test. If you do it, let me know what you find. Also, if you have any questions, please let me know.

https://www.2carpros.com/articles/how-to-test-engine-compression

Again, not being there makes it a bit difficult, but based on how it sounds, this is what I suspect.

Let me know what you find.

Joe
Was this
answer
helpful?
Yes
No
Monday, December 30th, 2019 AT 11:11 PM

Please login or register to post a reply.