Why my heater isn't working?

Tiny
1999 FORD XLT TRUCK
  • MEMBER
  • 1 POST
  • 1999 FORD F-150
  • V8
  • 2WD
  • AUTOMATIC
  • 145,000 MILES
In the summer heater works fine. In winter the heater blows cold air only. Replaced thermal switch on dash board. Checked heater core hoses under hood they are both hot when engine is at normal op. Temp.
Signed, cold feet
Was this
answer
helpful?
Yes
No
Thursday, April 15th, 2021 AT 1:47 PM (Merged)
Tiny
JDL
  • MECHANIC
  • 16,098 POSTS
Welcome to the forum, I'd have to check the blend door in picture. With the blend door in one position, ac, other position, the air has to go through the heater core.


https://www.2carpros.com/forum/automotive_pictures/170934_blend_doors_1.jpg

Was this
answer
helpful?
Yes
No
+4
Thursday, April 15th, 2021 AT 1:47 PM (Merged)
Tiny
PAULA D.
  • MEMBER
  • 7 POSTS
My problem actually, was the temperature knob. It had a small crack inside, which prevented it from grabbing hold and turning the switch.
I just never noticed it turned very easily. Too easily. Just in case you're still stumped.
Was this
answer
helpful?
Yes
No
+1
Thursday, April 15th, 2021 AT 1:47 PM (Merged)
Tiny
DBAKER1065
  • MEMBER
  • 1 POST
  • 1999 FORD F-150
  • V8
  • 2WD
  • AUTOMATIC
  • 121,000 MILES
All of a sudden I don't get any heat, what could be the problem? Ac works blower works just no heat
Was this
answer
helpful?
Yes
No
Thursday, April 15th, 2021 AT 1:47 PM (Merged)
Tiny
DOCFIXIT
  • MECHANIC
  • 18,828 POSTS
Engine temp O.K. if not thermostat stuck open. If temp good then a blend door problem.

Here is a guide to help

https://www.2carpros.com/articles/car-heater-not-working
Was this
answer
helpful?
Yes
No
Thursday, April 15th, 2021 AT 1:47 PM (Merged)
Tiny
PAULA D.
  • MEMBER
  • 7 POSTS
My problem was the temperature knob. It had a small crack on the inside which loosened it just enough so it wasn't grabbing hold when you turned it to the right. Just in case you're stumped. It's nice when it's something simple!
Was this
answer
helpful?
Yes
No
+2
Thursday, April 15th, 2021 AT 1:47 PM (Merged)
Tiny
PAULA D.
  • MEMBER
  • 7 POSTS
  • 1999 FORD F-150
  • 5.4L
  • V8
  • 4WD
  • AUTOMATIC
  • 72,000 MILES
Truck started acting strange yesterday. The heater is not putting out anything but cold air. This just started yesterday. Has been a reliable truck for nineteen years. Is there something that could be causing both problems? Would like to have some idea before I take it in to be looked at. Also, it was Halloween the night before, just a coincidence?
Was this
answer
helpful?
Yes
No
Thursday, April 15th, 2021 AT 1:47 PM (Merged)
Tiny
JACOBANDNICKOLAS
  • MECHANIC
  • 110,194 POSTS
Hi and thanks for using 2CarPros.com.

First, I need you to make sure the coolant level is full. Also, take a look through this link and see if anything helps.

https://www.2carpros.com/articles/car-heater-not-working

Most often, low coolant is the issue when heat is lost. However, where the coolant went becomes the big question. Let me know if that is what happened or if there is anything else in the link that helps. Also, if the coolant is low, make sure there is no evidence that it is mixing with engine oil or oil mixing into the coolant.

I will watch for your reply.

Take care,
Joe
Was this
answer
helpful?
Yes
No
+1
Thursday, April 15th, 2021 AT 1:47 PM (Merged)
Tiny
PAULA D.
  • MEMBER
  • 7 POSTS
Thanks for your reply, Joe. Looks like there is enough coolant, so I am taking it in tomorrow to have it checked out. The idling was not as pronounced yesterday when I started it up, so not sure what is up with that. Trying out a new shop. The guy I used for years is retiring. So we will see what they find. Thanks again!
Was this
answer
helpful?
Yes
No
Thursday, April 15th, 2021 AT 1:47 PM (Merged)
Tiny
JACOBANDNICKOLAS
  • MECHANIC
  • 110,194 POSTS
Welcome back.

If the coolant is full, either there is a plugged heater core or a blend air door not working under the dash. As far as the rough idle, there is a good chance it is a vacuum leak.

I have a feeling I know what may be wrong. The blend air door, which determines if you get heat, is operated by a vacuum motor. If the vacuum motor or vacuum hoses to it have been damaged or disconnected, you will not get heat. Also, it will cause a vacuum leak which will cause a rough idle. That is the first thing I suspect is the problem.

I realize you already have an appointment, but here are the directions for replacing the vacuum motor. I am attaching all the directions so you can see how to access it.

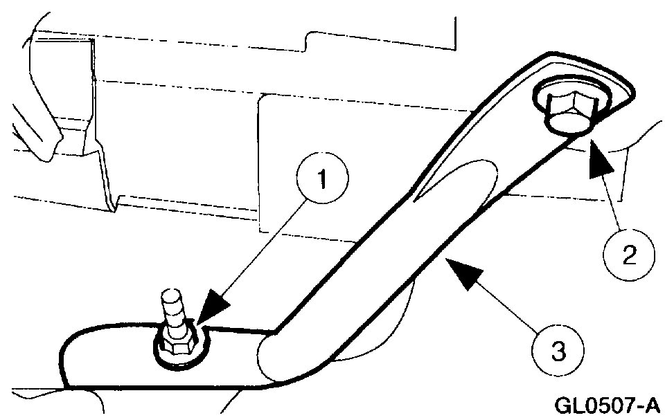
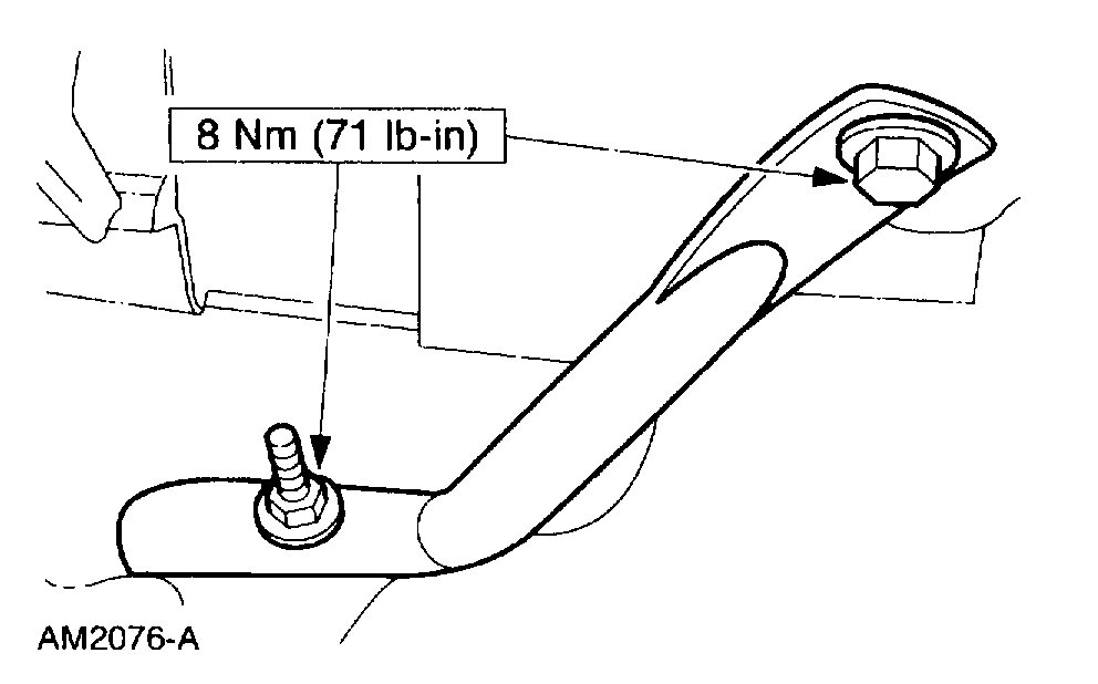
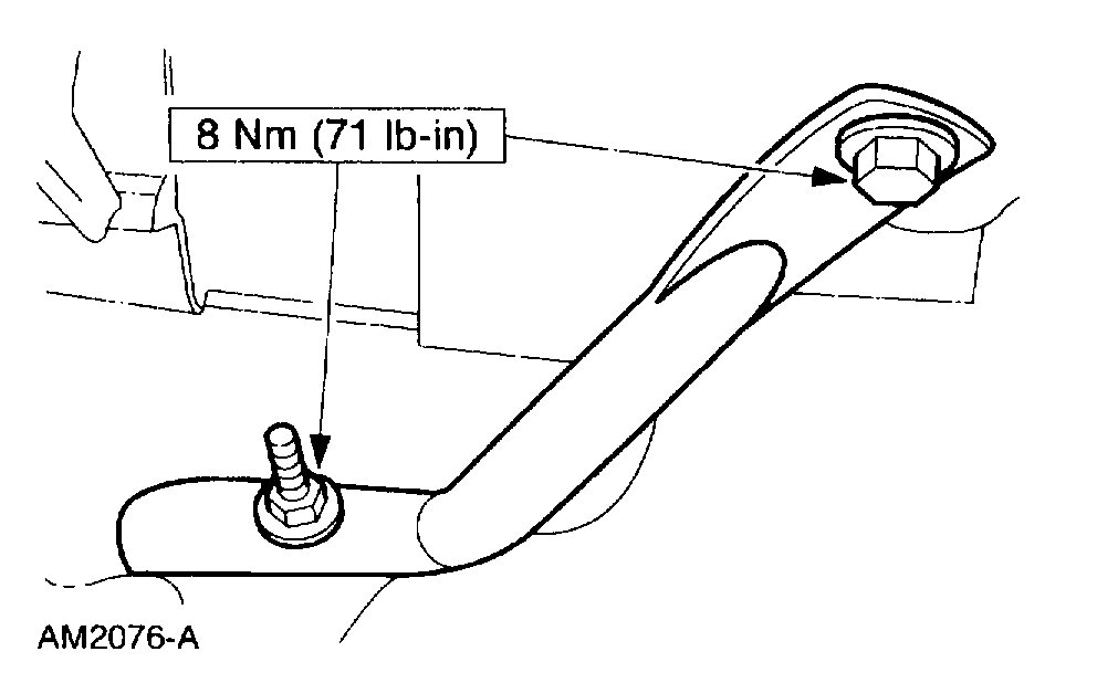
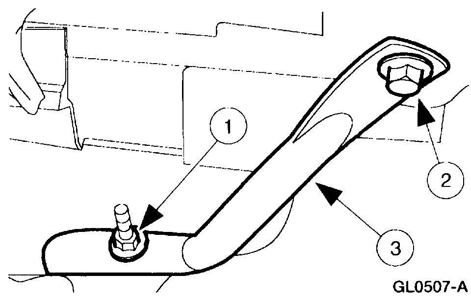
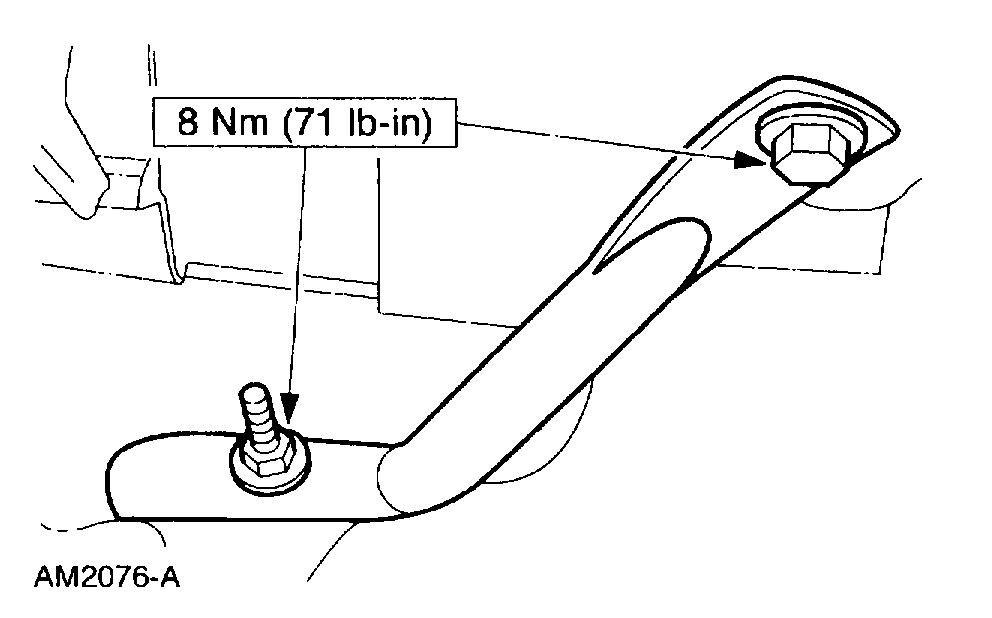
If you can before you take it in, see if you can check the aforementioned component. Here are the directions to access it. Also, pay attention if you hear a hissing or whistling sound from the dash area, which would indicate a vacuum leak. The attached pictures correlate with the directions. Also, the directions are for removing and replacing. You do not have to remove it, just see and inspect it.

_______________________________________

BLEND DOOR MOTOR
REMOVAL

1. Remove the floor duct panel.
- Remove the pushpins and release the expander clip.

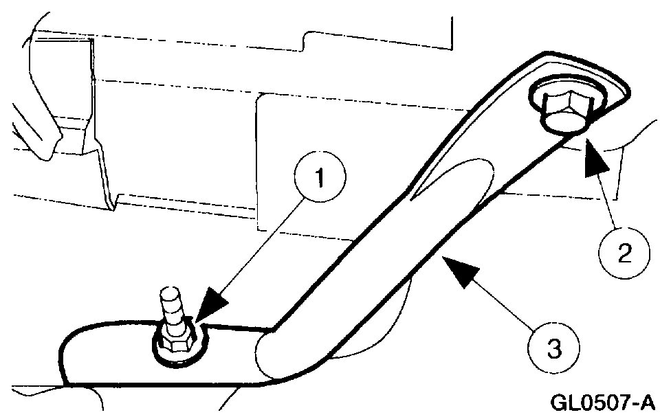
2. Remove the RH instrument panel brace.
1 Remove the nut.
2 Remove the bolt.
3 Remove the brace.

3. Remove the LH instrument panel lower nut and position the brace aside.

4. Remove the three bolts and position the module aside.

5. Remove the floor duct.
1 Remove the two screws (one each side).
2 Remove the floor duct.

6. Remove the panel/floor door vacuum control motor.
1 Disconnect the vacuum line connector.
2 Remove the screws.
3 Slide the rod out of the door and remove the panel/floor door.

NOTE: Rotate the vacuum control motor to disconnect the vacuum control motor rod from the panel/floor door.

7. Remove the electronic blend door actuator.
1 Disconnect the connector.
2 Remove the screws.
3 Pull down to release the actuator shaft and remove the electronic blend door actuator.

INSTALLATION

1. To install, reverse the removal procedure

_____________________________

I would really be interested in knowing if that is the issue. Please keep in mind, even if the leak isn't at the motor, it could be one of the vacuum hoses supplying engine vacuum to the control unit. With the engine running, pay close attention to see if you hear a vacuum leak. If you locate a broken hose or one disconnected, it will save you some money, and I can help you get it back together.

Let me know what you find.

Take care,
Joe
Was this
answer
helpful?
Yes
No
Thursday, April 15th, 2021 AT 1:47 PM (Merged)
Tiny
PAULA D.
  • MEMBER
  • 7 POSTS
Hi Joe. Well, cannot get my truck in until next week, so guess I have some time, but really was not hoping to fix it myself. I am a sixty four year old female with no experience, although I did fix my toilet a few years ago (lol).
And I did hear a strange noise I thought was coming from the dash area. I cannot remember just what it sounded like, been a few days, but you just may be onto something. Your instructions sound very clear, but not sure about the pictures. This is all under the dash, right? Do I need to look under the hood for damaged or disconnected hoses? I have a few days, may ask a neighbor who is pretty knowledgeable and has been helpful in the past. But tell me, what would this cost to fix, if you are right? If it is the vacuum motor?
Was this
answer
helpful?
Yes
No
Thursday, April 15th, 2021 AT 1:47 PM (Merged)
Tiny
JACOBANDNICKOLAS
  • MECHANIC
  • 110,194 POSTS
Ha! If you can fix the toilet, you can do this.

It is under the dash and a bit of a pain to access. Mostly, the tight area makes it a pain. However, it is doable. As far as cost, not knowing where you live, my part's price may be off, but I can tell you it calls for slightly over one hour labor to replace. What the shop charges as an hourly rate plus a little. It calls for 1.1 hour.

No matter what, low coolant can cause this issue too, so make sure it is full.

Let me know if I can help.

Take care,
Joe
Was this
answer
helpful?
Yes
No
Thursday, April 15th, 2021 AT 1:47 PM (Merged)
Tiny
PAULA D.
  • MEMBER
  • 7 POSTS
So where do I look for the hoses that may be disconnected or damaged? Also, regarding the coolant, it is really hard to see exactly where the line of fluid is. May need to get my step ladder out tomorrow to get up closer, lots of stuff in the way. But I looked like the fluid line was falling between the full and low lines.
Will check again tomorrow to be sure.
Was this
answer
helpful?
Yes
No
Thursday, April 15th, 2021 AT 1:47 PM (Merged)
Tiny
NKILBURG
  • MEMBER
  • 2 POSTS
  • 1999 FORD F-150
  • 4.6L
  • V8
  • 2WD
  • AUTOMATIC
  • 162,000 MILES
Very low heat to now we have great heat for 20 minutes than cold again. Not sure if it matters, but in summer A/C is not supper cold. No leak. And fully charged A/C. Any guidance would be great.
Was this
answer
helpful?
Yes
No
Thursday, April 15th, 2021 AT 1:47 PM (Merged)
Tiny
JACOBANDNICKOLAS
  • MECHANIC
  • 110,194 POSTS
The vacuum motor is under the dash. See the pictures in my first post. With the engine cool, remove the radiator cap and make sure the radiator is full too.

Let me know what you find. Also, be careful on the latter. LOL I wish you were my neighbor. You seem like a lot of fun.

Take care,
Joe
Was this
answer
helpful?
Yes
No
Thursday, April 15th, 2021 AT 1:47 PM (Merged)
Tiny
JACOBANDNICKOLAS
  • MECHANIC
  • 110,194 POSTS
Hi,

I need you to check something. When you lose heat, feel both heater core hoses to see if they are hot. If they are, the problem is on the inside. I assume you checked for vacuum leaks.

Let me know what you find when you check them. Also, I attached a picture below showing the components related to the HVAC. Let me know what you replaced and if this vehicle has manual temp control or automatic.

Here is a link that explains the most common causes of no heat conditions:

https://www.2carpros.com/articles/car-heater-not-working

Let me know.
Joe

Was this
answer
helpful?
Yes
No
+1
Thursday, April 15th, 2021 AT 1:47 PM (Merged)
Tiny
PAULA D.
  • MEMBER
  • 7 POSTS
Well, took my truck in today. I must be livin' right. The no heat problem was nothing we had thought of. Turned out the temperature knob had a small crack on the inside and wasn't engaging when you turned it. I didn't notice any difference, silly me. So got off pretty easy. It's now set on high and just need to find another knob. Maybe at a wrecking shop or a new one thru the dealer.(Or maybe I'll try some super glue. Lol). But the best part is I found a good, honest shop to go to now. All they charged me was $42 for an oil change! As for the rough running, that seems to have resolved itself. Anyway, thanks for your help, Joe. It's nice to have you guys to turn to when you have a question. Thanks again!
Happy Holidays! PD
Was this
answer
helpful?
Yes
No
Thursday, April 15th, 2021 AT 1:47 PM (Merged)
Tiny
NKILBURG
  • MEMBER
  • 2 POSTS
I’m not doing the work. My neighbor mechanic is. He is stumped. And is taking it to his buddy’s shop. I basically have a entire new coolant system. Water pump- thermostat- actuator- new blend door all new - And New radiator core (in firewall) and New (manual) HVAC controls. New radiator cap. I started with no heat to very little heat. With the new water pump and thermostat. I have good heat now, but only last twenty minutes than cold again. He flushed system two times and in reverse. And tried burping the system. Now he is thinking (I think he said flywheel? I could be wrong but I think he mentioned it) or head gasket. But I don’t lose coolant. You asked me about heater core hoses. Both where hot when I first took it him. Maybe one was a few degree cooler. But I could grab them and no pain to my hand if I held them. I don’t know how the hose is with new water pump.

I think he said it doesn’t come to pressure still?

Prior to new water pump replacement my lower radiator hose was collapsed if squeezed and held open he got heat. I assume not now. I feel bad, he has eaten the cost on the repairs except water pump, thermostat (stuck open) and coolant. I offered to pay him. He said no. I thought I would reach out and see what I can find for help.

I did have a guy tell me to remove the piece of plastic in the hose coming from radiator core, is simple fix, have you heard of this?

I assumed he checked for vacuum leaks he is very knowledgeable.

Not sure if it matters. My A/C has no leaks. Pressure tested. Fully charged. But doesn’t get ice cold in summer. Not sure if this system is part of my heat problem.

What would you replace next? Or try?
Was this
answer
helpful?
Yes
No
Thursday, April 15th, 2021 AT 1:47 PM (Merged)
Tiny
JACOBANDNICKOLAS
  • MECHANIC
  • 110,194 POSTS
Wow, that is an easy fix. I am glad you found the problem. I agree that a salvage yard would be the best option. If there are any "You Pull It" type salvage yards near you, I am sure you will find many and it should be really cheap.

Regardless, we are always here. Let us know if you have questions in the future.

Take care and Happy Holidays to you, too. At least now I know they will be warm ones. Lol

Joe
Was this
answer
helpful?
Yes
No
Thursday, April 15th, 2021 AT 1:47 PM (Merged)
Tiny
JACOBANDNICKOLAS
  • MECHANIC
  • 110,194 POSTS
Hi,

If the heater hoses were hot, that tells me coolant is flowing through the heater core. It's normal for the return to be a couple of degrees colder. If the A/C isn't getting ice cold, I feel the problem is one of the actuators in the vehicle. Think about it. If both hoses get hot, the heater core is hot. Thus, heat is in the vehicle. It just isn't getting where it needs. That is where the actuators come into play.

I realize the actuators were replaced. Are they working is the question? I also know there are a few actuators under the dash which are vacuum actuated. If there is no vacuum, the actuator won't work or will change direction when the vacuum starts to drop. For example, when you accelerate, the vacuum drops by nature. If there is a leak, it can cause issues.

As far as the plastic part, I'm not sure what he is referring to and the flywheel makes no sense to me.

Let me know. I would check the engine vacuum to see if there is a leak. Here is a link that explains how to check for a vacuum leak. See if it's something you feel comfortable doing.

https://www.2carpros.com/articles/how-to-use-an-engine-vacuum-gauge

Let me know.
Joe
Was this
answer
helpful?
Yes
No
+1
Thursday, April 15th, 2021 AT 1:47 PM (Merged)

Please login or register to post a reply.