Head gasket replacement instructions please?

Tiny
JRPARKER
  • MEMBER
  • 2007 NISSAN ALTIMA
  • 160,000 MILES
My car ran fine one day and the next day it wouldn't start up so I took it to the dealership and they diagnosed the problem as a blown head gasket. They kept telling me that I would have to replace the whole engine at 160000 miles. My question is should I find a mechanic (I'm not going to have to dealership fix it) and have them replace the head gasket or because of the number of miles should I look at different options? Thanks
Friday, July 26th, 2013 AT 8:43 AM

33 Replies

Tiny
JACOBANDNICKOLAS
  • MECHANIC
  • 110,194 POSTS
Hi,

Replacing a cylinder head gasket is an in-depth procedure. However, with the right tools, most people should be able to do it. One thing I suggest is to confirm the gasket is the issue. Before starting the job, take a look through this link. It explains how to determine if the head gasket is bad.

https://www.2carpros.com/articles/head-gasket-blown-test

If you determine it is bad, here are the directions specific to this vehicle. The attached pics correlate with the directions.

_______________________________________________

The first thing that will need to be done is removal of the timing chain. Here are the directions for removal and replacement.

______________________________________________

2007 Nissan-Datsun Altima L4-2.5L (QR25DE)
Removal and Replacement
Vehicle Engine, Cooling and Exhaust Engine Timing Components Timing Chain Service and Repair Removal and Replacement
REMOVAL AND REPLACEMENT
TIMING CHAIN

Removal and Installation

Exploded View EM-51
Pic 1

CAUTION: Apply new engine oil to parts marked in illustration before installation.

REMOVAL
1. Support the engine and transaxle assembly with suitable tools.
2. Remove RH splash shield.
3. Remove the upper and lower oil pan, and oil strainer.
4. Remove generator.
5. Remove engine cover.
6. Disconnect variable timing control solenoid harness connector.
7. Remove engine ground.
8. Remove the coolant overflow reservoir tank.
9. Position the RH engine compartment fuse and relay box aside.
10. Remove the RH engine mount and bracket.

pic 2

11. Loosen bolts in the numerical order as shown.

pic 3

- Remove the IVT (intake valve timing) control cover using Tool.
Tool number: KV10111100 (J-37228)
12. Pull chain guide between camshaft sprockets out through front cover.

pic 4

13. Set the No.1 cylinder at TDC on the compression stroke with the following procedure:
a. Rotate the crankshaft pulley clockwise and align the mating marks to the timing indicator on the front cover.

pic 5

b. Line up the mating marks on camshaft sprockets with the yellow links in the timing chain, and paint an indelible mating mark on the sprocket and timing chain link plate.
- If not lined up, rotate the crankshaft pulley one more turn to line up the mating marks to the positions as shown.

pic 6

14. Remove crankshaft pulley with the following procedure:
a. Hold the crankshaft pulley using suitable tool, then loosen the crankshaft pulley bolt, and pull the pulley out about 10 mm (0.39 in).

pic 7

b. Attach suitable pulley puller in the M6 (0.24 in diameter) thread hole on crankshaft pulley, and remove crankshaft pulley using a suitable puller.

pic 8

15. Remove the front cover with the following procedure:
a. Loosen the bolts in the reverse order as shown, and remove them.
b. Remove the front cover.

CAUTION:
- Be careful not to damage the mounting surface.

16. If the front oil seal needs to be replaced, lift it out with a screwdriver to remove it.

pic 9

17. Remove timing chain with the following procedure:
a. Push in the tensioner plunger. Insert a stopper pin into the hole on the tensioner body to secure the chain tensioner plunger and remove chain tensioner.
- Use a wire of 0.5 mm (0.02 in) diameter as a stopper pin.
b. Remove the timing chain.

pic 10

c. Secure hexagonal part of the camshaft with a wrench and loosen the camshaft sprocket bolt and remove the camshaft sprocket for both camshafts.

CAUTION:
- Do not rotate the crankshaft or camshafts while the timing chain is removed. It can cause damage to the valve and piston.

18. Remove the chain slack guide, tension guide, timing chain, and oil pump drive spacer.

pic 11

19. Remove balancer unit timing chain tensioner with the following procedure:
a. Lift lever up, and release the ratchet claw for return proof.
b. Push tensioner sleeve in, and hold it.
c. Matching the hole on lever with the one on body, insert a stopper pin to secure tensioner sleeve.

NOTE: Use approximately 1 mm (0.04 in) dia hard metal pin as a stopper pin.

d. Remove the timing chain tensioner for the balancer unit.
20. Secure width across flats of the balancer LH side shaft using a suitable tool. Loosen the balancer sprocket bolt.
21. Remove balancer unit timing chain, balancer unit sprocket and crankshaft sprocket.

pic 12

22. Loosen bolts in order as shown, and remove balancer unit.
- Use Torx socket (size E14)

CAUTION:
- Do not disassemble balancer unit.

INSPECTION AFTER REMOVAL

Timing Chain

pic 13

Check the timing chain for cracks or serious wear. If a defect is detected, replace it.

Balancer Unit Bolt Outer Diameter

pic 14

- Measure outer diameters (d1, d2) at the two positions as shown.
- Measure d2 within the range A.
- If the value difference (d1 - d2) exceeds the limit (a dimension difference is large), replace it with a new one.
Limit: 0.15 mm (0. 0059 in) or more

INSTALLATION

NOTE:
- There may be two color variations of the link marks (link colors) on the timing chain.
- There are 26 links between the gold/yellow mating marks on the timing chain; and 64 links between the camshaft sprocket gold/yellow link and the crankshaft sprocket orange/blue link, on the timing chain side without the tensioner.

1. Make sure the crankshaft key points straight up.

pic 15

2. Install the balancer unit and tighten the bolts in the numerical order as shown:

CAUTION:
- When reusing a bolt, check its outer diameter before installation. Refer to "Balancer Unit Bolt Outer Diameter".

Tool number: KV10112100 (BT-8653-A)

CAUTION:
- Check tightening angle with an angle wrench or a protractor. Do not make judgment by visual check alone.
- Apply new engine oil to threads and seating surfaces of bolts.

pic 16

Balancer unit bolts
Step 1
Bolts 1-5: 42 Nm (4.3 kg-m, 31 ft-lb)
Bolt 6: 36 Nm (3.7 kg-m, 27 ft-lb)
Step 2
Bolts 1-5: 120°
Bolt 6: 90°
Step 3 (Loosen in reverse order or tightening): 0 Nm (0 kg-m, 0 ft-lb)
Step 4
Bolts 1-5: 42 Nm (4.3 kg-m, 31 ft-lb)
Bolt 6: 36 Nm (3.7 kg-m, 27 ft-lb)
Step 5
Bolts 1-5: 120°
Bolt 6: 90°

pic 17

3. Install the crankshaft sprocket and timing chain for the balancer unit.
- Make sure that the crankshaft sprocket is positioned with mating marks on the block and sprocket meeting at the top.
- Install it by lining up mating marks on each sprocket and timing chain.

pic 18

4. Install timing chain tensioner for balancer unit.

NOTE: Chain guide and tensioner move freely with the staking pin as the axle. Therefore, bolt hole position of the three points could be changed during removal. If points change, temporarily tighten the two bolts on the chain guide and move the tensioner to match the bolt holes.

- Be careful not to let mating marks of each sprocket and timing chain slip.
- After installation, make sure the mating marks have not slipped, then remove stopper pin and release tensioner.

pic 19

5. Install timing chain and related parts.
- Install by lining up mating marks on each sprocket and timing chain as shown.
- 1 Yellow link
- 2 Timing chain
- 3 Camshaft sprocket (INT side)
- 4 Chain tensioner
- 5 Slack guide
- 6 Crankshaft key
- 7 Crankshaft sprocket
- 8 Orange link
- 9 Balancer unit sprocket component
- 10 Yellow link
- 11 Chain tensioner
- 12 Timing chain (for balancer unit)
- 13 Orange link
- 14 Tension guide
- 15 Camshaft sprocket (EXH side)
- 16 Yellow link
- 17 Chain guide
- A Mating mark (lug)
- B Mating mark (stamp)
- C Mating mark (stamp)
- D Mating mark (stamp)
- E Mating mark (stamp)
- F Yellow link

CAUTION: For the above reason, after the mating marks are aligned, keep them aligned by holding them with a hand.

NOTE:
- Before installing chain tensioner, it is possible to change the position of mating mark on timing chain for that of each sprocket for alignment.
- Before and after installing chain tensioner, check again to make sure that mating marks have not slipped.
- After installing chain tensioner, remove stopper pin, and make sure the tensioner moves freely.
- To avoid skipped teeth, do not move crankshaft and camshaft until front cover is installed.

pic 20

6. Install new front oil seal to front cover, using suitable tool
- Install new oil seal in until it is flush with front end surface of front cover.

CAUTION:
- Be careful not to cause damage to circumference of oil seal.

pic 21

7. Install front cover with the following procedure:
a. Install O-rings to cylinder head and cylinder block.
b. Apply Genuine Silicone RTV Sealant or equivalent, to positions specified as shown.
c. Make sure the mating marks on the timing chain and each sprocket are still aligned. Then install the front cover.
Sealant dimension: 3.9 mm (0.154 in) dia.

CAUTION:
- Be careful not to damage the front oil seal during installation with the front end of the crankshaft.

pic 22

d. Tighten front cover bolts in the numerical order as shown.
e. After all bolts are tightened, retighten them to the specified torque.
Front cover bolts
Bolts A: 49 Nm (5.0 kg-m, 36 ft-lb)
Bolts B: 12.7 Nm (1.3 kg-m, 9 ft-lb)
Bolts C: 12.7 Nm (1.3 kg-m, 9 ft-lb)
Bolts D: 49 Nm (5.0 kg-m, 36 ft-lb)
E Dowel pins

CAUTION: Wipe off any excess sealant leaking at the surface for installing the oil pan.

8. Install the chain guide between the camshaft sprockets.
9. Install IVT cover with the following procedure:
a. Install IVT solenoid valve to IVT cover.
b. Install new O-ring to front cover.

pic 23

c. Apply Silicone RTV Sealant to the IVT cover as shown.
- Apply Genuine Silicone RTV Sealant or equivalent, to positions specified as shown.

pic 24

d. Tighten the IVT cover bolts in the numerical order as shown.
10. Insert crankshaft pulley by aligning with crankshaft key.
- Tap its center with a plastic hammer to insert.
- Do not tap the belt hook.
11. Tighten crankshaft pulley bolts.
- Secure crankshaft pulley with a pulley holder to tighten the bolt.
- Perform angle tightening with the following procedure:

a. Apply new engine oil to threads and seat surfaces of bolts.
b. Tighten to initial specifications:
Crankshaft bolt: 42.1 Nm (4.3 kg-m, 31 ft-lb)

pic 25

c. Apply a paint mark on the front cover, mating with any one of six easy to recognize stamp marks on bolt flange.
d. Turn crankshaft pulley bolt another 60° to 66° [Target: 60°].
- Check vertical mounting angle with movement of one stamp mark.
12. Installation of the remaining components is in reverse order of removal.

_____________________________________
Cylinder Head Removal and Replacement

Removal and Replacement
Vehicle Engine, Cooling and Exhaust Engine Cylinder Head Assembly Service and Repair Removal and Replacement
REMOVAL AND REPLACEMENT
Removal and Installation

Exploded View EM-63

Pic 26

REMOVAL
1. Remove the timing chain.
2. Remove the camshafts.
3. Remove spark plugs.
4. Remove the front suspension member.
5. Position the power steering pump and reservoir aside.
6. Disconnect the A/C compressor and position it out of the way with wire.

pic 27

7. Remove cylinder head loosening bolts in the order as shown, using power tool.
8. If necessary to transfer to new cylinder head or remove for reconditioning, remove the intake manifold collector, intake manifold, and fuel tube assembly.

INSPECTION AFTER REMOVAL

Outer Diameter of Cylinder Head Bolts
Cylinder head bolts are tightened by plastic zone tightening method. Whenever the size difference between d1 and d2 exceeds the limit, replace the bolts with new ones.

pic 28

Limit (d1 - d2): 0.23 mm (0.0091 in) or less
If reduction of outer diameter appears in a position other than d2, use it as d2 point.

INSTALLATION
1. Install a new cylinder head gasket.

pic 29

2. Follow the steps below to tighten the cylinder head bolts in the numerical order as shown.

CAUTION:
If cylinder head bolts are re-used, check their outer diameters before installation. Refer to "Outer Diameter of Cylinder Head Bolts".

Step a: 98.1 Nm (10 kg-m, 72 ft-lb)
Step b: Loosen to 0 Nm in the reverse order of tightening.
Step c: 39.2 Nm (4.0 kg-m, 29 ft-lb)
Step d: 75° clockwise
Step e: 75° clockwise

pic 30

Apply new engine oil to the threads and the seating surfaces of bolts.

CAUTION: Check and confirm the tightening angle by using angle wrench or protractor. Avoid judgment by visual inspection without the tool.

Tool number: KV10112100 (BT-8653-A)

pic 31

3. Installation of the remaining components is in reverse order of removal.

_____________________________________________

I hope this helps. Let me know if you have other questions.

Take care and God Bless,

Joe
Was this
answer
helpful?
Yes
No
+1
Friday, February 19th, 2021 AT 7:43 PM
Tiny
RICKYSH11
  • MEMBER
  • 75 POSTS
  • 2006 NISSAN ALTIMA
  • 6 CYL
  • RWD
  • AUTOMATIC
  • 125,000 MILES
My car had a issue with overheating a few months ago, turned out to be a bad radiator fan so it was replaced. Now there seems to be an issue of smoke coming from the engine. The smoke looks to be located towards the back where the manifold is but I am not able to really pinpoint where. It begans when the car heats up to operating temp and only stops when it is turned off. The smoke smells like rubber or oil maybe burning.
Was this
answer
helpful?
Yes
No
Wednesday, February 24th, 2021 AT 6:41 PM (Merged)
Tiny
JACOBANDNICKOLAS
  • MECHANIC
  • 110,194 POSTS
Hi,

This is a big job, but if you take your time, you should be fine. Here are the directions specific to your vehicle for cylinder head removal. The attached pics correlate with the directions.

_____________________________________________

2006 Nissan-Datsun Altima V6-3.5L (VQ35DE)
Removal and Installation
Vehicle Engine, Cooling and Exhaust Engine Cylinder Head Assembly Service and Repair Procedures Removal and Installation
REMOVAL AND INSTALLATION

pic 1

REMOVAL
1. Remove the timing chains.
2. Remove the fuel rail and injectors.

Pic 2

3. Remove the intake manifold using power tool.
Loosen the bolts in the numerical order as shown.
4. Remove the coolant outlet housing.

Pic 3

5. Remove rear timing chain case bolts using power tool.
Loosen the bolts in the numerical order as shown.

Pic 4

6. Remove rear timing chain case using Tool.
Tool number: KV10111100 (J-37228)

pic 5

7. Remove the O-rings from the front of the cylinder heads.
Discard the O-rings and use new O-rings for installation.

Pic 6

8. Remove the O-rings from the cylinder block.
Discard the O-rings and use new O-rings for installation.

Pic 7

9. Remove the IVT control valves.
Discard the IVT control valve gaskets and use new gaskets for installation.

Pic 8

pic 9

10. Remove the intake and exhaust camshafts and the camshaft brackets.
Mark the camshaft brackets so they are placed in the same position and direction for installation.
Equally loosen the camshaft bracket bolts in several steps in the numerical order as shown.

Pic 10

pic 11

11. Remove the RH and LH cylinder head bolts, with power tool.
The bolts should be loosened gradually in three stages.
Loosen the bolts in the numerical order as shown.

Pic 12

12. Remove cylinder heads and gaskets.
Discard the cylinder head gaskets and use new gaskets for installation.

INSTALLATION

pic 13

1. Before installing the rear timing chain case, remove the old Silicone RTV Sealant from mating surface using scraper.
Also remove old sealant from mating surface of cylinder block.

Pic 14

Remove the old Silicone RTV Sealant from the bolt hole and thread.

Pic 15

2. Before installing the front cam bracket, remove the old RTV Silicone Sealant from the mating surface using scraper.
Do not scratch the mating surface.

Pic 16

3. Turn the crankshaft until No. 1 piston is set at TDC on the compression stroke.
The crankshaft key should line up with the right bank cylinder center line as shown.
4. Install new gaskets on the cylinder heads.

Pic 17

CAUTION: Do not rotate crankshaft and camshaft separately or valves will strike piston heads.

5. Inspect the cylinder head bolts before installing the cylinder heads.

Pic 18

CAUTION: Cylinder head bolts are tightened by degree rotation tightening method. Whenever the size difference between d1 and d2 exceeds the limit, replace the bolts with new ones.

Limit (d1 - d2): 0.11 mm (0.0043 inch)
Lubricate threads and seat surfaces of the bolts with new engine oil.

Pic 19

6. Install the cylinder heads on the cylinder block. Tighten the cylinder head bolts in the five stages in the numerical order as shown.
Tightening procedure:

pic 20

pic 21

Cylinder head bolts
Step a: 98.1 Nm (10 kg-m, 72 ft. Lbs.)
Step b: Loosen in the reverse order of tightening
Step c: 32.9 Nm (4.0 kg-m, 29 ft. Lbs.)
Step d: 90° rotation clockwise
Step e: 90° rotation clockwise

pic 22

7. Install camshaft chain tensioners on both sides of cylinder head.
Camshaft chain tensioner bolts: 7 - 10 Nm (0.7 - 1.0 kg-m, 62 - 89 inch lbs.)

pic 23

8. Install exhaust and intake camshafts and camshaft brackets.
Intake camshaft has a drill mark on camshaft sprocket mounting flange.

Pic 24

Follow your identification marks made during removal, or follow the identification marks that are present on the new camshaft components for proper placement.

Pic 25

pic 26

Position the camshafts:
RH exhaust camshaft dowel pin at about 10 o'clock
LH exhaust camshaft dowel pin at about 2 o'clock.

Pic 27

9. Before installing camshaft brackets, apply sealant to mating surface of No. 1 journal head.
Use Genuine RTV Silicone Sealant, or equivalent.

Pic 28

Install camshaft brackets in their original positions and direction. Align the stamp marks as shown.
If any part of valve assembly or camshaft is replaced, check and adjust the valve clearance.
Valve clearance (cold)
Intake: 0.26 - 0.34 mm (0.010 - 0.013 inch)
Valve clearance (cold)
Exhaust: 0.29 - 0.37 mm (0.011 - 0.015 inch)
Lubricate the threads and seat surfaces of the camshaft bracket bolts with new engine oil before installation.
10. Tighten the camshaft brackets in the following three steps in the numerical order as shown.

Pic 29

pic 30

pic 31

pic 32

11. Install the IVT control solenoid valves with new gaskets.
IVT control solenoid valve bolts: 10 - 12 Nm (1.0 - 1.3 kg-m, 87 - 112 inch lbs.)

pic 33

12. Install the new O-rings on the cylinder block.

Pic 34

13. Install the new O-rings on the cylinder head.
14. Apply sealant to the specified portion of the rear timing chain case.
Use Genuine Silicone RTV Sealant, or equivalent.

Pic 35

Before installation, wipe off the protruding sealant.

Pic 36

15. Align rear timing chain case with dowel pins, then install on cylinder head and block.
16. Tighten rear chain case bolts in two stages.
A. Tighten bolts in numerical order as shown.
B. Retighten bolts in numerical order as shown.
17. Install the coolant outlet housing.

Pic 37

18. Install the intake manifold with a new gasket.
Tighten the bolts in the numerical order as shown.
Step 1: 5 - 10 Nm (0.5 - 1.0 kg-m, 44 - 86 inch lbs.)
Step 2: 26 - 31 Nm (2.7 - 3.2 kg-m, 20 - 23 ft. Lbs.)
19. Install the fuel rail and injectors.
20. Install the timing chains.

________________________________

I hope this helps. Let me know if you have other questions.

Take care and God Bless,

Joe
Was this
answer
helpful?
Yes
No
Wednesday, February 24th, 2021 AT 6:41 PM (Merged)
Tiny
2CP-ARCHIVES
  • MEMBER
  • 4,540 POSTS
  • 2006 NISSAN ALTIMA
I'm trying to replace head gasket. Now that i'm trying to put it back together I get my all my gear line up like they supposed to be and some reason when I started to turn motor on bottom gear motor will not turn and it act like cam is stuck. So I pull chain off I can turn all camshaft and bottom gear but when I got chain on I cannot turn it. Could you tell me what might be wrong?
Was this
answer
helpful?
Yes
No
Wednesday, February 24th, 2021 AT 6:41 PM (Merged)
Tiny
JACOBANDNICKOLAS
  • MECHANIC
  • 110,194 POSTS
Something must be binding or the timing isn't correct. Here are the directions for the removal and replacement of the chain. Take a look through it to see if there is something you missed. The attached pics correlate with the directions. Note: This is for the 2.5L 4 cylinder engine.

_________________________________

2005 Nissan-Datsun Altima L4-2.5L (QR25DE)
Removal and Replacement
Vehicle Engine, Cooling and Exhaust Engine Timing Components Timing Chain Service and Repair Removal and Replacement
REMOVAL AND REPLACEMENT

TIMING CHAIN

pic 1

Removal and Installation

CAUTION: Apply new engine oil to parts marked in illustration before installation.

REMOVAL
1. Support the engine and transaxle assembly with suitable tools.
2. Remove RH splash shield.
3. Remove the upper and lower oil pan, and oil strainer.
4. Remove generator. Refer to "Removal".
5. Remove engine cover.
6. Disconnect variable timing control solenoid harness connector.
7. Remove engine ground.
8. Remove the coolant overflow reservoir tank.
9. Position the RH engine compartment fuse and relay box aside.
10. Remove the RH engine mount and bracket.

Pic 2

11. Loosen bolts in the numerical order as shown.

Pic 3

Remove the IVT (intake valve timing) control cover using Tool.
Tool number : KV10111100 (J-37228)
12. Pull chain guide between camshaft sprockets out through front cover.

Pic 4

13. Set the No. 1 cylinder at TDC on the compression stroke with the following procedure:
a. Rotate the crankshaft pulley clockwise and align the mating marks to the timing indicator on the front cover.

Pic 5

b. At the same time, make sure that the mating marks on camshaft sprockets are lined up with the yellow links in the timing chain, as shown.
- If not lined up, rotate the crankshaft pulley one more turn to line up the mating marks to the positions as shown.

Pic 6

14. Remove crankshaft pulley with the following procedure:
a. Hold the crankshaft pulley using suitable tool, then loosen the crankshaft pulley bolt, and pull the pulley out about 10 mm (0.39 inch).

Pic 7

b. Attach suitable pulley puller in the M 6 (0.24 inch diameter) thread hole on crankshaft pulley, and remove crankshaft pulley using a suitable puller.

Pic 8

15. Remove the front cover with the following procedure:
a. Loosen the bolts in the reverse order as shown, and remove them.
B. Remove the front cover.

CAUTION:
- Be careful not to damage the mounting surface.

16. If the front oil seal needs to be replaced, lift it out with a screwdriver to remove it.

Pic 9

17. Remove timing chain with the following procedure:
a. Push in the tensioner plunger. Insert a stopper pin into the hole on the tensioner body to hold the chain tensioner.
- Use a wire of 0.5 mm (0.02 inch) diameter as a stopper pin.
B. Remove the chain tensioner.

Pic 10

c. Secure hexagonal part of the camshaft with a wrench and loosen the camshaft sprocket bolt and remove the camshaft sprocket for both camshafts.

CAUTION:
- Do not rotate the crankshaft or camshafts while the timing chain is removed. It can cause damage to the valve and piston.

Pic 11

18. Remove the chain slack guide, tension guide, timing chain, and oil pump drive spacer.
19. Remove the timing chain tensioner for the balancer unit with the following procedure:
a. Lift the tensioner lever up, and release the ratchet claw for installation.
B. Push tensioner sleeve in, and hold it.
C. Matching the hole on lever with the one on body, insert a stopper pin to secure tensioner sleeve.
D. Remove the timing chain tensioner for the balancer unit.
20. Remove timing chain for balancer unit and crankshaft sprocket.

Pic 12

21. Loosen bolts in reverse order as shown, and remove balancer unit.
- Use Torx socket (size E14)

CAUTION:
- Do not disassemble balancer unit.

INSPECTION AFTER REMOVAL
Timing Chain

pic 13

Check the timing chain for cracks or serious wear. If a defect is detected, replace it.

Balancer Unit Bolt Outer Diameter

pic 14

- Measure outer diameters (d1, d2) at the two positions as shown.
- Measure d2 within the range A.
- If the value difference (d1 - d2) exceeds the limit (a dimension difference is large), replace it with a new one.
Limit : 0.15 mm (0.0059 inch) or more

INSTALLATION

NOTE:
- There may be two color variations of the link marks (link colors) on the timing chain.
- There are 26 links between the gold/yellow mating marks on the timing chain; and 64 links between the camshaft sprocket gold/yellow link and the crankshaft sprocket orange/blue link, on the timing chain side without the tensioner.

1. Make sure the crankshaft key points straight up.

Pic 15

2. Install the balancer unit and tighten the bolts in the numerical order as shown:

CAUTION:
- When reusing a bolt, check its outer diameter before installation.
Tool number : KV10112100 (BT-8653-A)

CAUTION:
- Check tightening angle with an angle wrench or a protractor. Do not make judgment by visual check alone.

Pic 16

- Apply new engine oil to threads and seating surfaces of bolts.
Balancer unit bolts
Step 1 : 45.2 - 51.0 Nm (4.6 - 5.2 kg-m, 34 - 37 ft. Lbs.)
Step 2 : 90° - 95° degrees rotation (Target: 90° degrees)
Step 3 (Loosen in reverse order or tightening : 0 Nm (0 kg-m, 0 ft. Lbs.)
Step 4 : 45.2 - 51.0 Nm (4.6 - 5.2 kg-m, 34 - 37 ft. Lbs.)
Step 5 : 90° - 95° degrees rotation (Target: 90° degrees)

pic 17

3. Install the crankshaft sprocket and timing chain for the balancer unit.
- Make sure that the crankshaft sprocket is positioned with mating marks on the block and sprocket meeting at the top.
- Install it by lining up mating marks on each sprocket and timing chain.

Pic 18

4. Install timing chain tensioner for balancer unit.

NOTE: Chain guide and tensioner move freely with the staking pin as the axle. Therefore, bolt hole position of the three points could be changed during removal. If points change, temporarily tighten the two bolts on the chain guide and move the tensioner to match the bolt holes.
- Be careful not to let mating marks of each sprocket and timing chain slip.
- After installation, make sure the mating marks have not slipped, then remove stopper pin and release tensioner.

Pic 19

5. Install timing chain and related parts.
- Install by lining up mating marks on each sprocket and the yellow links in the timing chain as shown.

NOTE: Before installing chain tensioner, it is possible to change the position of mating mark on timing chain for that of each sprocket for alignment.

CAUTION: For the above reason, after the mating marks are aligned, keep them aligned by holding them with a hand.

- Before and after installing chain tensioner, check again to make sure that mating marks have not slipped.
- After installing chain tensioner, remove stopper pin, and make sure the tensioner moves freely.
- To avoid skipped teeth, do not move crankshaft and camshaft until front cover is installed.

Pic 20

6. Install new front oil seal to front cover, using suitable tool
- Install new oil seal in until it is flush with front end surface of front cover.

CAUTION:
- Be careful not to cause damage to circumference of oil seal.

Pic 21

7. Install front cover with the following procedure:
a. Install O-rings to cylinder head and cylinder block.
B. Apply Genuine Silicone RTV Sealant or equivalent, to positions specified in the figure. Refer to "RECOMMENDED CHEMICAL PRODUCTS AND SEALANTS".
C. Make sure the mating marks on the timing chain and each sprocket are still aligned. Then install the front cover.

CAUTION:
- Be careful not to damage the front oil seal during installation with the front end of the crankshaft.

Pic 22

d. Tighten front cover bolts in the numerical order as shown.
E. After all bolts are tightened, retighten them to the specified torque.
Front cover bolts : 12 - 13 Nm (1.2 - 1.4 kg-m, 9 - 10 ft. Lbs.)

CAUTION: Wipe off any excess sealant leaking at the surface for installing the oil pan.

8. Install the chain guide between the camshaft sprockets.
9. Install IVT cover with the following procedure:
a. Install IVT solenoid valves to IVT cover.
B. Install new oil rings to the intake camshaft sprocket insertion points on IVT control cover backside.
C. Install new O-ring to front cover.

Pic 23

d. Apply Silicone RTV Sealant to the IVT cover as shown.
- Apply Genuine Silicone RTV Sealant or equivalent, to positions specified in the figure. Refer to "RECOMMENDED CHEMICAL PRODUCTS AND SEALANTS".

Pic 24

e. Tighten the IVT cover bolts in the numerical order as shown.
IVT cover bolts : 12 - 13 Nm (1.2 - 1.4 kg-m, 9 - 10 inch lbs.)
10. Insert crankshaft pulley by aligning with crankshaft key.
- Tap its center with a plastic hammer to insert.
- Do not tap the belt hook.

11. Tighten crankshaft pulley bolts.
- Secure crankshaft pulley with a pulley holder to tighten the bolt.
- Perform angle tightening with the following procedure:
a. Apply new engine oil to threads and seat surfaces of bolts.
B. Tighten to initial specifications:
Crankshaft pulley bolt initial tightening : 37.3 - 47.1 Nm (3.8 - 4.8 kg-m, 28 - 34 ft. Lbs.]

pic 25

c. Apply a paint mark on the front cover, mating with any one of six easy to recognize stamp marks on bolt flange.
D. Turn crankshaft pulley bolt another 60° to 66° degrees [Target: 60° degrees].
- Check vertical mounting angle with movement of one stamp mark.
12. Installation of the remaining components is in reverse order of removal.

_________________________

I hope this helps. Let me know if you have other questions.

Take care,
Joe
Was this
answer
helpful?
Yes
No
Wednesday, February 24th, 2021 AT 6:41 PM (Merged)
Tiny
MATT PUGH
  • MEMBER
  • 2 POSTS
  • 2006 NISSAN ALTIMA
  • 2.5L
  • 4 CYL
  • 2WD
  • AUTOMATIC
  • 174,000 MILES
After putting new head gasket on and having the head shaved, I set the timing marks on triple checked them and also put a new VVT on it. After filling up with oil and water I hooked the battery cable up the car started right up drove it five or six miles ran like a dream. Then after driving it back home and parking it about ten to fifteen minutes later after the car had been turned off I got back in it started to town I got half a mile from the house and the check engine light came on. It still starts up and runs but it won’t let you give it any throttle. I had the code checked it was P0011. I don’t want to break it all back down just to make sure it is still in time. I need some advice thanks.
Was this
answer
helpful?
Yes
No
Wednesday, February 24th, 2021 AT 6:41 PM (Merged)
Tiny
SCGRANTURISMO
  • MECHANIC
  • 4,897 POSTS
Hi Matt, my name is Alex and I will be helping you today. I'm sorry, but this DTC is set when your camshaft for bank 1 is over advanced. The only real fix is to go back in and reset it, lining up the timing marks. Hope this helps.
Was this
answer
helpful?
Yes
No
+1
Wednesday, February 24th, 2021 AT 6:42 PM (Merged)
Tiny
MATT PUGH
  • MEMBER
  • 2 POSTS
Thanks for your help. I figured. Can just the timing cover come off without taking the whole oil pan off?
Was this
answer
helpful?
Yes
No
Wednesday, February 24th, 2021 AT 6:42 PM (Merged)
Tiny
SCGRANTURISMO
  • MECHANIC
  • 4,897 POSTS
From the looks of this exploded diagram it looks like there are two bolts in the front of the oil pan that need to be removed. If you choose not to remove the oil pan, I would very careful not to damage the oil pan gasket when removing the timing chain cover.
Was this
answer
helpful?
Yes
No
Wednesday, February 24th, 2021 AT 6:42 PM (Merged)
Tiny
JACKLEEN
  • MEMBER
  • 1 POST
  • 2003 NISSAN ALTIMA
  • 2.5L
  • 4 CYL
  • 4WD
  • AUTOMATIC
  • 179,656 MILES
I just found out I have a blown head gasket and I have white smoke coming out of only one tail pipe and not the other. Don't know what to do.
Was this
answer
helpful?
Yes
No
Wednesday, February 24th, 2021 AT 6:42 PM (Merged)
Tiny
ASEMASTER6371
  • MECHANIC
  • 52,796 POSTS
Good morning,

The cylinder head will have to be removed, inspected and checked for being warped.

https://www.2carpros.com/articles/how-a-cylinder-head-works

The lower end of the engine, the main and rod bearing need to be checked as well for any damage from the coolant in the oil.

This will not be a cheap job and in most cases, replacing the motor is recommended. You can get a used one to keep down the cost.

Even if you fixed the old engine, you still need to determine why the gasket failed. A failed head gasket is the result of overheating, not the cause of overheating.

Roy
Was this
answer
helpful?
Yes
No
Wednesday, February 24th, 2021 AT 6:42 PM (Merged)
Tiny
LYNN BEAUDOIN
  • MEMBER
  • 1 POST
  • 2002 NISSAN ALTIMA
  • 2.5L
  • 4 CYL
  • 2WD
  • AUTOMATIC
  • 182,000 MILES
I have a 2002 nissan altima. 4cly. I'm pretty sure it's a 2.5L? I went to georgia and back that's 1,100 mile round trip and alot of driveing all together. While I was there my alternator went. Which except for some front end work ( from all the pot holes) I really haven't had a problem with this car ever. When I got back I had some starting issues. It didn't want too! So brought it to the guy he's like it's the ignition coil pack. He changed it. I got it back my car ran like CRAP! For about a week. He's like oh btw your engine is dead. Probably a blown head gasket or rings. I've had exsperience with 2 blown engines in the past. But I don't understand how this is possiable on my current car. This cars starting issue where it turns over but dosen't at the same time. So I am not convinced it's blown, it dosen't fit. Fluids are mixing, there is no knocking noise, there is no constant smoke. When it drives it drives! So I would like your theory? This is more of a discripton.

Car turns over but dosen't catch
keeps cranking until either battery dies or it puffs puffs and starts.
I was suggested to put a thicker oil in to prevent any leaking of oil but that was a big mistake it blew threw the gasket and into the last cyl. When we pulled it out it was a valcano. Changed the oil right away haven't had the issue again
cleaned that out ran fine for weeks.
So oil Is getting onto the last plug.
Fluids ARE NOT mixing. My coolant is pink and my oil is brown/black.
I don't know if I am loosing coolant or not because I just had a broken heater coil pack and ended up all in my car and I've had it back for only a few days. ( But so far levels seem fine)
car only smokes white when car dosen't want to start. And it smells like a gocart really gassy smell it's not sweet like coolant. Only time it smokes.
When it's on it cruises
most time car turns over really well

I am a little concered about something though. I did this yesterday and it putt putt putted with a few backfire and then it coaght when I got out of the car there was alot of white smoke ok my tale pipe but then under the passangers side white smoke was shooting down to the ground as well? But then after about a min everything went normal no smoke runnning smooth. Did check the plugs today the last one was wet. So cyl 4 is it the head itself or is it just the cyl?

So I really don't believe it's the head gasket/bad engine we believe it's a bad valve cover ( the cyl is 1 they are not seprate items) but I was hoping for some feed back. I need help. Hopless car owner
Was this
answer
helpful?
Yes
No
Wednesday, February 24th, 2021 AT 6:43 PM (Merged)
Tiny
HMAC300
  • MECHANIC
  • 48,601 POSTS
Check for an internal leak like ahead gasket they can leak to outside, through exhaust etc. This guide can help us fix it

https://www.2carpros.com/articles/head-gasket-blown-test

Please run down this guide and report back.
Was this
answer
helpful?
Yes
No
Wednesday, February 24th, 2021 AT 6:43 PM (Merged)
Tiny
KAMA_808
  • MEMBER
  • 3 POSTS
  • 2002 NISSAN ALTIMA
  • 125,000 MILES
There is water in my oil and I wanted to know if there are tests I should run on my car before I do anything?
Also if it is a warped head or blown head gasket if I could use some sort of liquid (like the blue devil) to stop the leak and not have to spend $2,000 for a overhaul? Also is there any other way that water can get in to my oil other then a blown head or head gasket? Also is it possible that I can fix the problem myself?
Was this
answer
helpful?
Yes
No
Wednesday, February 24th, 2021 AT 6:44 PM (Merged)
Tiny
ASEMASTER6371
  • MECHANIC
  • 52,796 POSTS
Sealers can work check out this video.

https://youtu.be/Xi41RFMP8Ow

Roy
Was this
answer
helpful?
Yes
No
Wednesday, February 24th, 2021 AT 6:44 PM (Merged)
Tiny
KAMA_808
  • MEMBER
  • 3 POSTS
This worked great! Thank you
Was this
answer
helpful?
Yes
No
Wednesday, February 24th, 2021 AT 6:44 PM (Merged)
Tiny
TGBARON
  • MEMBER
  • 4 POSTS
  • 2002 NISSAN ALTIMA
  • 4 CYL
  • FWD
  • AUTOMATIC
  • 99,000 MILES
Dealer diagnosis was a leaking head gasket (causing rough idle at start up) Decided I would atempt it my self, things were going smooth untill I tried removing the timming cover, I removed all visible bolts, double and tripple checked. Top part came loose but the bottom part wont budge, broke cover prying on it, im an idiot sometimes. My question is are there bolts on the inside underneath the pan that is holding this thing on? Or is there a trick I dont know about. Any help would be appreciated THANKS Greg.
Was this
answer
helpful?
Yes
No
Wednesday, February 24th, 2021 AT 6:45 PM (Merged)
Tiny
DOCFIXIT
  • MECHANIC
  • 18,828 POSTS
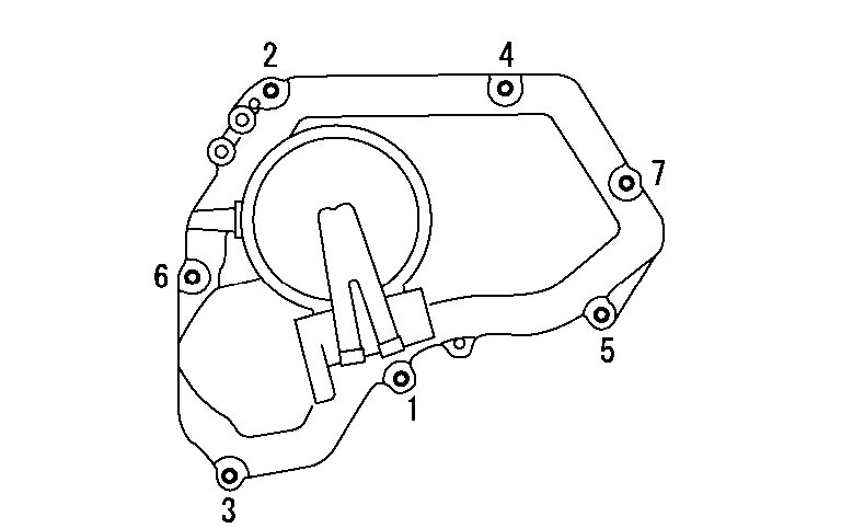
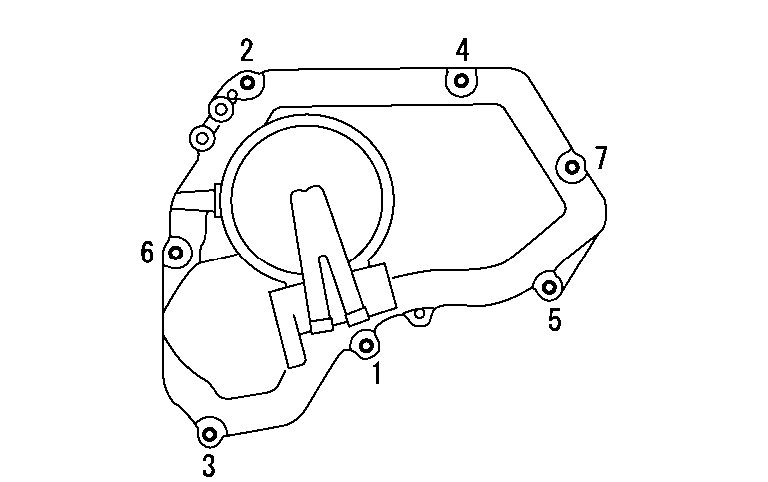
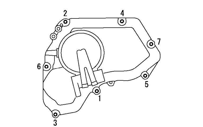
Hi Must remove upper and lower oil pans first. Crankshaft pully then unbolt cover see diagram


https://www.2carpros.com/forum/automotive_pictures/198357_Graphic_350.jpg


You may want to click on site at bottom of post ie. manuals and get instructions . It is fairly complex task
Hope this helps
Thanks for donate
Was this
answer
helpful?
Yes
No
Wednesday, February 24th, 2021 AT 6:45 PM (Merged)
Tiny
TGBARON
  • MEMBER
  • 4 POSTS
I thought that might be the case, I have a haynes manual it didnt say anything about removing the oil pans first. Well thanks Docfixit that helped alot. Greg
Was this
answer
helpful?
Yes
No
Wednesday, February 24th, 2021 AT 6:45 PM (Merged)
Tiny
DOCFIXIT
  • MECHANIC
  • 18,828 POSTS
Your Welcome sometime Haynes leaves out a few steps
Was this
answer
helpful?
Yes
No
Wednesday, February 24th, 2021 AT 6:45 PM (Merged)

Please login or register to post a reply.