Fuel pump constantly cycles?

Tiny
BRIAN333
  • MEMBER
  • 99 POSTS
I’ll send all 6, there’s more cranking than I thought.
Was this
answer
helpful?
Yes
No
Saturday, June 17th, 2023 AT 10:54 PM
Tiny
BRIAN333
  • MEMBER
  • 99 POSTS
They all have sound.
Was this
answer
helpful?
Yes
No
Saturday, June 17th, 2023 AT 10:56 PM
Tiny
BRIAN333
  • MEMBER
  • 99 POSTS
Did you see the videos I put up? I believe you’ll be able to hear enough crank time B between all 6 cylinders as I was also making sure I had spark on all, and I did.
Still showing two codes p0122, throttle position sensor circuit voltage low and, p1361 IC circuit voltage low. I hope this helps man. Thanks again, have a good night.
Was this
answer
helpful?
Yes
No
Monday, June 19th, 2023 AT 10:25 PM
Tiny
JACOBANDNICKOLAS
  • MECHANIC
  • 110,192 POSTS
Hi,

I watched the videos. Spark isn't right with them. In one video there is a strong indication of spark at specific times. The others are dim, erratic, and one I can't see the test light.

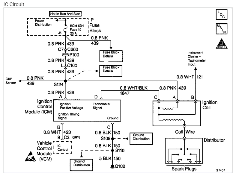
Looking at this, I have a feeling (theory) the VCM is going bad. That would tie into the P1361. The VCM controls the IC using the crankshaft position sensor for ignition timing.

I attached the diagnostics below for the P1361. Take a look through them and let me know if you are comfortable performing them.

Take a look at the first video above. Note how dim the test lamp is. In video 2 the light is bright, but it appears to light twice once right after the other. In video 3, there is a long delay for any spark to appear.

Let me know if I'm seeing that correctly.

Take care,

Joe

See pics below.
Was this
answer
helpful?
Yes
No
+1
Tuesday, June 20th, 2023 AT 8:23 PM
Tiny
BRIAN333
  • MEMBER
  • 99 POSTS
I agree with what you’re saying about the spark, I honestly wasn’t sure if that was a related to timing or not, the one that fired “late” really had me scratching my head if it was supposed to be that way or not, I had a feeling it wasn’t correct though, I didn’t really notice the brightness as well as you did. Well on one test I did but then I realized I’d forgotten to plug the previous plug I tested back in, I didn’t send that one though, I deleted it because after hooking the plug wire back up, it looked more like I was expecting it too.
I’ve read some threads about that 1361 and it doesn’t appear to be an easy thing to figure out for some people and it had threads with titles like “ GM dreaded p1361 dtc” lol, however it does match up with the troubles I’ve been experiencing, fixing one thing that normally would’ve/should’ve fixed the problem or at least not created different problems anyway & having that pattern repeated a couple times, it’s definitely why I thought it was a ground issue. I’ll read over that and get back to you, odds are I’ll give it a go and whatever questions I have, I’ll pass them along. Thanks again for your time!
Was this
answer
helpful?
Yes
No
Wednesday, June 21st, 2023 AT 12:12 AM
Tiny
BRIAN333
  • MEMBER
  • 99 POSTS
Joe, the service manual info you sent is for high voltage and the 1361 code says it’s a low voltage issue, are the tests the same?
I was just reading something very similar a couple hours ago as what you sent. However, it was for a different year vehicle but I’m glad I familiarized myself with it. It appears to be stuff I can do, new stuff I always take my time on, so I don’t break something else but that’s just my personal technique lol. Um, the first test says something about performing a test on the injector, I’m not familiar with how to access them the right way. Just steer in the right direction and I’ll give it heck. Thanks again.
Was this
answer
helpful?
Yes
No
Wednesday, June 21st, 2023 AT 12:20 AM
Tiny
JACOBANDNICKOLAS
  • MECHANIC
  • 110,192 POSTS
Hi,

I just double-checked the code, and it indicates high voltage. As far as the connector is concerned, see pic 1 below. Pic 2 simply is to confirm what I'm seeing.

Let me know what you find.

Take care,

joe

See pics below.
Was this
answer
helpful?
Yes
No
+1
Wednesday, June 21st, 2023 AT 10:37 PM
Tiny
BRIAN333
  • MEMBER
  • 99 POSTS
Sorry to ask again, this one is just a little above my pay grade, lol. Do I have to remove the plenum to get to the injector connector?
Was this
answer
helpful?
Yes
No
Saturday, June 24th, 2023 AT 3:29 PM
Tiny
JACOBANDNICKOLAS
  • MECHANIC
  • 110,192 POSTS
Hi,

No problem whatsoever. You should be able to remove the connector without removing the intake. The connector (if I recall correctly) should be behind the throttle body.

Let me know.

Joe
Was this
answer
helpful?
Yes
No
+1
Saturday, June 24th, 2023 AT 8:58 PM
Tiny
BRIAN333
  • MEMBER
  • 99 POSTS
Sweet, thanks
Was this
answer
helpful?
Yes
No
Sunday, June 25th, 2023 AT 2:46 PM
Tiny
BRIAN333
  • MEMBER
  • 99 POSTS
Okay, finally got started on those tests, made it to step one which was removing fuel injector connector and crank for 30 seconds (I only did about twenty as battery didn’t have enough to go 30, well two 10 second interval cranks in a row) I checked the codes again and no code 1361(although the text says 1351 which is why I was confused but nonetheless). Once this test was complete it refers me to a diagnostic aid and in my humble opinion, that is you, lol.
Was this
answer
helpful?
Yes
No
Tuesday, June 27th, 2023 AT 5:06 PM
Tiny
BRIAN333
  • MEMBER
  • 99 POSTS
Oh yes, the only code I get is the same one I get every time which is p0122 throttle position sensor, I’ve tried two different brand new ones and get the same code as my original, I don’t think that’s the main source of the problem however it is valuable information.
Was this
answer
helpful?
Yes
No
Tuesday, June 27th, 2023 AT 5:09 PM
Tiny
BRIAN333
  • MEMBER
  • 99 POSTS
My codes and freeze frames before pulling connector.
Was this
answer
helpful?
Yes
No
Tuesday, June 27th, 2023 AT 5:13 PM
Tiny
BRIAN333
  • MEMBER
  • 99 POSTS
And the on/off repeating of my fuel pump relay. Another thing that I just want to send for reference. Thanks again
Was this
answer
helpful?
Yes
No
Tuesday, June 27th, 2023 AT 5:14 PM
Tiny
BRIAN333
  • MEMBER
  • 99 POSTS
In the first ten seconds of cranking, it did have a little more ambition to try and start, I’m assuming that’s because there had to be fuel in the cylinders for running the dtc test.
Was this
answer
helpful?
Yes
No
Tuesday, June 27th, 2023 AT 5:16 PM
Tiny
BRIAN333
  • MEMBER
  • 99 POSTS
The second test disconnected ICM and tested white wire(B) while someone cranked with voltmeter to ground and on A/C registers between 0.25 and 0.75 volts. If I’m not mistaken this is supposed to be between 0.5 and 4.5 V if I remember correctly. I'm working my way through the rest of these today hopefully.
Thank you again for your time and expertise.
Was this
answer
helpful?
Yes
No
Wednesday, June 28th, 2023 AT 12:46 PM

Please login or register to post a reply.