Faint grinding noise when the steering wheel is rotated in very slow speed

Tiny
YOURMINKY
  • MEMBER
  • 106 POSTS
Thanks for your help. AFAIK, no one drove over a speed bump or a curb. I managed to create another audio+video file that your website will allow. This new audio recording was made while the car was moving very slowly in a parking lot. My new video/audio which is below has a huge resemblance to the noise described by this other youtube video:
https://www.youtube.com/watch?v=573lXRedKAM
that someone else uploaded. He was having a struts bearing issue. Please review both. How to tell if it is a struts bearing or a bad CV joint half shaft issue?
Was this
answer
helpful?
Yes
No
Sunday, May 5th, 2019 AT 1:21 PM
Tiny
JACOBANDNICKOLAS
  • MECHANIC
  • 110,194 POSTS
Welcome back:

Either you have a bad CV joint or a wheel bearing that is ready to fall apart. Take a look through this link.

https://www.2carpros.com/articles/symptoms-of-a-bad-cv-axle-joint

In your first video, it was hard to tell what is happening. However, when driving straight, it sounds like a wheel bearing is making noise. However, it could be just road noise I'm hearing. If it is making a howling sound or noise when driving straight, see if the sound changes when you turn left or right. Also, safely lift the vehicle and check for play in the wheel.

Here are directions for checking a wheel bearing. You can simply lift the vehicle and by placing your hands at 3 and 9oclock, see if there is movement. Do the same at 6 and 12oclock.

___________________________

WHEEL BEARING END PLAY INSPECTION
WHEEL BEARING END PLAY INSPECTION
1. Inspect the play of the bearing while the vehicle is jacked up and resting on floor jack.
2. If there is any play, remove the hub cap and then release the parking brake.

pic 1

3. Check the bearing end play. Place a dial gauge against the hub surface, then move the hub in the axial direction and check whether or not there is end play.
Service limit mm (inch): 0.005 - 0.025 (0.0002 - 0.001 or less
4. If the end play exceeds the limit, the rear wheel bearing nut should be tightened to the specified torque and check the end play again.
5. Replace the rear hub bearing unit if an adjustment cannot be made to within the limit.

Not always is there play in and out or side to side, so spin the wheel to see if there is any noise that is heard or if it feel rough.

Let me know what you find.

Joe
Was this
answer
helpful?
Yes
No
Sunday, May 5th, 2019 AT 6:14 PM
Tiny
KEN L
  • MASTER CERTIFIED MECHANIC
  • 55,522 POSTS
Please let us know what you find. We are interested to see what it is.
Was this
answer
helpful?
Yes
No
Friday, May 10th, 2019 AT 10:44 AM
Tiny
YOURMINKY
  • MEMBER
  • 106 POSTS
The right wheel bearing is showing some play now. I think it is a case of a bad wheel bearing.
Was this
answer
helpful?
Yes
No
Sunday, May 19th, 2019 AT 12:14 PM
Tiny
JACOBANDNICKOLAS
  • MECHANIC
  • 110,194 POSTS
Welcome back:

Chances are that is the problem. Here are the directions for replacement. The attached pics correlate with the directions.

___________________________________________

FRONT

pic 1

REMOVAL
1. Remove the wheel and tire.

Pic 2

2. Remove the drive shaft nut.
3. Remove the vehicle speed sensor from the axle assembly.

Pic 3

4. Remove the front brake assembly from the knuckle and suspend with a wire.

NOTE: Brake hose does not need to be disconnected from brake caliper. Be careful not to depress brake pedal, or piston will pop out.

5. Disconnect the lower arm ball joint from the knuckle using the special tool.

Pic 4

6. Disconnect the tie rod and ball joint from the knuckle using the special tool.

NOTE:
1) Be sure to tie a cord to the special tool and to a nearby part.
2) Loosen the nut but do not remove it.

Pic 5

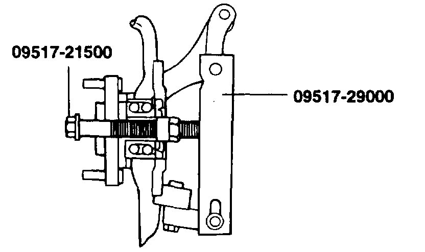
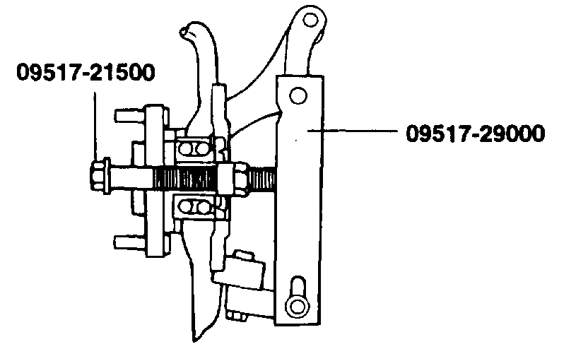
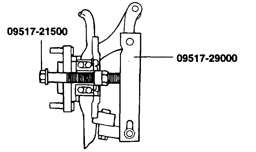
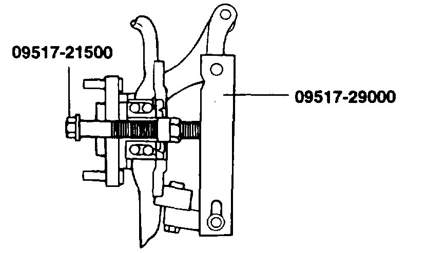
7. Disconnect the drive shaft from the hub using the special tool.

Pic 6

8. Remove the hub and knuckle as an assembly from the strut.

INSPECTION
1. Check the hub for cracks and the splines for wear.
2. Check the snap ring for cracking or damage.
3. Check the steering knuckle for cracks.

DISASSEMBLY

pic 7

1. Remove the snap ring.

Pic 8

2. Attach the special tools to the knuckle and hub.
3. Secure the knuckle in a vise.
4. Tighten the nut of the special tool and remove the hub from the knuckle.

NOTE: When removing wheel hub or wheel bearing from knuckle, replace wheel bearing assembly (outer race, inner races and grease seals) with a new one.

Pic 9

5. Using the special tool, remove the wheel bearing inner race (outside) from the front hub.

Pic 10

6. Install the inner race (outside) that was removed from the hub to the wheel bearing, and then use the special tool to remove the wheel bearing.

INSPECTION
1. Check the hub and brake disc mounting surfaces for scoring and contamination.
2. Check the knuckle inner surface for scoring and cracks.
3. Check for a defective bearing.

REASSEMBLY
1. Fill the wheel bearing with multipurpose grease.
2. Apply a thin coating of multipurpose grease to the knuckle and bearing contact surfaces.

Pic 11

3. Press-in the bearing by using the special tool.

NOTE: Do not press inner race of wheel bearing assembly.

Pic 12

4. Install snap ring into groove of knuckle.

Pic 13

pic 14

5. Measure the hub bearing starting torque.

Pic 15

6. If the starting torque is 0 Nm (0 inch lbs.), Measure the hub bearing axial play.

Pic 16

7. If the hub axial play exceeds the limit while the nut is tightened to 200 - 260 Nm (2,000 - 2,600 kg-cm, 148 - 192 ft. Lbs.), The bearing, hub and knuckle have not been install correctly.
Repeat the disassembly and assembly procedure.
8. Remove the special tool.

INSTALLATION
1. Install parts to the torque specifications.
2. Be sure to install the washer and wheel bearing nut in the specified direction.
3. After installing the wheel, lower the vehicle to the ground and tighten the wheel bearing nut.
4. If the position of the split pin holes do not match, tighten the nut up to 260 Nm (2600 kg-cm, 188 ft. Lbs.) Maximum.
5. Install the split pin in the first matching holes and bend it over.

________________________________________

Let me know if this helps or if you have other questions.

Take care,
Joe
Was this
answer
helpful?
Yes
No
+1
Sunday, May 19th, 2019 AT 6:33 PM
Tiny
YOURMINKY
  • MEMBER
  • 106 POSTS
Thank you. I paid someone who has air tools to replace the bearing for me. The grinding noise is gone. However, the ticking noise and growling from the bad power steering pump is still there. I am planning to replace the PS pump tomorrow. I think I can handle it myself. Will update soon.
Was this
answer
helpful?
Yes
No
Friday, May 24th, 2019 AT 9:01 PM
Tiny
JACOBANDNICKOLAS
  • MECHANIC
  • 110,194 POSTS
Welcome back:

I will watch for your reply Also, here is a link that shows in general how to replace the pump. I thought I would add it just in case.

https://www.2carpros.com/articles/how-to-replace-a-power-steering-pump

Take care,

Joe
Was this
answer
helpful?
Yes
No
Friday, May 24th, 2019 AT 10:32 PM
Tiny
YOURMINKY
  • MEMBER
  • 106 POSTS
I changed the power steering pump today. The new power steering pump bottom bolt thread was smaller than the old one. I had to use a few washers because the bolt won't go in all the way. I didn't want to wait another month to send back the part and then wait for the replacement to arrive by mail. Refilled the reservoir with Walmart brand PS fluid which is Dexron III. All noises are gone. The car is driving great again. Thank you for your help.
Was this
answer
helpful?
Yes
No
Saturday, May 25th, 2019 AT 5:17 PM
Tiny
JACOBANDNICKOLAS
  • MECHANIC
  • 110,194 POSTS
Welcome back:

Thanks for the update. I'm glad it's working properly again. Take care and let us know if you have questions in the future.

Happy Memorial Day,

Joe
Was this
answer
helpful?
Yes
No
Saturday, May 25th, 2019 AT 6:29 PM

Please login or register to post a reply.