Engine idle issue

Tiny
NEGUS
  • MEMBER
  • 2007 HONDA CIVIC
  • 1.8L
  • 2WD
  • AUTOMATIC
  • 210,000 MILES
Good day, first was my idle rising but recently I fixed my A/C. When I put the A/C on the car felt like the engine was going to drop, like the A/C was to strong for the engine. The car started stalling, the accelerator pedal stopped piking up. At one point the car was moving 40 km/h, when I put it on park or neutral, it just kept firing up and down until I off the car and on it back after a minute. Most times when I am driving and remove my leg from the accelerator pedal, the car fires up like it is on neutral (my idle goes up instead of stepping down). Please is my engine weak? Do I need a new engine for the car? It is depressing and I cannot change the car even if I wanted to. I need help.
Saturday, September 1st, 2018 AT 1:51 AM

1 Reply

Tiny
JACOBANDNICKOLAS
  • MECHANIC
  • 110,194 POSTS
Hi and thanks for using 2CarPros.com.

Your vehicle has an electronic throttle control actuator which maintains engine idle speed based on need. For example, if nothing is on and then you turn the AC on, it adds a load to the engine. At that point, the power control module increases the idle speed via the actuator to account for the added load.

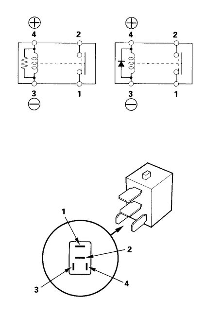
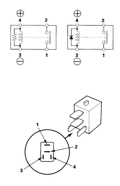
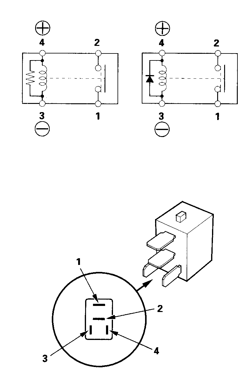
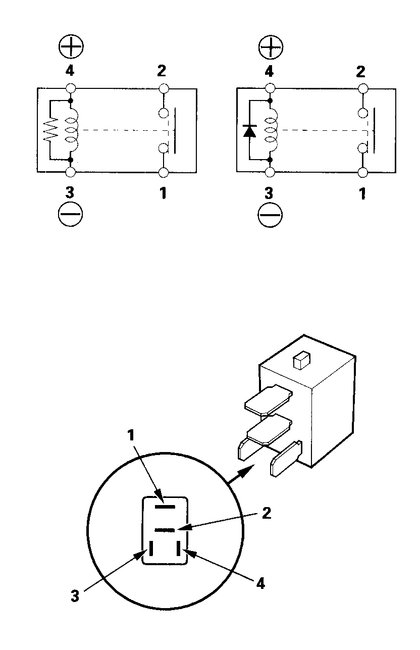
With that being said, the first thing I need you to check is the throttle actuator relay. It is located under the hood of the vehicle on the driver's side. I have attached a picture of its location as well as the location of the actuator. There are two ways you can check it. First, locate another relay in the same box with the same part number on it and switch them. Or, here are general directions for checking a relay.

https://www.2carpros.com/articles/how-to-check-an-electrical-relay-and-wiring-control-circuit

The first picture I have attached is the location. Here are directions for checking the relay specific to your vehicle: Pictures 2 and 3 correlate with these directions.

__________________________________

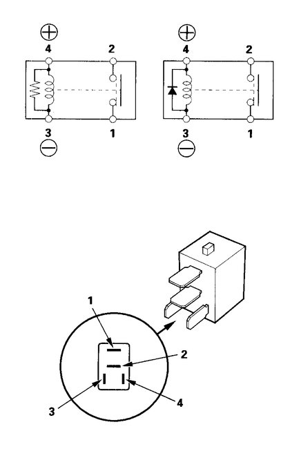
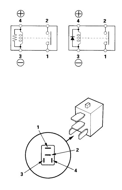
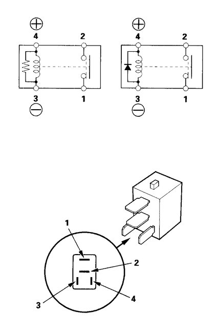
POWER RELAY TEST
Power Relay Test
Use this chart to identify the type of relay, then do the test listed for it.
Normally-open type
Check for continuity between the terminals.
- There should be continuity between the No.1 and No.2 terminals when battery positive terminal is connected to the No.4 terminal, and battery negative terminal is connected to the No.3 terminal.
- There should be continuity between the No.1 and No.2 terminals when power is disconnected.
______________________________________________

If you find the relay is good, chances are the sensor is bad. However, a bad sensor should have set the check engine light to come on. If that is the case, scan the computer to determine the code and let me know what it is. That way I can point you in the right direction.

https://www.2carpros.com/articles/checking-a-service-engine-soon-or-check-engine-light-on-or-flashing

https://youtu.be/YV3TRZwer8k

Let me know if this helps or if you have other questions.

Take care,
Joe
Was this
answer
helpful?
Yes
No
Saturday, September 1st, 2018 AT 9:19 PM

Please login or register to post a reply.