Dome lights not working

2005 HONDA ACCORD
154,000 MILES
Avatar
RDUNN54
  • MEMBER
  • 1 POST
The two map lights do not come on when the door is opened. The rear light does when any of the four doors are opened, indicating the door switches are fine. Could it be the door/off selector switch in the ceiling between the map lights? What is this called if I wanted to find a replacement. How can I test this? Are there any other selections on this car to adjust the selection of these lights coming on when the door is opened? Thanks.
Feb 14, 2019 at 11:55 AM
Repair Safety Notice: This information is for general instructional purposes only. Vehicle repair can be dangerous. Verify all information, follow manufacturer service procedures, use proper tools and safety equipment, and consult a qualified repair shop when needed.
Advertisement
Avatar
JACOBANDNICKOLAS
  • CAR REPAIR CONTRIBUTOR
  • 110,190 POSTS
Hi and thanks for using 2CarPros.

The switch you are referring to is only to turn the dome light on all the time, to come on with doors opening, or off all the time. It won't do anything with the map lights.

Have you checked the bulbs? Have you checked to see if there is power to the map light bulbs? Are there any other electrical components which have stopped working?

Here are the directions for replacing the map light bulbs. Take things apart and inspect the bulbs. Also, confirm if there is power to the lights. After these directions, I will provide links that show how to use general testing equipment as well as how to check wiring. The attached pictures attached correlate with these directions.


____________________________

PROCEDURES
Front Individual Map Light Replacement

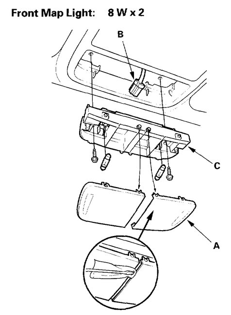
With Moonroof


Picture 1
1. Carefully pry off the lens (A) with a small screwdriver.
2. Remove the two mounting screws.
3. Disconnect the 3P connector (B) from the housing (C).
4. Disconnect the 8P connector (D) from the ambient light (E).
5. Install the light in the reverse order of removal.

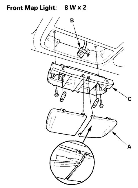
Without Moonroof

Picture 2

1. Carefully pry off the lens (A) with a small screwdriver.
2. Remove the two mounting screws.
3. Disconnect the 3P connector (B) from the housing (C).
4. Install the light in the reverse order of removal.

_________________________________________________

Here are links you may find helpful:

https://www.2carpros.com/articles/how-to-use-a-test-light-circuit-tester

https://www.2carpros.com/articles/how-to-use-a-voltmeter

https://www.2carpros.com/articles/how-to-check-wiring

Also, confirm the fuses are all good.

https://www.2carpros.com/articles/how-a-car-fuse-works

https://www.2carpros.com/articles/how-to-check-a-car-fuse

Let me know if this helps and what you find. If you have other questions or need help, let me know.

Joe
Feb 14, 2019 at 7:23 PM
Advertisement