Car will not turn over

Tiny
JESSE LEE2
  • MEMBER
  • 2010 HONDA INSIGHT HYBRID
  • 4 CYL
  • 2WD
  • AUTOMATIC
  • 118,000 MILES
Battery was replaced three months ago, all fluid levels are fine. Been driving daily with no issues whatsoever. This morning I try and start it and it won't turn over. I just get this check brake system warning warning on the dash display.
Wednesday, April 24th, 2019 AT 12:11 PM

9 Replies

Tiny
KEN L
  • MASTER CERTIFIED MECHANIC
  • 55,488 POSTS
Hello,

This sounds like it could be a defective battery. can I ask what brand was used? Here is a guide to help load test the battery also lets recheck the battery connections. Here are two guides to help you:

https://www.2carpros.com/articles/car-battery-load-test

and

https://www.2carpros.com/articles/everything-goes-dead-when-engine-is-cranked

This is for the 12 volt system not the high voltage hybrid battery. Please run down these guides and report back. We are interested to see what it is.
Was this
answer
helpful?
Yes
No
Thursday, April 25th, 2019 AT 2:51 PM
Tiny
JACOBANDNICKOLAS
  • MECHANIC
  • 110,194 POSTS
Welcome to 2CarPros.

Honestly, it could be a few things. However, without checking for diagnostic trouble codes, it will become a guessing game. My first suspect is the brake pedal position switch is out of adjustment or bad, but that is a theory.

What I need you to do is get your hands on a scanner. Most parts stores will lend or rent one to you and see if you are able to retrieve any codes with it. Here is a quick video showing how it is done:

https://youtu.be/YV3TRZwer8k

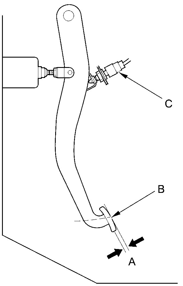
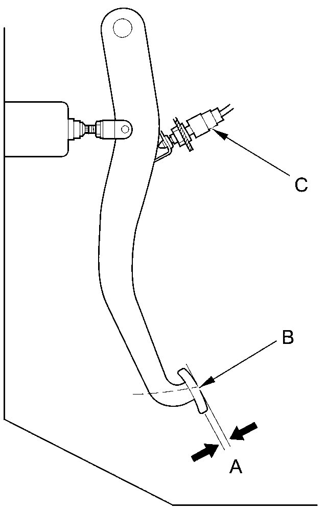
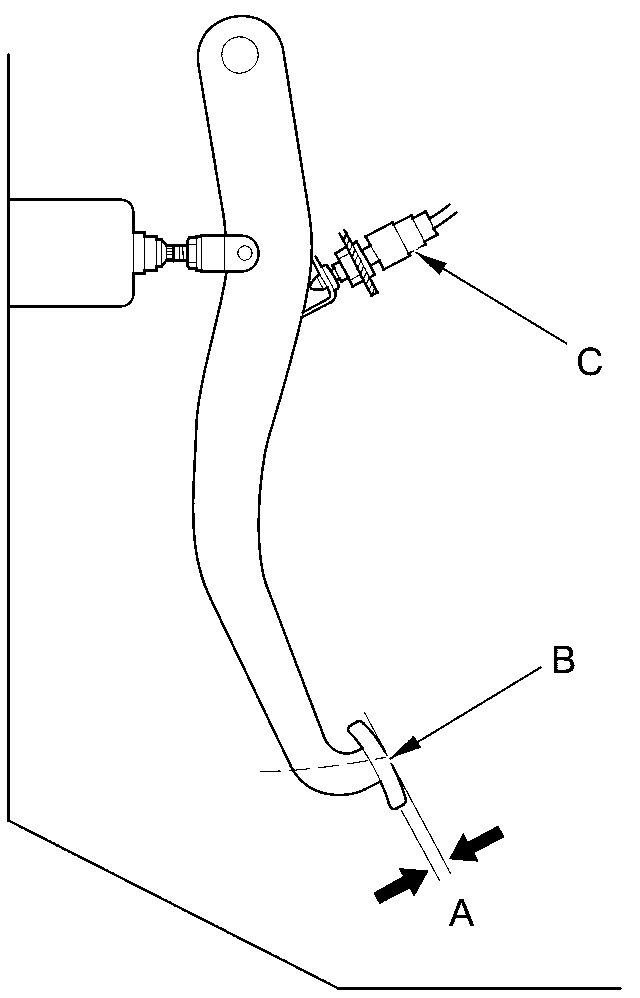
If you find there are codes, let me know what they are. Also, if you want to check the switch for adjustment, here are the directions. The attached pictures correlate with these directions.

______________________________________

BRAKE PEDAL AND BRAKE PEDAL POSITION SWITCH/IDLE STOP SWITCH ADJUSTMENT
Brake Pedal and Brake Pedal Position Switch/Idle Stop Switch Adjustment

Pedal Height

1. Remove the driver's dashboard undercover See: Dashboard / Instrument Panel > Removal and Replacement > Driver's Dashboard Undercover Removal/Installation.

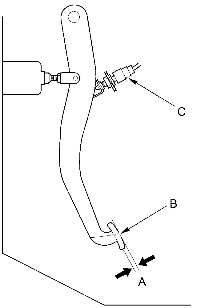
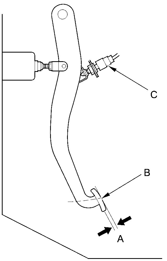
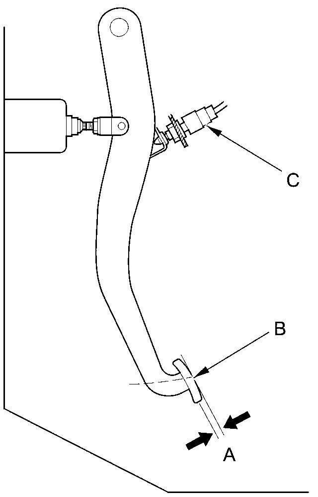
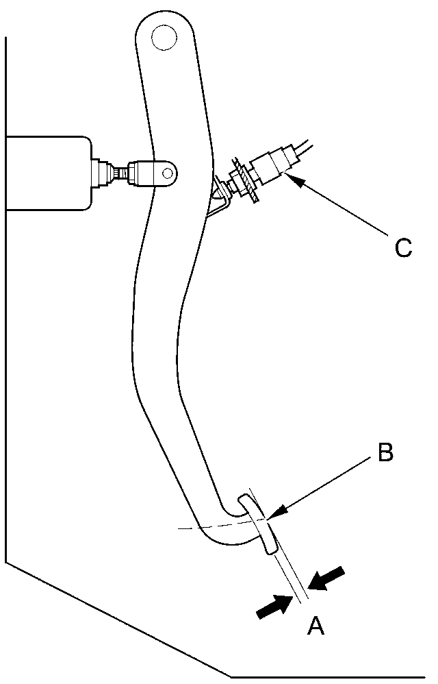
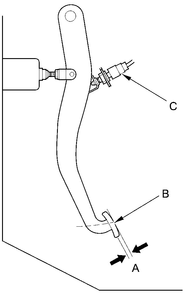
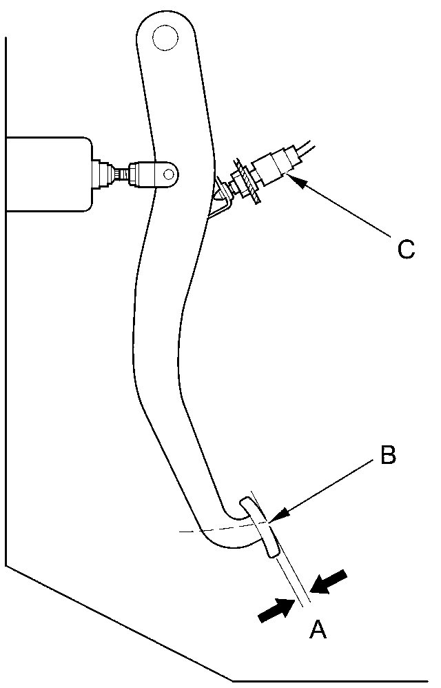
2. Turn the brake pedal position switch (A) counterclockwise, and pull it back until it is no longer touching the brake pedal.

3. Disconnect idle stop switch connector (B).

4. Turn the idle stop switch counterclockwise, and pull it back until it is no longer touching the brake pedal.

pic 1

5. Pull back the carpet and find the cutout (C) in the insulation. Measure the pedal height (D) at the center side of the pedal pad (E) to the floor without the insulation.

pic 2

pic 3

6. Loosen the pushrod locknut (A), and screw the pushrod (B) in or out with pliers until the standard pedal height from the floor is reached. After adjustment, tighten the locknut firmly. Do not adjust the pedal height with the pushrod pressed.

pic 4

7. Brake pedal position switch adjustment: Lift up on the brake pedal by hand. Push in the brake pedal position switch until its plunger is fully pressed (threaded end (A) touching the pad (B) on the pedal arm). Then, turn the switch 45 ° clockwise to lock it. The gap between the brake pedal position switch and the pad is automatically adjusted 0.7 mm (0.03 in) by locking the switch. Make sure the brake lights go off when the pedal is released.

pic 5

8. Idle stop switch adjustment: Adjust the idle stop switch (C). Screw in the idle stop switch until its plunger is fully pressed (threaded end (D) is touching the pad on the pedal arm). Then back off the switch 1/2-3/4 turn to make 0.6-0.9 mm (0.02-0.04 in) of clearance between the threaded end and the pad. Tighten the locknut firmly. Connect the idle stop switch connector. When finished, start the engine, and warm it up to normal operating temperature (the radiator fan comes on), then make sure the engine stops when the brake pedal is pressed.

NOTE:

- When either the brake pedal position switch or the idle stop switch needs adjusting, both switches must be adjusted together to keep their functions synchronized. Always adjust the brake pedal position switch first, then adjust the idle stop switch; never adjust the switches independently.
- When the brake pedal is released, the brake pedal position switch is normally open and the idle stop switch is normally closed.

9. Install the all removed parts in the reverse order of removal.

10. Check the brake pedal free play.

Pedal Free Play

1. With the ignition switch in LOCK (0), inspect the play (A) at the brake pedal pad (B) by pushing the brake pedal by hand. If the brake pedal free play is out of specification, adjust the brake pedal position switch (C). If the brake pedal free play is insufficient, it may result in brake drag.

pic 6

pic 7

____________________________________

Let me know if this helps. Also, if you identify the trouble codes, I will be able to help a lot more.

Take care,
Joe
Was this
answer
helpful?
Yes
No
Thursday, April 25th, 2019 AT 2:56 PM
Tiny
JESSE LEE2
  • MEMBER
  • 4 POSTS
I appreciate the advice, but I am not knowlegeble enough, nor do I have the proper tools to take the dash apart.

I will try various parts stores to see if they can rent me an automobile scanner. Will update if I can get a hold of one.
Was this
answer
helpful?
Yes
No
Thursday, April 25th, 2019 AT 6:10 PM
Tiny
JACOBANDNICKOLAS
  • MECHANIC
  • 110,194 POSTS
Welcome back:

No problem and you are very welcome. Let me know if I can help.

Take care,
Joe
Was this
answer
helpful?
Yes
No
Thursday, April 25th, 2019 AT 7:54 PM
Tiny
JESSE LEE2
  • MEMBER
  • 4 POSTS
Okay, so update, battery was measured at 10 volts, it was on a trickle charger all night and was measured at 13 volts when.I disconnected it and the car started. Drove it a while then came home. Brakes worked fine, no engine warning lights no nothing.

An hour later it wouldn't start and the battery measured 10 volts again.

I took the battery in for warranty and they gave me a new battery, said it was faulty.

So everything is working fine now on the car with the new battery, bit my question is this.

Could it have in fact been a faulty battery from the start? Or would a bad DCM have screwed up the battery? I only ask because I'm scared in another three months the same thing will happen if the DCM is malfunctioning.

If it was, I'd get a light on the dash right?
Was this
answer
helpful?
Yes
No
Saturday, April 27th, 2019 AT 10:56 AM
Tiny
KEN L
  • MASTER CERTIFIED MECHANIC
  • 55,488 POSTS
You may not get a light on the dash. The battery brand has a lot to do with it. I would get a replacement from the dealer, this will be a high quality battery. Here is a guide to help you change it:

https://www.2carpros.com/articles/how-to-replace-a-car-battery

Please run down this guide and report back.
Was this
answer
helpful?
Yes
No
Saturday, April 27th, 2019 AT 11:28 AM
Tiny
JESSE LEE2
  • MEMBER
  • 4 POSTS
Already replaced the battery as I said, got it on warranty.

My concern is that the DCM is what ruined the battery and the same thing will happen with the new battery.

Would the dash show an icon if the DCM was not working?
Was this
answer
helpful?
Yes
No
Saturday, April 27th, 2019 AT 11:32 AM
Tiny
JACOBANDNICKOLAS
  • MECHANIC
  • 110,194 POSTS
If the new battery did the same thing, either you are getting bad ones or there is a draw. Have you checked for an electrical draw?

https://www.2carpros.com/articles/car-battery-dead-overnight

Also, what Ken mentioned could be the issue. If the battery isn't a problem, something is drawing power.

Let me know.

Joe
Was this
answer
helpful?
Yes
No
Saturday, April 27th, 2019 AT 8:10 PM
Tiny
KEN L
  • MASTER CERTIFIED MECHANIC
  • 55,488 POSTS
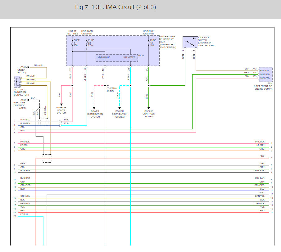
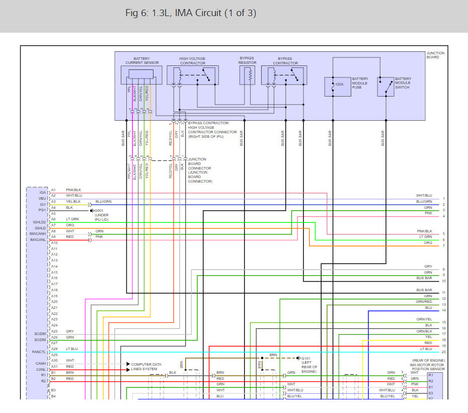
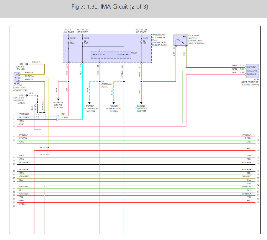
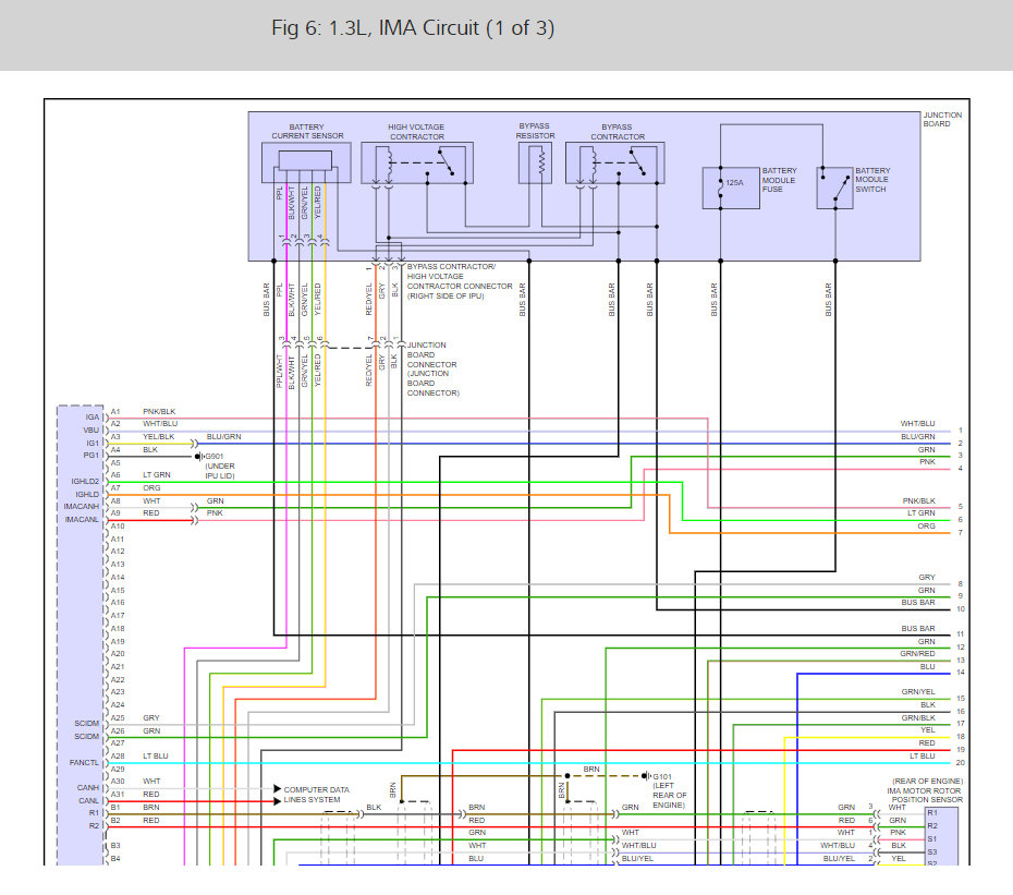
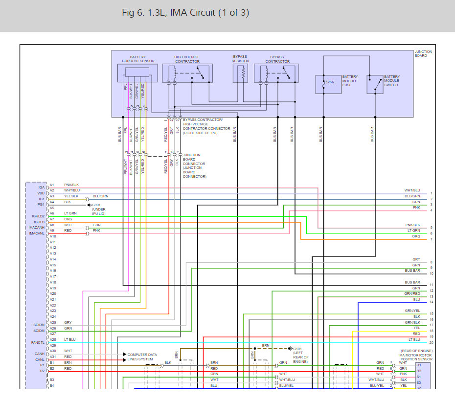
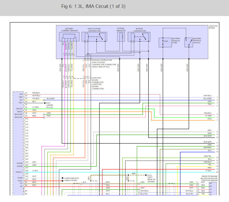
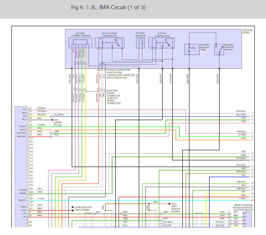
I have seen the PGM FI relay stick on causing the battery to drain. Here is a guide to help check it with the location of the relay and the engine and IMA control circuits so you can see how the system works below:

https://www.2carpros.com/articles/how-to-check-an-electrical-relay-and-wiring-control-circuit

Check out the diagrams (below). Please let us know what happens.
Was this
answer
helpful?
Yes
No
Monday, April 29th, 2019 AT 11:50 AM

Please login or register to post a reply.