Saturday, September 2nd, 2017 AT 6:09 PM
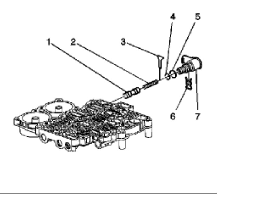
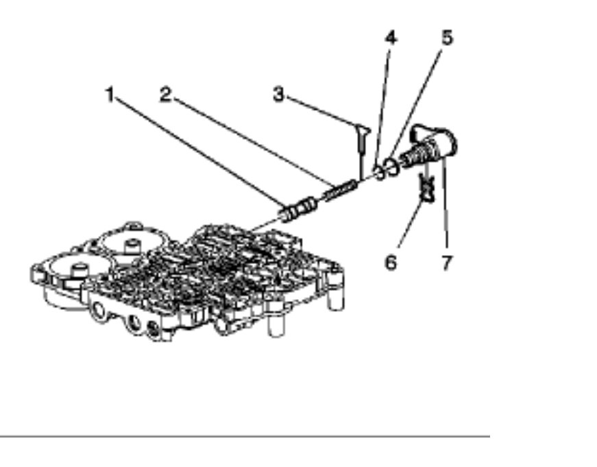
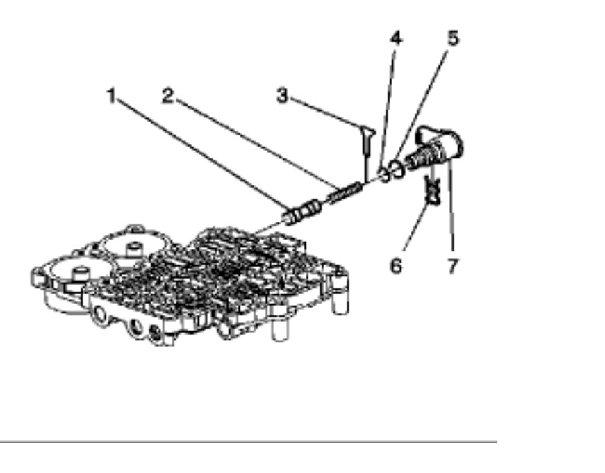
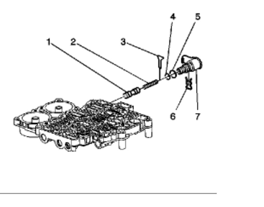
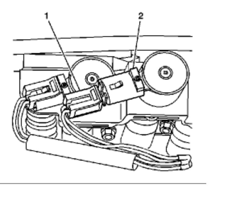
When I drive always when accelerating in between second and third gear my car jerks hard. Next weekend I when to a place to check my transmission and they said it had metal shavings and need it to rebuild the transmission but ""I think it is just the shifter solenoid that is getting clogged up or something" what should I do? Where is the shifter solenoid located? Should I replaced my self?















