Not starting

Tiny
JOHN CLARK8
  • MEMBER
  • 2007 PONTIAC G5
  • 2.4L
  • 4 CYL
  • 2WD
  • AUTOMATIC
  • 199,000 MILES
The antitheft come up when I first turn key but is hone after 5 seconds. Tried all suggestions still will not start.
Tuesday, December 8th, 2020 AT 1:46 PM

7 Replies

Tiny
ASEMASTER6371
  • MECHANIC
  • 52,796 POSTS
Good evening,

If the light goes out, it is not the security system at all.

https://www.2carpros.com/articles/how-to-reset-a-security-system

I attached a diagram of the starting system for you to view. We need to do some testing at the relay.

https://www.2carpros.com/articles/how-to-check-wiring

https://www.2carpros.com/articles/starter-not-working-repair

https://www.2carpros.com/articles/how-to-check-an-electrical-relay-and-wiring-control-circuit

Roy
Was this
answer
helpful?
Yes
No
Tuesday, December 8th, 2020 AT 3:28 PM
Tiny
JOHN CLARK8
  • MEMBER
  • 17 POSTS
I never saw the light until I hot boost from a truck then light was there. Reset it once then when I was tighten battery cable socket touch other terminal and now light is back.
Was this
answer
helpful?
Yes
No
Wednesday, December 9th, 2020 AT 4:06 AM
Tiny
ASEMASTER6371
  • MECHANIC
  • 52,796 POSTS
Check all your fuses with a test light to see if any have failed.

https://www.2carpros.com/articles/how-to-check-a-car-fuse

Hopefully the only damage you did was blow a fuse.

Roy
Was this
answer
helpful?
Yes
No
Wednesday, December 9th, 2020 AT 5:07 AM
Tiny
JOHN CLARK8
  • MEMBER
  • 17 POSTS
What main fuses should I be checking?
Was this
answer
helpful?
Yes
No
Wednesday, December 9th, 2020 AT 8:50 AM
Tiny
ASEMASTER6371
  • MECHANIC
  • 52,796 POSTS
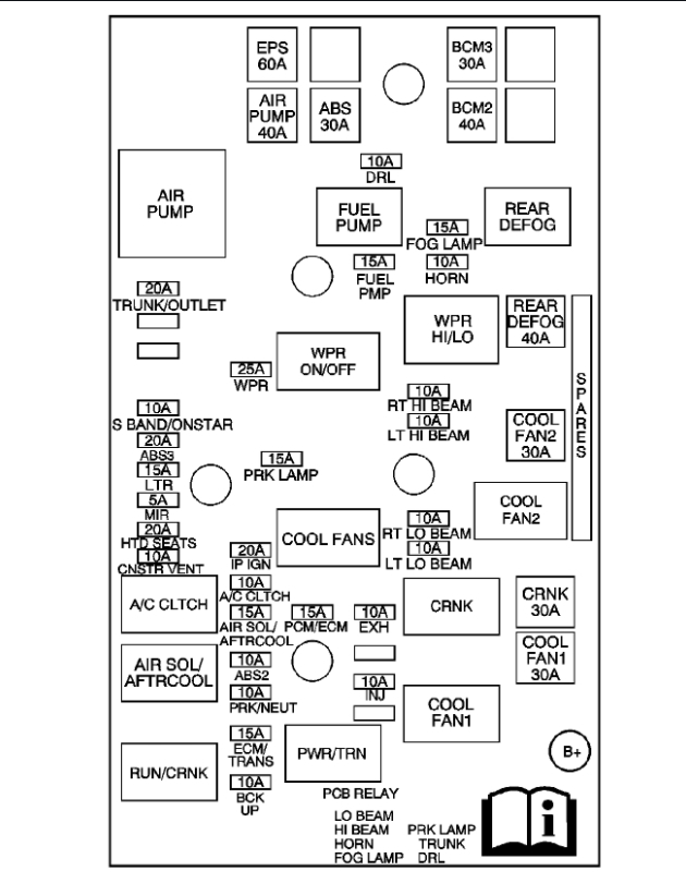
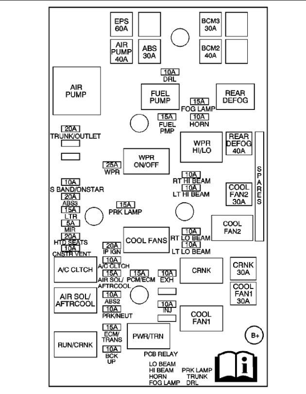
I would check every fuse in the fuse block.

I attached the diagram of the fuse block for you to view.

Roy
Was this
answer
helpful?
Yes
No
Wednesday, December 9th, 2020 AT 3:58 PM
Tiny
JOHN CLARK8
  • MEMBER
  • 17 POSTS
I have another issue with 2005 Jeep Grand Cherokee. I change out the crankshaft sensor and the cam sensor now it cranks but will not start. Checked all fuses they are good. Any suggestion?
Was this
answer
helpful?
Yes
No
Friday, December 11th, 2020 AT 4:30 AM
Tiny
ASEMASTER6371
  • MECHANIC
  • 52,796 POSTS
We can only deal with one vehicle per question.

Please start a new question and I will be glad to help.

Roy
Was this
answer
helpful?
Yes
No
Friday, December 11th, 2020 AT 4:33 AM

Please login or register to post a reply.