No communication with the ABS module

Tiny
ASEMASTER6371
  • MECHANIC
  • 52,796 POSTS
Good morning.

You could try removing the valve and cleaning the inside area where it seats. There may be debris on the surface the bleeder mounts.

If that does not work, then the ABS unit will have to be replaced.

Roy
Was this
answer
helpful?
Yes
No
+1
Tuesday, February 23rd, 2021 AT 9:16 AM (Merged)
Tiny
DALE KL
  • MEMBER
  • 2 POSTS
Thanks, l will try that.
Was this
answer
helpful?
Yes
No
Tuesday, February 23rd, 2021 AT 9:16 AM (Merged)
Tiny
ASEMASTER6371
  • MECHANIC
  • 52,796 POSTS
You are welcome. Keep us updated.

Roy
Was this
answer
helpful?
Yes
No
+1
Tuesday, February 23rd, 2021 AT 9:16 AM (Merged)
Tiny
LIONWOLF
  • MEMBER
  • 5 POSTS
  • 1999 CHEVROLET SILVERADO
  • 5.3L
  • 5 CYL
  • 2WD
  • AUTOMATIC
  • 200,000 MILES
I watched your video on replacing 1999 Chevy Silverado 1500 LS 2wd 5.3L ABS Module and I was told I have to flush the brake fluid after I put in new ABS Module. Is this true and where do I bleed the fluid from?
Was this
answer
helpful?
Yes
No
Tuesday, February 23rd, 2021 AT 9:17 AM (Merged)
Tiny
AL514
  • MECHANIC
  • 5,590 POSTS
Hello thanks for using 2CarPros, has the brake fluid ever been replaced since you've had the truck? It is a good idea, if the fluid is black in the master cylinder, then bleed the master itself so that none of that old fluid goes into the ABS module, then refill it with new fluid and bleed the whole system. Start with the wheel closest to the master cylinder (so the front drive side) then the passenger side front, then the drivers side rear, and last the passenger side rear, since it's the farthest from the master cylinder. This way all the air will be able to escape. There should also be 2 bleed screws on the abs module, bleed the one closest to the firewall first,then the other.

this guide should help

https://www.2carpros.com/articles/how-to-bleed-or-flush-a-car-brake-system

Please run down this guide and report back.
Was this
answer
helpful?
Yes
No
+1
Tuesday, February 23rd, 2021 AT 9:17 AM (Merged)
Tiny
AL514
  • MECHANIC
  • 5,590 POSTS
I'm sorry I had the process reversed. Start with the wheel farthest from the master cylinder which is the passenger side rear, then the driver's side rear, then passenger side front, then driver's side front. I'm sorry I had them backwards before, (this is edited) This way all the air will be able to escape. There should also be 2 bleed screws on the ABS module, bleed the one closest, to the firewall first, then the other.
Was this
answer
helpful?
Yes
No
+1
Tuesday, February 23rd, 2021 AT 9:17 AM (Merged)
Tiny
LIONWOLF
  • MEMBER
  • 5 POSTS
Awesome thank you! I was just wondering how air gets into the line when replacing abs module because it’s only held on by four screws. Or is it just a good idea to change brake fluid cause usually the fluids been in the lines awhile when you replace ABS module?
Was this
answer
helpful?
Yes
No
Tuesday, February 23rd, 2021 AT 9:17 AM (Merged)
Tiny
AL514
  • MECHANIC
  • 5,590 POSTS
It's just a good idea to flush the brake fluid since you're already replacing the module. It's part of routine maintenance, but also to make sure all the air is out of the new module. Does the new module have bleeder screws on it? Some don't.
Was this
answer
helpful?
Yes
No
+1
Tuesday, February 23rd, 2021 AT 9:17 AM (Merged)
Tiny
LIONWOLF
  • MEMBER
  • 5 POSTS
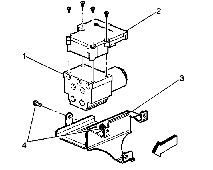
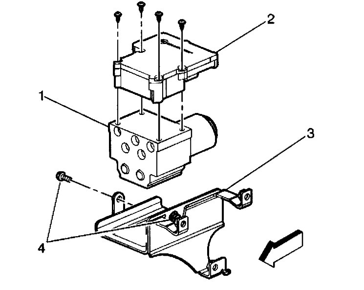
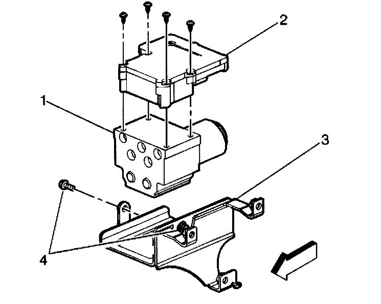
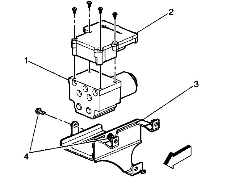
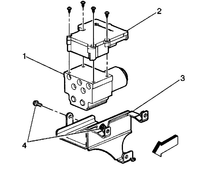
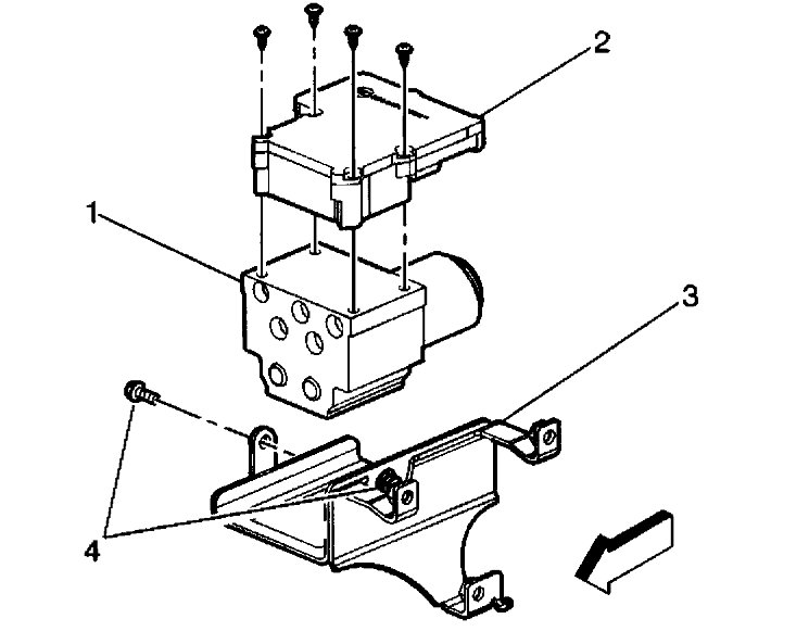
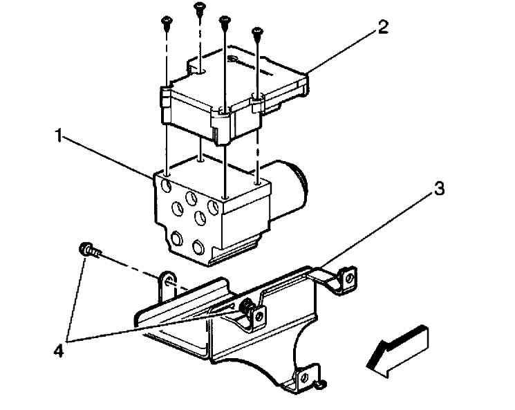
No bleeder screws on this one just 3 connectors and it’s under the truck. I was just thinking why bleed the lines when no fluid goes into the ABS Module. It’s literally a small flattish metal and plastic box with 3 connection spots and a circuit board inside.
Was this
answer
helpful?
Yes
No
Tuesday, February 23rd, 2021 AT 9:17 AM (Merged)
Tiny
AL514
  • MECHANIC
  • 5,590 POSTS
Okay, I see. I thought you were replacing the whole hydraulic unit. Yes the modules just bolt right on top of the hydraulic unit. I think this the same module as you're doing in this video . I don't see why you would have to flush the fluid in this case. Unless it's black, that means the seals in the master cylinder are going bad.
https://youtu.be/lUotkKXG9dY
Was this
answer
helpful?
Yes
No
+1
Tuesday, February 23rd, 2021 AT 9:17 AM (Merged)
Tiny
AL514
  • MECHANIC
  • 5,590 POSTS
Just make sure the brake pedal is firm and not spongy. That would indicate air in the system. And may I ask who told you to flush the whole system?
Was this
answer
helpful?
Yes
No
+1
Tuesday, February 23rd, 2021 AT 9:17 AM (Merged)
Tiny
LIONWOLF
  • MEMBER
  • 5 POSTS
Thank you for your help I really appreciate it. The person while told me to flush it was someone I know who works at a local commercial garage, but I’m guessing he thought I was replacing the whole unit as well. Again thank you!
Was this
answer
helpful?
Yes
No
Tuesday, February 23rd, 2021 AT 9:17 AM (Merged)
Tiny
AL514
  • MECHANIC
  • 5,590 POSTS
No problem, let us know if there's anything else we can help with.
Was this
answer
helpful?
Yes
No
+1
Tuesday, February 23rd, 2021 AT 9:17 AM (Merged)
Tiny
OLDCHAS
  • MEMBER
  • 1 POST
  • CHEVROLET SILVERADO
MY truck is a 1999 2wd ext cab. 56000 mi. 6cyl.
The abs module has 5 ports for hydraulic lines. Three in a row near the top of one end of the unit and two spaced just below those. Two of these ports are for input lines and three are for output. I need to know which ports are input (one front input and one input for the rear) and which are output (one output rear, two output front.)


http://www.2carpros.com/forum/automotive_pictures/82139_KHABS_1.jpg

Was this
answer
helpful?
Yes
No
Tuesday, February 23rd, 2021 AT 9:17 AM (Merged)
Tiny
DODGERAM333
  • MEMBER
  • 1 POST
Looking at your pict. Tr goes to rear brakes. Ct goes to rf, tl goes to lf. Bl goes thru proportioning valve and to the front of the master cylinder. Ll goes thru prop. Valve and to the rear of master cylinder. 02 dodge ram 3500.
Was this
answer
helpful?
Yes
No
+1
Tuesday, February 23rd, 2021 AT 9:17 AM (Merged)

Please login or register to post a reply.