Saturday, September 30th, 2017 AT 5:54 PM
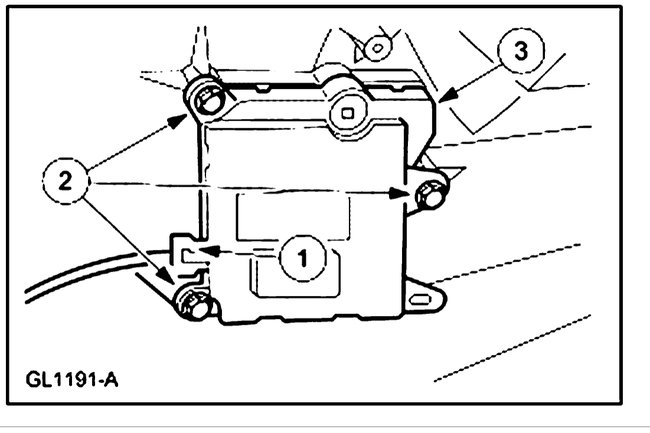
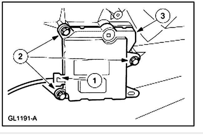
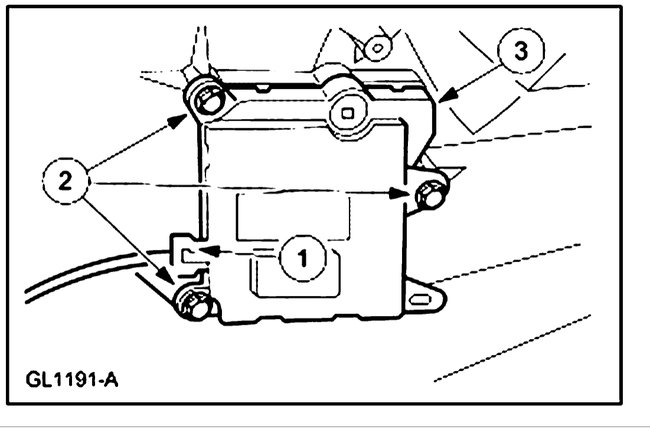
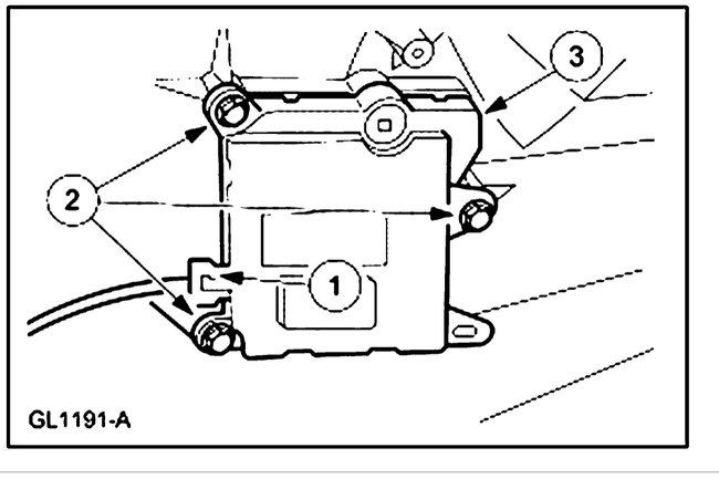
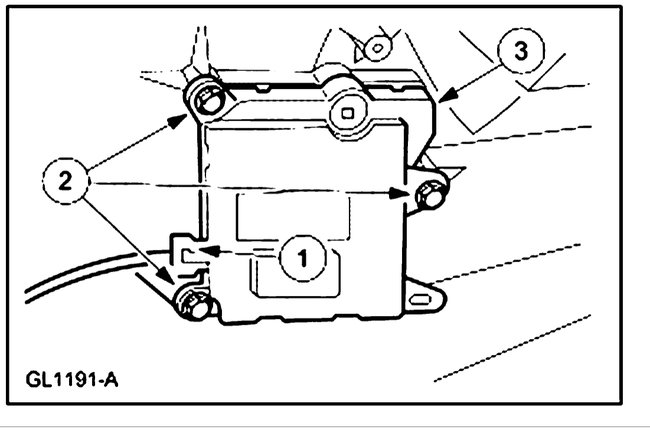
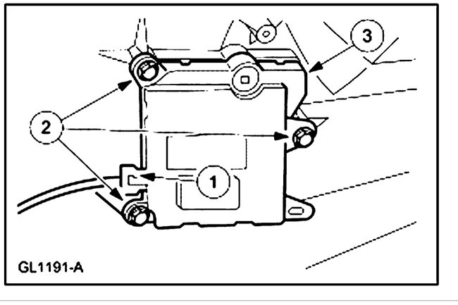
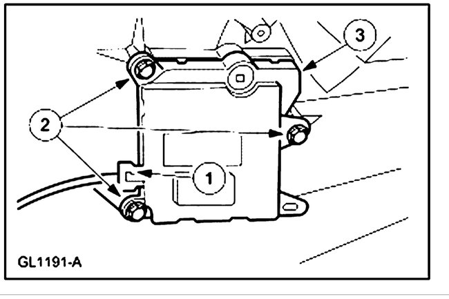
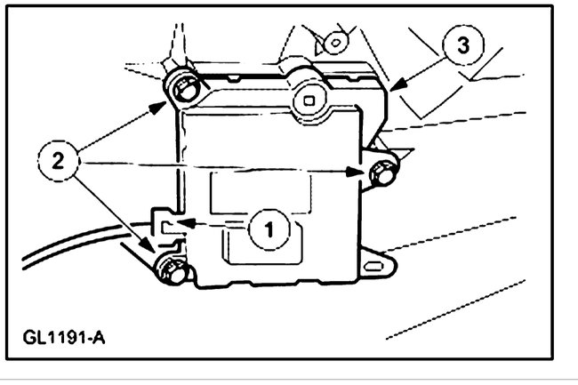
Air conditioning not blowing out cold. It has a full Freon charge, fuses are good and I could hear clutch engaged when AC is turned on but still no cold air.











