Thursday, February 6th, 2020 AT 8:50 AM
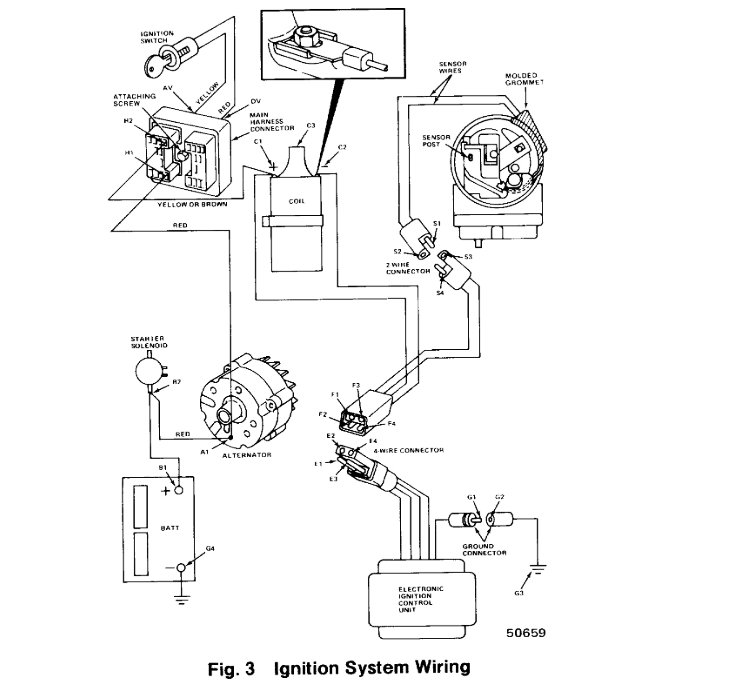
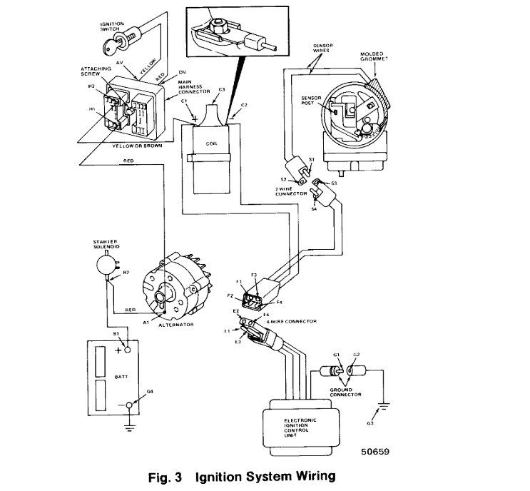
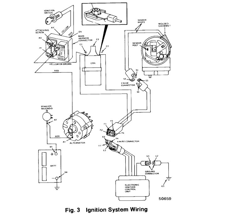
It doesn't start because someone changed the wiring harness mess up big. I can only get it started and keep it running when I hook up a test light to the post of the coil. Is there a special ignition coil and resistor I need to get for this model jeep? They have a golden ignition module and a distributor with 2 binocular looking vacuum ports. I get 12 volts to the positive post of the ignition coil from the resistor and 12V from a light blue wire labeled ignition at the I terminal of the starter solenoid and they have a wire from there to the positive of the coil. I am not good with old cars. Just trying to help a friend.



