Voltage keeps raising on signal wire of TPS sensor

Tiny
CARADIODOC
  • MECHANIC
  • 34,463 POSTS
Keep me updated. In the meantime, I've been working at home on drawings that show how the two-wire coolant temperature sensor and three-wire throttle position sensor circuits are the same. I'll work faster and post them if they will help you understand how they work.
Was this
answer
helpful?
Yes
No
-1
Tuesday, October 13th, 2020 AT 4:56 PM
Tiny
FIXTHISONE
  • MEMBER
  • 34 POSTS
Thanks.
I just received the LOADpro Dynamic Test Leads + Book Fundamental Electrical Troubleshooting.
I feel very confident that I understand the fundamentals. It is the arbitrary assignment of the sensors interactions, by the manufactures, that makes things confusing.
I will let you know how I progress.
Thank you
Was this
answer
helpful?
Yes
No
Tuesday, October 13th, 2020 AT 5:16 PM
Tiny
FIXTHISONE
  • MEMBER
  • 34 POSTS
Well, well, well. I said that I would let you know how I progress.
The very unlikely, almost never, should not happen, very rare event, has happened.
The LOADpro probe that I ordered and got it 3 days ago, has a intermittent open in the back of the black (-) lead.
I thought something wasn't adding up when I touched the red+ to the + battery post and then touched the black - to the aluminum manifold. Got no voltage reading, found it strange but, maybe I have a bad ground (-).
Touched to the alternator case, read battery voltage. Confused at this point.
Touch the leads to each other read OL, could it be that my meter just went?
Repeated on a second meter, OL again.
I held the two tips touching with one hand and started to wiggle the leads and the display on the meter started to bounce around.
Contacted manufacturer and seller to see what can be done.
I'm in Miami and they are somewhere in Wisconsin. I don't want to wait for another 10 days to 2 weeks to get this resolved.
Let's see what happens.
Was this
answer
helpful?
Yes
No
Thursday, October 15th, 2020 AT 10:19 AM
Tiny
FIXTHISONE
  • MEMBER
  • 34 POSTS
Hello,

I have been able to make some observations on the car again.
I was trying to use the LOADpro leads and had turned the car on a few times. Didn't run much.
I had to move the car and started up again, after about 1 1/2 hour from the previous start.
Started at around 1300 RPM and then dropped into the normal range for about 15 minutes. Just sitting on the driveway.
All by itself, without any intervention. It shot up to 1600 RPM and stayed there until I turned it off.
I looked at some of the ( low RPM)data from the sensors.
TPS 0, IAC 39 MAF 9g/s load 28% I thought this one was kind of high Evap was in the 0 then increased and then went to 49%. Could this be the cause of the extra air that is coming into the engine? Strange but RPM went up and load went down.(22%)
What causes the EVAP to go up?
Thanks
Was this
answer
helpful?
Yes
No
Thursday, October 15th, 2020 AT 11:53 AM
Tiny
CARADIODOC
  • MECHANIC
  • 34,463 POSTS
I'm in WI too, northcentral part.

"TPS 0". Does that mean 0.00 volts from the TPS? That should set a fault code for "TPS voltage too low".

I don't do much with mass air flow sensors. As for the Evp. System, that depends on the circuit or function, and how it operates. The purge valve is turned on intermittently to draw fumes out of the charcoal canister. Rather than just opening a solenoid-controlled valve, they may limit flow by "duty-cycling the purge valve. That means it is turned on and off multiple times per second. A 50 percent duty cycle would mean the solenoid is activated exactly half of the time. Conditions have to be met for that to occur. Typically the engine has to be warmed up, and the percent of "on-time" may be lower at lows engine speeds. On some models, the purge function only occurs at highway speed so you won't feel any change.
Was this
answer
helpful?
Yes
No
Thursday, October 15th, 2020 AT 7:21 PM
Tiny
FIXTHISONE
  • MEMBER
  • 34 POSTS
Thanks for your reply.
I will let you know how I progress.
Was this
answer
helpful?
Yes
No
Thursday, October 15th, 2020 AT 8:56 PM
Tiny
FIXTHISONE
  • MEMBER
  • 34 POSTS
Hello.

This is the last results I got as of today:

I purchased a J37037-1A this is a controller for the IAC valve.
Purchased test light and hooked up to B+ and checked the connectors for IAC. All contacts blink as I understand they should because computer is trying to figure out what is the position for IAC pintle.
Idle RPM is high, plug in the unit, I send the signal to lower RPM, engine responds immediately to the point that I can almost stall. Bring the RPM up and down without any problems.
TPS reading was fine and then it started to go up, Idle remained low no change.
The information on TPS is coming through the TechII scanner.
I'm lost as to why is the voltage, on TPS, keeps going up slowly. It goes up but the RPM remains constant, which couldn't be. All along I thought that the TPS was 0% open or very close to it. Volts on TPS is around 0, 60 Volts and then increased as much as 1.55 volts but engine RPM didn't change.
If the TPS was around 20%, I would think that the IAC wouldn't have such dramatic effect on the idle speed.
Idle is around 1500 RPM and with the IAC controller I bring RPM up and down, so TPS is sending the wrong message to the scanner.
I would like to know if O2 sensor 1 should be displaying a steady reading or should the the value be fluctuating (flickering)?
The same thing is happening with the ECT display. I wonder if these 2 sensors are defective or is there a wire problem with them.
I can't understand the value creeping up on the TPS. Any suggestions?
Please let me know if you know what to do or any site that I may go to.
Thanks
Was this
answer
helpful?
Yes
No
Monday, October 26th, 2020 AT 10:47 AM
Tiny
CARADIODOC
  • MECHANIC
  • 34,463 POSTS
The front oxygen sensors should be switching between "rich" and "lean" about two times per second when the engine is warm. That equates to around 0.2 volts to 0.8 volts. The Engine Computer switches between a lean condition, and the resulting extra oxygen is stored in the catalytic converter, and a rich condition when the extra fuel is mixed with that oxygen and burned. The front oxygen sensors report back to verify that is what took place. Based on the O2 sensors' readings, the computer fine tunes the mixtures for lowest emissions.

The other sensors should not be bouncing around in step with the oxygen sensor. When you see the TPS reading rising on its own, do you see that with a voltmeter too right at the sensor's signal wire? Engine speed shouldn't increase just because the TPS reading goes up, at least not a noticeable amount. Idle speed is mainly a result of temperature sensor readings and anything else that would affect engine speed. Specifically, if the computer is told to turn on the AC compressor relay, it knows that will load down the engine, so it bumps up idle speed. Same for the load put on the generator when the rear window defogger is turned on.

Given all these different observations involving multiple sensors, it sounds like their ground circuit is a good suspect. Remember, if the ground for the TPS is totally broken, you'll find 5.0 volts on the signal wire. It's when that ground circuit simply has undesirable high resistance that you'll find more voltage on the signal wire than normal. Remember too that many sensors share a common ground wire, so resistance in that wire will affect all of them. There's going to be splices where each sensor's ground wires are tied together, there will be pairs of mating terminals in the connector that connects the engine harness to the body harness, and at least one more in the computer's connector, and there will be at least one signal ground wire bolted to the body. All of those are excellent places to find corrosion and high resistance. To add to the misery, high resistance caused by corrosion usually changes with changes in temperature and humidity, so the symptoms will likely change as the engine warms up.

Chrysler uses four ground wires for their Engine Computers. One is for the high-current devices like ignition coils, injectors, solenoids and relays. Those devices also generate voltage spikes when they turn off. There is always some, hopefully small, resistance in a wire, and those voltage spikes are going to develop small spikes on that ground wire. If the sensors shared that ground wire, those spikes would show up in their signal wires too. They always use a "signal" ground wire for the sensors to keep them isolated from the voltage spikes from the "power" ground circuit. In addition, each of those has a duplicate ground wire for added reliability. That's why there's four separate ground wires.

What I would suggest, since the rising TPS voltage is the most obvious, is to go to its ground wire and monitor that voltage. Put the voltmeter on its lowest range so you get the most accuracy. Normal should be around 0.2 volts. If you see it changing, especially going up, we'll have to find the resistance in that circuit.
Was this
answer
helpful?
Yes
No
Monday, October 26th, 2020 AT 7:37 PM
Tiny
FIXTHISONE
  • MEMBER
  • 34 POSTS
Hello,

First I want to thank you for the indication to purchase a Tech II scanner. I had never heard of this item and most likely wouldn't find out about it.
It has way more capability than I can presently understand. I'm pretty certain that the one I have is 100% genuine fake. I couldn't careless, if it does the work, I'm happy.
It is nice that it can do some commands to check operation of some items. I can interact with several modules. I did a sweep of the speedometer. Nice to check to see if things are working.
I'm looking for a place where I can get;
01- color wiring diagrams (it is much easier to follow than B&W ones)
02- a place where I can get parameters (I think it is called PID's). Without a parameter, as reference, I can't tell what is going on.
03-a book on how to read diagrams. There are quite a few bits of information that needs a chart to be understood. I didn't know that the wiring was seized in metric. Nothing hard, but I went and found a conversion chart from AWG to metric sizes. If you know of a "decoder" that I can decipher the symbols on diagrams would be nice.
I continue to have the same high idle problem. Yesterday it was around 2,500 RPM's in idle.

I have been able to establish the following:

I used the Tech II and a DMM to check one another.
The idle remained "normal" temperature went as high as 105 Centigrade
IAC count as low as 14 counts.
TPS ( back probe 0.70 Volts) but Tech II was showing 2.49 volts and 48% open (which is not correct). The voltage on the TPS kept on raising until it stopped at 2.49 volts. The voltage remained at 2.49V. It seems that something drives the voltage up, but today I noticed that it stopped raising.
The MAP sensor was at 3.00 volts and 66 kPa. Baro was 67kPa.
At this point I'm trying to trace wire and see where does the voltage goes from 0.70 to 2.49 volts.
Any suggestions?
Again thank for bringing the Tech II to my attention.
Was this
answer
helpful?
Yes
No
Wednesday, November 11th, 2020 AT 1:42 PM
Tiny
CARADIODOC
  • MECHANIC
  • 34,463 POSTS
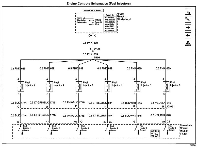
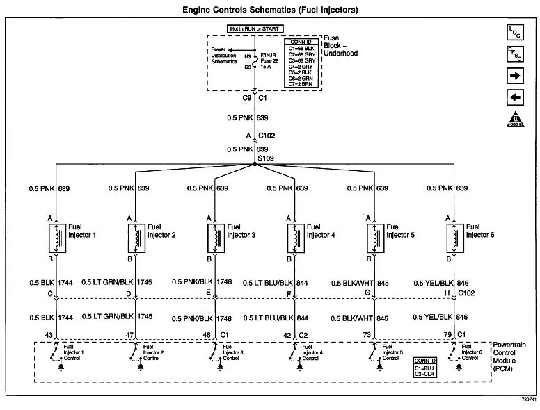
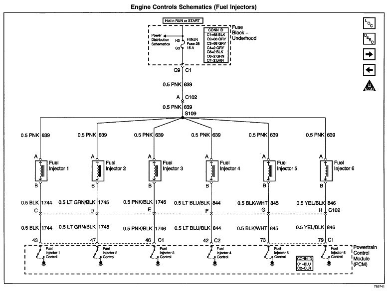
I put together these diagrams of the engine management system. These are the black and white ones from the manufacturer. I can't copy the aftermarket diagrams to save or post, without going through a lot of conversion work. I don't like them anyway because they don't offer as much information, and there's way too much stuff on each one. It gets too confusing, but they're okay if you don't have anything else.

I use AllData for all of my online diagrams. Most independent shops subscribe to it for around $1000.00 per year. You can buy a one-year subscription for just your car year and model for around $27.00, and I think for around $48.00 for five years. As an alternative, I'm happy to post any diagrams you need as long as I can find them and you give me time to convert them to a format that can be posted.

To decipher wires, Chrysler's look the most confusing at first, but they provide the most information. A typical designation could be "Z12 14BK/LB" "Z" is used for ground wires. "A" is for wires coming directly off the battery positive terminal, and "K" is for control wires, as in circuits that control relays and solenoids. "12" just differentiates this wire from the other ground wires. "14BK/LB" means this is a 14 gauge black wire with a light blue tracer, or stripe. All the other circuits have a first letter assigned to them per their function, but I never needed to memorize them.

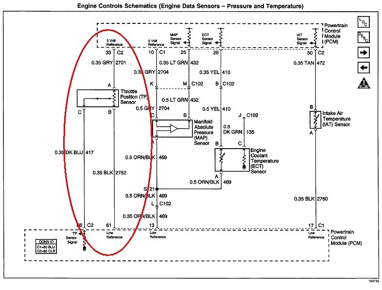
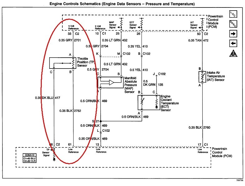
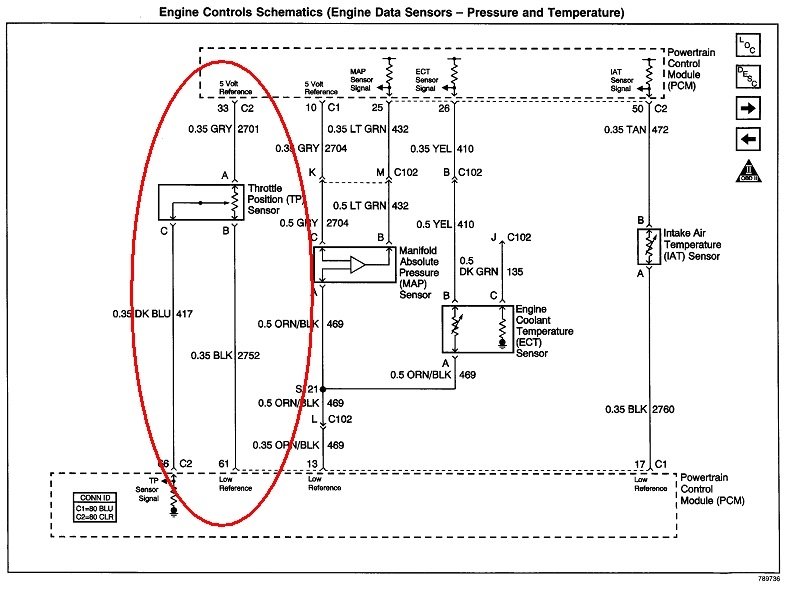
GM gives you the same information, but it's broken into multiple parts. The eighth diagram has the throttle position sensor in it. The last diagram is the same one, but I added some nifty arrows. The blue arrow is pointing to the TPS signal wire you're working with. Here, the "0.35" is the wire size in millimeters. I don't have a good frame of reference for that. I just observe that it's smaller than other wires with larger numbers. The wire is dark blue, and it's circuit 417. That wire is unique. No other wire on this car is designated "417". There's nothing to tell you the function of the wire Knowing that might be helpful when trying to figure out how a system works, but as I mentioned, I don't pay much attention to that on Chrysler's diagrams.

I did note something interesting about this circuit. Did we previously have a discussion about pull-up and pull-down resistors? I describe this so often that I forget if I'm repeating myself. Tell me if you don't know what those are.

If you follow the dark blue TPS signal wire down to the computer, terminal # 66 in connector C2, you'll see the tiny black arrow pointing to the "TPS signal processing circuit inside the computer. It also goes to the resistor pointed out by the purple arrow. That resistor is tied to ground as shown by the ground symbol at the black arrow. That means this is a pull-down resistor, which is the opposite of what is used in most cars. Defects are detected the same way, but this does shed new light on the voltages you've been finding.

That pull-down resistor is so large electrically that it won't have any effect on the TPS readings except when the dark blue signal wire is broken, then it puts 0.0 volts on the terminal the computer is looking at. 0.0 volts is outside the acceptable signal voltage range of roughly 0.5 to 4.5 volts. Those are what set a fault code.

To back up a minute, you found the correct range of signal voltage at terminal "C" on the TPS, (red arrow), with the voltmeter, and the scanner says the computer is seeing it go up to 2.49 volts at the computer, (orange arrow). The only possible way to have two different voltages on a wire is if that wire has a break in it between those two points. The clinker is though, if that were true, the pull-down resistor, (purple arrow) would cause the computer to see 0.0 volts, and that is what you would see on the scanner. You would have a fault code for "TPS signal voltage too low".

One thing that has happened to me on many occasions when using a friend's meter to diagnose a tv problem is he has an auto-ranging meter and I failed to notice it has switched to a lower scale. If your meter has this feature, be careful to not be tricked by this. Stray magnetic interference can easily be picked up in the leads and show up as "0.249 volts." It will display as "249", then you have to notice the really tiny "mv" for millivolts, in the corner of the display. In a tv, if you need to have 42 volts, for example, we would call anything in millivolts, "0 volts" and not concern ourselves over what little voltage that is there.

With your throttle closed, and reading around 0.5 volts at the red arrow, if the scanner really is showing 2.49 volts, this certainly would point to a problem inside the computer, at least that's what logic would dictate. I'll believe it when I see it, as in your reply that a used computer solved the problem. First I would suggest taking the connector apart enough to allow you to poke the meter probe right into it alongside that wire and see what you have right there. If the voltage there agrees with what you have at the sensor, that would suggest the wire is okay.

Also keep in mind that pull-up resistors are much more common and it is not unheard of to find mistakes in manufacturer's service manuals. Many early-release manuals at dealerships have stuck-on page overlays printed with corrections on them. If the resistor is actually tied to 5.0 volts, and is therefore a pull-up resistor, the 2.49 volts you're seeing on the scanner would indeed point to a break in the signal wire.

Once you get to the signal wire terminal at the computer, consider touching a jumper wire from the meter's probe, to ground. If that causes no change in idle speed, it points to a defect inside the computer.

The next thing to consider is the ground wires for the computer. Chrysler uses four of them. Two are "signal" grounds and two are "power" grounds. Power grounds are for things that use high current, like injectors, ignition coils, relays and solenoids. There is always at least some small resistance in a wire and a connection. The pulses of current through these circuits will result is small pulses of voltage being dropped across that resistance. That has no effect on those circuits, but those tiny pulses in voltage would mean a lot to sensor signal voltages. For that reason, sensors use their own dedicated "signal" ground circuits that don't have those little voltage pulses. Only those two ground wires are needed, but each one has a second one for redundancy. Grounding problems are extremely rare on Chrysler products, but they seem to be more common on some GM computers. If you haven't made progress up to this point, we may need to look closer at those ground wires. There's more of them than I see on these diagrams. If it becomes necessary, I'll look for a listing that shows the connectors with their wire functions.
Was this
answer
helpful?
Yes
No
Thursday, November 12th, 2020 AT 6:24 PM
Tiny
FIXTHISONE
  • MEMBER
  • 34 POSTS
Well, I thank you very much for the patience that you have and the effort that you have put into this problem.
I have printed your answer and I going to read it several times, so I can grasp the information contained in it.
AllData has a chart to converts( approximately) AWG to metric in wire sizes.
I have printed the chart out. I tried to send it you however I was not successful.
Here are some of the sizes
metric AWG
0.22 24
0.35 22
0.50 20
0.80 18
1.00 16
2.00 14
3.00 12
5.00 10
The sizes above, under normal circumstances, will cover most of the vehicle's wiring except for the starting circuit. I hope it may help you.
I have the AllData subscription for the vehicle that I'm working with and I have printed a very large amount of pages, probably around 200 pages.
I'm having a hard time locating/identifying the actual location for the connectors. I tried to see if I could find something like this but so far found none.
I have the car zoning diagram, it tell me the zone for the item. 100 - 199, 200-299 and so on.
Fully understand that concept. This is the general area, but it doesn't pinpoint the component location within the general area.
Specifically, regarding circuit 417 DK/BLU I get that this is the wire that send the signal to the PCM at C2 pin 66 ( As I understand there is a pull-down resistor at. Pin 66)and 417 comes from position C at the sensor(TP) connector.
Circuit 2701 from C2 pin 33 at PCM is the 5 volt reference for the sensor (TP) going to position A on the sensor connector
Coming from position B at sensor (TP) circuit 2752 is the low reference for this sensor.
Individually I get all of this, but I'm basically clueless as to how the sensor interacts or is affect by the PCM or other sensor. Not having the knowledge of the interaction process prevents me from troubleshooting the circuits with a good degree of certainty.
I have read quite a bit on pull-up and pull-down circuits. There is a very nice site that I found, but can't remember where, that explains in great detail the process and the reason for it. I have printed those pages and use them.
I had mentioned before that no DTC was present, however I now have a P0121 code.
I'm glad that you supported my theory that in order to have different voltages there must be different circuits the same run of wire can't have different voltages without some type of electrical or mechanical interference with that wire.
I have found some really nice back probes on e-bay. They come with a screw on tip and the taper is, in my opinion, just right. It has the right length so that contact is made and at the same time there is enough taper to bind a little and it is strong enough to be pushed in without easily bending.
Could you clarify the part where you suggest that I ground the probe that is in the computer's terminal. Are you referring to position 66 on C2 ( signal wire) to be grounded? And if there is no change the computer is defective.
Where do I find the grounds for the PC? I tried to look for such diagram but found nothing so far. Are these grounds coming to the PCM through the 2 large connectors?
I see grounds at the following positions on the 2 connectors.
C1- Part 1- Pin 16
C1- Part 1- Pin 56
C1- Part 1- Pin 57
C1- Part 1- Pin 60
They are all on circuit 451 BLK/WHT
I see additional information on Fuse Block- Underhood C1 for the following Positions
Pin wire color circuit
B1 BLK 451
C1 BLK/WHT 451
C10 BLK 1050
I don't really know what to make of these circuits at this moment.
I lack an overall view of the entire system and how the individual parts interact. I get the individual parts but can't make sense of the whole system.
I will keep on checking and hope to find what this problem is.
Again, thank you for your assistance and patience.
Was this
answer
helpful?
Yes
No
Friday, November 13th, 2020 AT 8:29 AM
Tiny
CARADIODOC
  • MECHANIC
  • 34,463 POSTS
I'm working on the connector diagrams for you. I'll post them when I'm done.
Was this
answer
helpful?
Yes
No
Friday, November 13th, 2020 AT 8:11 PM
Tiny
FIXTHISONE
  • MEMBER
  • 34 POSTS
Thank you for your reply.
Last night I was looking at Mitchell 1. They are somewhat different from AllData. Looks like they have quite a bit of information on wiring diagrams, connectors and their location. Do you have any experience with Mitchell1? They appear to have less topics available. For some reason they don't have information on radiator and doors. Any idea why?
Yesterday I drove the vehicle and the RPM's were all over, however it stayed below 2,100 RPM's.
I did a bunch of re-learn attempts, while stopped at the light (turn it off, key on engine off) sometimes it worked sometimes it didn't. A few time I floored the car( on the highway for a few seconds) and then it would come back to normal, sometimes it didn't.
I was talking to someone that used to work as a mechanic and we discussed the high idle situation and he said that he had encountered this problem quite a few times on GM cars (mostly Cadillac) and the problem was the transmission module that went bad. Have you ever heard of this possibility? I searched for it couldn't come up with anything.
Thanks for all your help.
Was this
answer
helpful?
Yes
No
Saturday, November 14th, 2020 AT 6:07 AM
Tiny
FIXTHISONE
  • MEMBER
  • 34 POSTS
Hello,

I just finished checking voltages and this is what I got
Back probe TP sensor 0.76 Volts
C2 pin 66 DK BLU wire 0.74 Volts
Scanner on OBDII port 2.53 Volts (being displayed on Tech II screen)
It seems to indicate that the voltage reading on the wire is constant and therefore the wire seems to be ok.
I don't quite know what to make of it because I don't know what happens to the signal once it comes into the PCM.
It certainly doesn't reflect what is going on on the TPS.
Please let me know if you have any ideas as to why would the PCM is displaying 2.53 volts instead the TPS voltage.
BTW I keep finding more things that the Tech II can do. It may be a Chinese clone but it works great so far. I wish I had a more understanding how the systems interact and what values to expect it could be a excellent tool for my application.
Thank you
Was this
answer
helpful?
Yes
No
Saturday, November 14th, 2020 AT 3:10 PM
Tiny
CARADIODOC
  • MECHANIC
  • 34,463 POSTS
I have access to Mitchel but they look at your IP address to grant daily access. My address changes depending on where I'm using someone's wireless system. For me, Mitchell only works at the main branch of my public library, and that has been closed since last March. I used to be able to sit in their parking lot and get connected, but they have their system turned off now.

For AllData, look in the upper right corner and you'll see four choices including "Repair" and "Collision". For a few years I could only get into the Collision section regardless which section I clicked. Now I can get into the Repair section, but it isn't a lot different. My problem is finding what I want. I can find anything real fast in a paper service manual, but AllData's topics aren't broken up the same way. It isn't uncommon for me to spend an hour searching for a fuse box layout or a service procedure. They seem to like to send you to flat rate times very often.

I haven't heard of the Transmission Computer problem. I used to read quite a bit about solutions to intermittent stalling being caused by loose or corroded ground wires where they were bolted to the body. Also, replacement Engine Computers solved a lot of running problems on GM cars from the late '80s through the mid '90s.

Here's something I put together last night related to your wiring diagrams:

To explain why there's so many grounds for your Engine Computer, they list the ground wires coming into the computer from a sensor as "low reference". The ground wires aren't shown on all of the diagrams, so I added one in the second diagram. As I mentioned previously, the sensors' ground wires go through the computer on their way to ground so circuitry inside the computer can monitor those circuits. That monitoring circuitry isn't shown because it isn't really relative to any discussion. What is noteworthy is due to that circuitry, a very small amount of voltage is dropped across it. As a result, you will measure very close to 0.2 volts on the "low reference" wires, but you should find 0.0 volts on the ground wires.

As a point of interest, when you measure water pressure in a pipe or air pressure in a compressed air line, those are always in relation to some common reference point, in this case, atmospheric pressure. That reference is implied. We just don't bother mentioning it. Voltage is electrical pressure, and for the most common types of measurements, it is also measured in relation to a common point. In tv, vcrs, and cars, we call that "ground". Other voltage measurements "refer" to those common grounds, and while the 12-volt or 5-volt power sources are the high side of the circuit, the ground side is the low side. That's how they came up with the term "low reference. Low reference is a ground circuit, but it differentiates the wires going from the computer to ground from those coming in from the sensors to the computer.

To save time and do this most efficiently, you only need to check the "low reference" circuits. If you find 0.2 volts on one of them for a sensor or group of sensors, that can only occur if its corresponding ground wire is okay. We're looking for any low reference wire that has too much voltage. If you find one with, lets say 0.7 volts, for example, that is when we have to look further to figure out the cause. I've never heard of there being too much resistance inside a computer, so logic dictates you're going to find some voltage on one of the ground wires, and that will be caused by a corroded wire or terminal bolted to the body sheet metal, or much less commonly, the terminal in the computer's plug. Anything over 0.0 volts is considered not acceptable, but remember there can be a little stray voltage picked up by the meter's leads due to electromagnetic interference. Don't panic if you find a few hundredths of a volt. Typically with a corroded terminal, the excessive voltage will be high enough to be obvious.
Was this
answer
helpful?
Yes
No
Saturday, November 14th, 2020 AT 7:24 PM
Tiny
CARADIODOC
  • MECHANIC
  • 34,463 POSTS
In case I haven't brought this up yet, there was a glitch with the Tech 2 in the mid '90s, but I can't remember all of the details. To start the story, you have to be aware that most Engine Computers can figure out when a sensor is sending "implausible" signals, meaning they don't make sense and can't be trusted. Also remember the acceptable range of signal voltages I described. For discussion of system theory, the TPS is fed with 5.0 volts and ground, basically 0 volts. The movable contact slides along a carbon strip between the 5.0-volt and ground terminals, so it can pick up any voltage from 0 to five volts, . There are mechanical stops inside the sensor that limit its travel to 0.5 to 4.5 volts. Anything outside that range triggers a diagnostic fault code. The only way to get a signal voltage higher than 4.5 volts or lower than 0.5 volts is if there's a break inside the carbon strip, between a pair of mating connector terminals, or a break in a wire. When any of those defects occur and the signal voltage goes outside the acceptable range, the fault code is set, but most importantly, the computer knows it can't trust or rely on signals from that sensor. At this point, most of them will "inject" an approximate value to run on.

For example, the computer is firing the ignition coils and injectors, so it knows engine speed. If the TPS incorrectly is saying it is at wide-open-throttle, yet engine speed is low, that could only happen if you're doing a brake stand or trying to pull out a tree stump. Those would cause intake manifold vacuum to be very low. In reality, with low engine speed, and with high vacuum, indicating little load on the engine, the computer can guess that throttle opening is very small, and the TPS should have been reading roughly 0.5 volts. The computer will inject 0.5 volts into its fuel metering calculations and use that to run the engine. With those injected values, most engines will run surprisingly well, but we can't count on that. The best example is when a GM engine runs better when the mass air flow sensor is disconnected. By looking at all of the other sensors and operating conditions, the computer can do a better job of running the engine than when it tries to use an erroneous signal from the mass air flow sensor.

Now for the "Rest of the Story". Lets suppose the ground wire for the TPS is broken. You would find 5.0 volts on the signal wire no matter how far the throttle was opened. That's an unacceptable value. The computer will see that, set a fault code for "TPS voltage too high", turn on the Check Engine light since this defect could adversely affect emissions, and it will inject an approximate value, in this case, we'll say 0.5 volts.

Here's where the potential glitch comes in. You see the fault code, and the first thing you do is switch the scanner to live data and verify the TPS voltage, but it shows a perfect 0.5 volts, not the 5.0 volts that triggered the fault code. To double-check yourself, you use a voltmeter and go right to the sensor's signal wire and find the 5.0 volts that triggered the fault code. That doesn't make sense. The signal voltage on the scanner looks correct but you keep getting that stupid fault code that won't erase, and the 5.0 volts at the sensor doesn't agree with the scanner.

What is happening is the scanner is displaying the injected value instead of what the computer is actually seeing from the sensor. I can't remember if this glitch is in the Tech 2 scanner or in those Engine Computers. I never ran into this myself, so I never had the opportunity to use a different scanner to see if it would also show the injected value. Other than that, there has never been a way for any scanner to display injected values. They can only show what the computer is telling the scanner it's seeing from the sensors.

That glitch sounds like what you're running into where the voltmeter and scanner display do not agree. I'm of the opinion that glitch is in the Engine Computer, not the scanner. All computers broadcast all of their data out onto the "data buss" that connects all of them together with two wires. They all take turns sending their data, then the other computers decide what parts they want to look at and react to. I've never heard of any other instance where injected values are broadcast out on the data buss. Remember too that the scanner is just one more computer added to the data buss when it's connected to the car. It can only display the data sent to it by the computers.
Was this
answer
helpful?
Yes
No
Saturday, November 14th, 2020 AT 8:09 PM
Tiny
CARADIODOC
  • MECHANIC
  • 34,463 POSTS
Finally, here's the connector views I promised. The first two are connector C1 and the last two are connector C2. My little arrows are pointing out the ground and low reference terminals. Remember that the only way a low reference line can have the proper 0.2 volts is if its corresponding ground wire is okay, so you may be able to skip testing every ground wire unless you really do find a low reference wire with voltage that's too high.
Was this
answer
helpful?
Yes
No
Saturday, November 14th, 2020 AT 8:15 PM
Tiny
CARADIODOC
  • MECHANIC
  • 34,463 POSTS
Let me try that again. I missed the arrow on one diagram. If you can't make these big enough to see, I'll do them over after splitting each one into three parts so there's more room to enlarge them.
Was this
answer
helpful?
Yes
No
Saturday, November 14th, 2020 AT 8:25 PM
Tiny
FIXTHISONE
  • MEMBER
  • 34 POSTS
Again I thank you very much for all the trouble you went through to get the connectors breakdown. I wish you had told me to look for grounds and low reference on C1 and C2, it could have saved you lots of work.
These connectors are amongst the numerous pages that I printed from AllData.
I don't believe that I have a problem with the TechII because the values agree with the Autel reader. They both read the high value and the DMM reads the low value (0.7 Volts)

In respect to your example:
My conditions do not agree with your conditions in the sense that the engine is at high speed (about 2300 RPM), the computer is reading high values for TPS ( but DMM shows 0.70 or so volts which is correct) IAC counts are very high ( that's what is feeding air to the engine) MAF shows air passing by, MAP has low pressure, the only thing to contradict all of this is that the speed is zero and the transmission is in park and not moving.
That's why I need to understand what commands what, so the computer gets to decide what to do.
WHAT IS CAUSING THE IAC COUNTS TO GO HIGH?
Because when the IAC count is high and I hook up the IAC controller and bring down count the same happens to RPM. The source of the high RPM is the IAC and not the throttle or vacuum leak.
Let me clarify something. THE HIGH VOLTAGE is on the scanner and 0.70 is on the voltmeter. Not the other way. Also I don't have a fault code. When I pulled the connector out I got a P0121, but it went away.
I checked the voltage at the back of the pins on C1 and C2
( I hooked up the NEG lead to BAT NEG and probed the back of the connectors. Key ON Engine OFF)
Below is what I found
C1
1=1.1mV, 12=7.5mV, 13=7.5mV, 16=0.3mv, 17=7.3mV, 31=7.4mV, 48=7.1mV, 56=6.3mV
57=6.2mV, 60=6.1mV and 80=7.6mV

C2
35=7.6mV, 73=7.5mV and 74=7.5mV

I don't really know what to expect but I think what I did was a voltage drop test and having not reached 8mV of drop, I think all the grounds are acceptable. From what I understand for GM the failing point is 500mV, other people said 200mV and the highest value that I got is more than 25 times smaller than my lower reference, at this point I don't think ground is the problem. The grounds seem to be inline with each other and so are the low references.
I also understand why they called it "low reference" because almost 100% of the voltage is dropped across the load, the remaining low voltage is due to some resistance on the wiring after the load.
Well despite all this, I still not knowing what is causing my problems.
The connectors diagram that I was asking for is to see where the individual connectors are.
I was trying to see at what point does the voltage increases.
Any additional suggestions please let me know.
Thank you
Was this
answer
helpful?
Yes
No
Sunday, November 15th, 2020 AT 2:11 PM
Tiny
FIXTHISONE
  • MEMBER
  • 34 POSTS
Sorry,
Forgot to include
C1
61=7.7mv circuit 2752.
I was double checking my work and noticed that this pin was missing,
Thank you
Was this
answer
helpful?
Yes
No
Sunday, November 15th, 2020 AT 2:38 PM

Please login or register to post a reply.