Transmission does not shift?

Tiny
KEN L
  • MASTER CERTIFIED MECHANIC
  • 55,291 POSTS
Please let us know what happens.

Cheers, Ken
Was this
answer
helpful?
Yes
No
Friday, September 11th, 2020 AT 4:01 PM (Merged)
Tiny
TRACY WHITE MARTIN
  • MEMBER
  • 11 POSTS
Ok had car scanned, came up with a code indicating bad torque convertor solenoid. So I bought that as well as 1 other round solenoid directly next to the torque converter that the parts store stated was also a torque converter solenoid. I also bought 1 of the shift solenoid. Dropped the pan and installed all 3 of those. Topped off with fluid, and test drive it. No difference. Except that now, when I take off it shifts so smooth from 1st to 2nd, but that's it. When it got up to speed when it should change on into 3rd, it seemed almost like you pushed it up into neutral. It felt like it was changing, but the rpm's, climbed but it was basically in neutral. As soon as I let off the gas and lightly stepped back on the gas it was still in 2nd. While the pan was off earlier I noticed there was one other what looked a shift solenoid and one other round in shape solenoid. I have no idea if they have anything to do with my issue or not but I'm desperate. Now up until a couple days ago it would shift into 3rd, after the engine warmed up and fine the rest of the day, but now it acts like it only has first and second and goes into neutral after that. I have never felt the transmission slip at anytime during all of this. The pan was the cleanest, lack of any metal shavings, I've ever seen. I'm betting for help and a direction. Please.
Was this
answer
helpful?
Yes
No
Friday, September 11th, 2020 AT 4:01 PM (Merged)
Tiny
KEN L
  • MASTER CERTIFIED MECHANIC
  • 55,291 POSTS
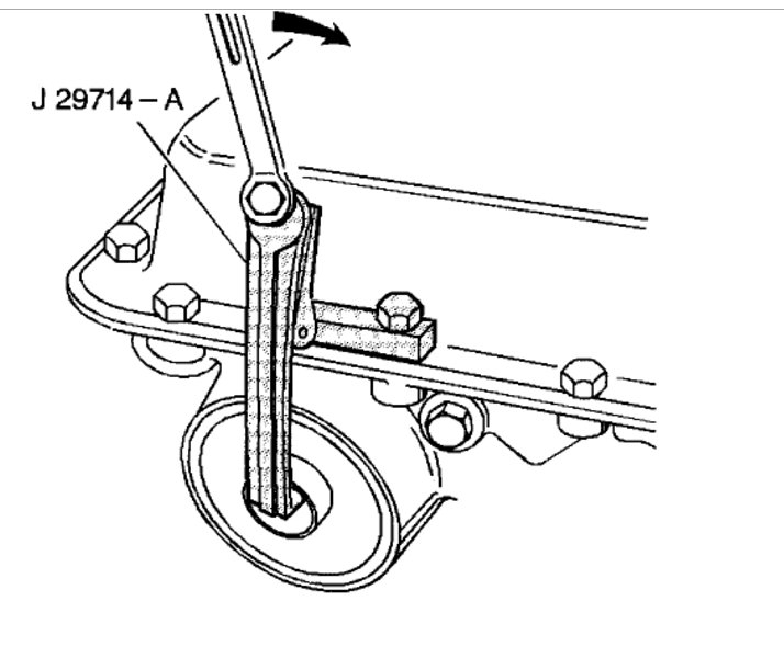
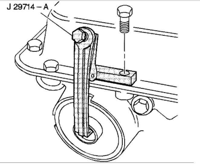
Nice work getting the shift solenoids replaced. After you replace them did you clear the codes? If so it sounds like the servo seal that is bad which will require some disassembly. Here is some guides to show you how to check the seals.

Please let us know what happens.

Cheers, Ken
Was this
answer
helpful?
Yes
No
+1
Friday, September 11th, 2020 AT 4:01 PM (Merged)
Tiny
TRACY WHITE MARTIN
  • MEMBER
  • 11 POSTS
Ok thank you. Will this require removal of the transmission or can this be done simply by dropping the pan? I'm just praying the entire transmission isn't gone and requiring a complete rebuild. What do you think sir?
Was this
answer
helpful?
Yes
No
Friday, September 11th, 2020 AT 4:01 PM (Merged)
Tiny
KEN L
  • MASTER CERTIFIED MECHANIC
  • 55,291 POSTS
You should be able to do this repair without removing the transmission. If the seals are okay then the transmission will need to be rebuilt.

Please let us know what happens.

Cheers, Ken
Was this
answer
helpful?
Yes
No
+1
Friday, September 11th, 2020 AT 4:01 PM (Merged)
Tiny
TMJJ5866
  • MEMBER
  • 4 POSTS
  • 2004 CHEVROLET TRAILBLAZER
  • 120,000 MILES
My 2004 trailblazer will not go beyond 50 mph without hesistating and will not change out in low gear.
Was this
answer
helpful?
Yes
No
Friday, September 11th, 2020 AT 4:01 PM (Merged)
Tiny
DOCHAGERTY
  • MECHANIC
  • 9,603 POSTS
Have you scanned for fault codes yet, if not, please do so and then repost.
Was this
answer
helpful?
Yes
No
+2
Friday, September 11th, 2020 AT 4:01 PM (Merged)
Tiny
TMJJ5866
  • MEMBER
  • 4 POSTS
Yes. Where is the transmission speed control sensor located?
Was this
answer
helpful?
Yes
No
+1
Friday, September 11th, 2020 AT 4:01 PM (Merged)
Tiny
DOCHAGERTY
  • MECHANIC
  • 9,603 POSTS
Vehicle Speed Sensor is located in the tailshaft housing
Was this
answer
helpful?
Yes
No
Friday, September 11th, 2020 AT 4:01 PM (Merged)
Tiny
LYAGER
  • MEMBER
  • 1 POST
  • 2003 CHEVROLET TRAILBLAZER
  • 6 CYL
  • 4WD
  • AUTOMATIC
2003 Chevrolet Trailblazer - yesterday for no apparent reason the trasmission would no shift automatically - only would shift manually and the engine seems to be over reving. We first thought the transmission was the problem now we are wondering about some type of sensor.
Was this
answer
helpful?
Yes
No
Friday, September 11th, 2020 AT 4:01 PM (Merged)
Tiny
JACOBANDNICKOLAS
  • MECHANIC
  • 110,192 POSTS
Chances are it is a sensor, but one in the transmission and not the engine. IT could be a throttle position sensor.
Was this
answer
helpful?
Yes
No
Friday, September 11th, 2020 AT 4:01 PM (Merged)
Tiny
NICKB275
  • MEMBER
  • 24 POSTS
If the check engine light is lit, you may have shift solenoid codes involved, I have seen many connectors at the tranny which had corrosion. Circular plug on the right side of the transmission. Pull the codes and see what you have.
Was this
answer
helpful?
Yes
No
Friday, September 11th, 2020 AT 4:01 PM (Merged)
Tiny
RYANLESS
  • MEMBER
  • 2 POSTS
  • 2003 CHEVROLET TRAILBLAZER
  • 90,000 MILES
Good morning,

I have a 2003 trailblazer and trying to figure out if I have a transmission issue or not. I have taken my vehicle to two shops and they have found nothing. I was wondering if you could guide me in the right direction with what might be wrong or what I can ask the mechanic to look for.

Problem:
1) Lost about 2-4 mpg
2) When I am going about 50 mph on a slight incline with the throttle being steady:
the rpm's jump up and down until I step on the gas or let off
the car seems to bog down
3) When I have the cruise set or just footing the pedal going 70 mph'ish on an incline
The car bogs way down and then decides to shift down which then revs the engine way up.
This doesn't happen all time and the engine light does not go on. Could this be a transmission issue? Electrical? Etc.
Was this
answer
helpful?
Yes
No
Friday, September 11th, 2020 AT 4:02 PM (Merged)
Tiny
KHLOW2008
  • MECHANIC
  • 41,814 POSTS
Symptoms don't indicate a transmission problem. You are losing performance that is affecting the mileage and it could be fuel, EGR or ignition related.

It could also be due to a dirty MAF. Have it cleaned and retest.
Was this
answer
helpful?
Yes
No
Friday, September 11th, 2020 AT 4:02 PM (Merged)
Tiny
RYANLESS
  • MEMBER
  • 2 POSTS
Throttle body was cleaned, from what I get trailblazers dont have egr
Was this
answer
helpful?
Yes
No
Friday, September 11th, 2020 AT 4:02 PM (Merged)
Tiny
KHLOW2008
  • MECHANIC
  • 41,814 POSTS
Not throttle body, that does not affect the performance, only idling. The MAF and TPS would affect the performance.
Was this
answer
helpful?
Yes
No
Friday, September 11th, 2020 AT 4:02 PM (Merged)
Tiny
MARIA ALLEN-HAYES
  • MEMBER
  • 2 POSTS
  • 2003 CHEVROLET TRAILBLAZER
  • 4.2L
  • 6 CYL
  • 4WD
  • AUTOMATIC
  • 218,000 MILES
A. Was shifting fine when I bought it month ago. Okay recently notices driving cpl times that while after already shifted while being in D that the rpm hand stopped being normal at 1.5 to 2.5 rpm's. Went to 3 or 4 at times back down instantly to normal.

B. Gave no warnings since that happened only few times every other time shifted normally.

C. Notices shifting into shifter gears began be a bit more pressure needed 2 move shifter like into P R D. So chkd fluid was full. Okay then after shifted every shifter gear PR N D 1 2 3 the pressure stopped as manual says before check fluid shift every 2 secs into next shifters gears.

D. Headed out yesterday all sudden I shifted 1 time while in D and then bam heard whining out as if I wasn't into D fully so I looked but on dash said I was in D and touch gas couldn't go faster than the gear of its 1st shift being in D normally shifts 4 or 5 times in D but now only did 1 time I try accelerate made it whine out as rpm hand went up to 4rpm down to 3 then bk 2 normal so I had try coast bk home luckily wasn't far away.

E. What else am I missing to say? I bought auto from a guy less than a month ago and I noticed since I've owned it that turning it off has an thump sound my bf recorded underneath see what was shaking and was oil pan and transmission. The sound would silent where thump wasn't happening for awhile turning it off now since did the whining out like it wasn't into gear was the sound when shifted only once in D. But since yesterday afterwards when I could not accelerate past 10 or 15 mph when I got back the thump was way louder turning SUV off like something was loose or slamming. Now also I heard an noise 1 night rpm's stayed correct but sounded like an loud vibration sound accelerating made noise louder. Has not done such since but that same night while idling I heard an loud noise like thump under my hood my bro said was my lifter I'm wondering if was my transmission. Guy I bought SUV from said transmission was replaced 20,000 miles ago. I'm wondering if transmission was bolted in placement fully or if not can transmission slide around to where my linkage messed up as to where D gear is maybe now is second gear on shifter?

F. I'm told can be an clogged transmission filter or they say screen or an bad shifting solenoid or even an torque converter. However, does torque converter be what shifts the auto in between gears or it is the pump that pushes transmission fluid? Please help me! I paid enough for that trailblazer in fact the most ever paid for auto for me was this trailblazer. It's the LTZ trim. Yes they hooked up an stereo Jensen vx7020 so DVD would play while driving down the road I do not know because that's wired against manufacturer instructions cause any harm? My blower motor and heat started acting up first before slipping had begun I do not know if that's anything do with it also I read online that an coil could cause trailblazer to not shift. My bf says starts out in 1st D shift when put it into D and because it shifts normal 1 time for me means it shifts into 2nd D shift gear but then whines out. If guy put different transmission in 20,000 miles ago seems I wouldn't be having no bad transmission problems. I hope doesn't need a different transmission. Can an clogged transmission screen do this or any sensors are there any sensors plugs or fuses could make this happen? Out of blues after yes the hand a few times went up to 3 and 4 rpm's if went back to normal and I shifted fine the times the hand was wacky but that only happened few times and I don't think was like few days in an row I think was so many days in between the few times it shown rpm hand going whacked. So went all of an sudden to where now just cannot drive it past 10 or 15 mph. Because touch gas it whines out with noise like it would if shifter was to be knocked backwards or downwards in to shifter number 2 but shifter said was in D although sounded like it was in wrong gear. Please tell me that my transmission is okay and is something simple to fix. The guy I know who's going to change transmission screen for me. I watched YouTube it is like tops 20 minutes job wants 75 bucks which is expensive especially if it is not my screen. There may be more stuff I'm lacking to inform you of if you have any questions please ask because so far this is all I can recall of for info that I'm aware of. No check engine light is on back alerts lit up nothing so being in line of traffic and all sudden can't shift touching gas to go faster to get up to speed limit. I almost got rear ended and it is very scary to feel stuck where you cant move your auto. So I'm told don't whine it out and don't drive it or else can ruin my transmission. Do you think the thump noise turning it off with an vibration or shake feeling is maybe transmission not bolted in correctly? Also in cold weather I was taught warm autos up before leaving or else can ruin lifters in the motor. So yes was warmed up before I left. And to try it cold my friend says try it while is cold but I'm too scared of would ruin mg transmission being it whines out after it shifts 1 time in the drive gear aka D.
Was this
answer
helpful?
Yes
No
Friday, September 11th, 2020 AT 4:02 PM (Merged)
Tiny
ASEMASTER6371
  • MECHANIC
  • 52,796 POSTS
Good morning,

I would start by changing the fluid and filter. It could be a clogged screen in the filter.

https://www.2carpros.com/articles/automatic-transmission-problems

https://www.2carpros.com/articles/how-to-service-an-automatic-transmission

Are there any codes set?

Roy
Was this
answer
helpful?
Yes
No
Friday, September 11th, 2020 AT 4:02 PM (Merged)

Please login or register to post a reply.