Monday, March 17th, 2014 AT 12:19 PM
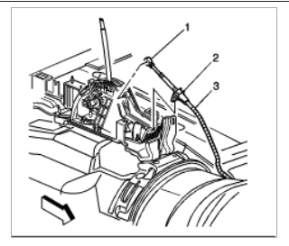
The vehicle is shut off and stuck in drive. I pulled into the driveway, tried to put the vehicle in park and it stuck in drive. I shut the vehicle off before I realized there was a problem and It would not restart. The button on the shift handle is stuck and will not release.





