Transmission replacement

Tiny
RUDYS13
  • MEMBER
  • 2006 FORD F-150
  • 4.0L
  • V6
  • 2WD
  • AUTOMATIC
  • 200,000 MILES
So I was driving home from my university, I had to speed up to get into another lane and when I did my truck jumped a bit and it wasn’t speeding up. The Rpms would go up but it wouldn’t speed up. Then I noticed the trans oil was leaking and I pulled to the side and had it Towed home. Any help on what it could be and if it’s a easy fix maybe. Just wanted to get someone else’s experience so if I take it to a shop I will know I’m not getting ripped off
Thursday, January 24th, 2019 AT 6:33 AM

1 Reply

Tiny
ASEMASTER6371
  • MECHANIC
  • 52,796 POSTS
From the sounds of it, the transmission forward clutches have been damaged from lack of fluid. That would explain the reason it will not forward but only reverse. Looks like you are going to need a rebuild. I attached a guide for the transmission issue below and also the procedure for removing the transmission.

https://www.2carpros.com/articles/automatic-transmission-problems

Removal

1. With the vehicle in NEUTRAL, position it on a hoist.
2. Disconnect the battery ground cable. See: Battery > Procedures

3. NOTE: If transmission disassembly is required, drain the transmission fluid.

- Loosen the transmission fluid pan bolts and allow the transmission fluid to drain.

4. After the transmission fluid has drained, remove the transmission fluid pan and drain the remaining transmission fluid from the transmission fluid pan. Inspect the fluid pan for any visible debris (metal particles or clutch material).

5. If transmission fluid contamination or transmission failure is confirmed by debris in the bottom of the transmission fluid pan, the transmission fluid cooler bypass valve must be replaced. If the vehicle is equipped with an oil-to-air (OTA) cooler, a new OTA must be installed.

6. NOTE:It is not necessary to torque the transmission fluid pan bolts in this step.

- Install the transmission fluid pan.
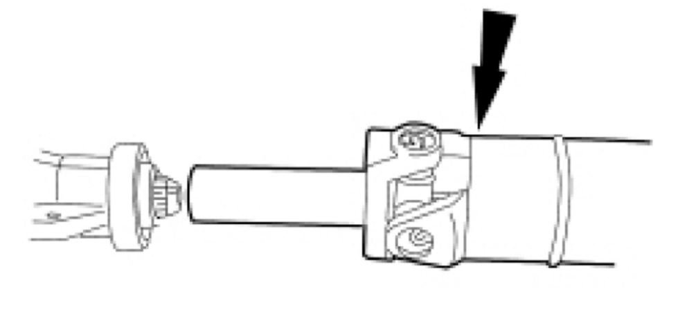
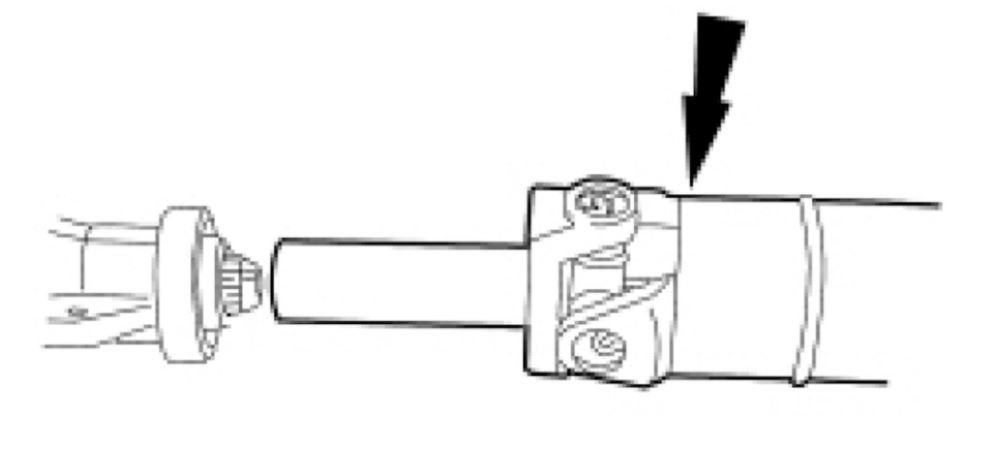
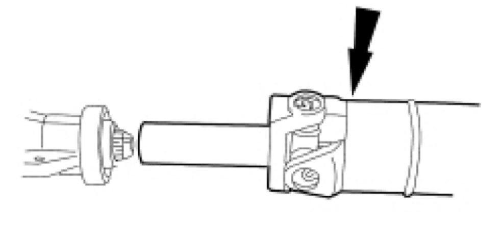
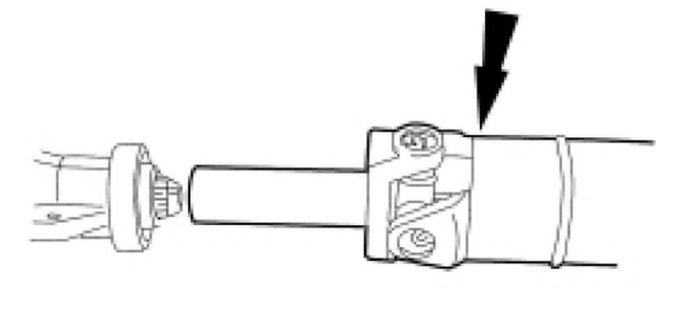
7. Mark the driveshaft flange and rear axle pinion flange for correct alignment during installation.

8. Remove the 4 bolts.

9. Remove the driveshaft.

10. Remove the fuel line bracket from the extension bolt.

11. Disconnect the selector lever cable end.

12. Disconnect the heated oxygen sensor (HO2S) connector.

13. Remove the HO2S connector from the selector lever cable bracket.

14. Remove the selector lever cable bracket from the transmission.

15. Remove the flexplate inspection cover.

16. Remove the rubber access plug.

17. Remove and discard the 4 flexplate-to-torque converter nuts.

18. Remove the plastic starter motor electrical connector cap.

19. Remove the starter motor electrical connectors and the ground wire.

20. Remove the 3 bolts and the starter motor.

21. Disconnect the transmission cooler tubes and position them aside.

22. Remove the bolt from the RH cylinder head for the transmission filler tube and position the filler tube aside.

23. Remove the 2 bolts for the exhaust hanger.

24. Remove the RH exhaust shield bolt.

25. Remove the LH exhaust shield bolt.

26. NOTE: Make sure that the transmission is securely fastened to a suitable transmission jack.

- Position a suitable high-lift transmission jack under the transmission.

27. Remove the insulator nuts.

28. Remove the rear transmission retainer bolts and remove the crossmember.

29. Remove the insulator bolts and the insulator.

30. Disconnect the electrical connectors and remove the wire harness from the transmission.

- Disconnect the digital transmission range (TR) sensor electrical connector.
- Disconnect the output shaft speed (OSS) sensor electrical connector.
- Disconnect the turbine shaft speed (TSS) sensor electrical connector.

31. Disconnect the solenoid body assembly electrical connector.

32. NOTE: If the transmission fluid has not been drained, position a drain pan and install a suitable plug into the transmission.

NOTE: Note the length and the location of the bolts during removal.

- Remove the 7 transmission-to-engine bolts.

33. WARNING: Secure the torque converter in the transmission during removal or installation. The torque converter is heavy and may result in injury if it falls out of the transmission. Failure to follow this instruction may result in serious personal injury.

- Leaving the transmission in a horizontal position, slide it back far enough to install the special tool. Install the special tool.

34. NOTICE: To remove the transmission from the vehicle, it will be necessary to put the transmission into a nose-down position to clear, and not damage, the flexplate and the exhaust system.

NOTE: Make sure that the special tool is in place and the transmission is securely fastened to a suitable transmission jack before tilting the transmission.

- Lower the transmission from the vehicle.

35. If the transmission is to be overhauled or if installing a new transmission, carry out transmission backflushing and cleaning. See: Automatic Transmission/Transaxle > Procedures
36. Remove the special tool.

Check out the diagrams (Below). Please let us know if you need anything else to get the problem fixed.
Was this
answer
helpful?
Yes
No
Wednesday, March 24th, 2021 AT 1:36 PM

Please login or register to post a reply.