Fan running continuously

Tiny
MOS DIZ
  • MEMBER
  • 2003 TOYOTA CROWN
  • 3.0L
  • V6
  • 2WD
  • AUTOMATIC
  • 130,000 MILES
My question is, the cooling fan is running continuously and my mechanic told me that that is normal with this car. Is that true? If not, how do I rectify the problem?
Saturday, March 23rd, 2019 AT 11:14 AM

1 Reply

Tiny
JACOBANDNICKOLAS
  • MECHANIC
  • 110,192 POSTS
Welcome to 2CarPros.

FIrst, I have to explain that this vehicle isn't offered in the US, but to the best of my knowledge, the Lexus GS 300 is the same vehicle. As far as the fan, no it shouldn't run all the time. It is designed to turn on when a certain temperature is reached by the engine coolant or to run when the AC or defroster is on.

The first thing I would suggest is to check the cooling fan relays to see if one is bad. There are three of them. Here are the directions. The attached pictures correlate with these directions.

__________________________________

2003 Lexus GS 300 L6-3.0L (2JZ-GE)
Cooling Fan Relay(s)
Vehicle Engine, Cooling and Exhaust Cooling System Radiator Cooling Fan Radiator Cooling Fan Motor Relay Testing and Inspection Component Tests and General Diagnostics Cooling Fan Relay(s)
COOLING FAN RELAY(S)
INSPECTION
1. INSPECT NO.1 COOLING FAN RELAY

pic 1

a. Remove the relay box cover.
b. Remove the No.1 cooling fan relay. (Marking: FAN NO.1)

pic 2

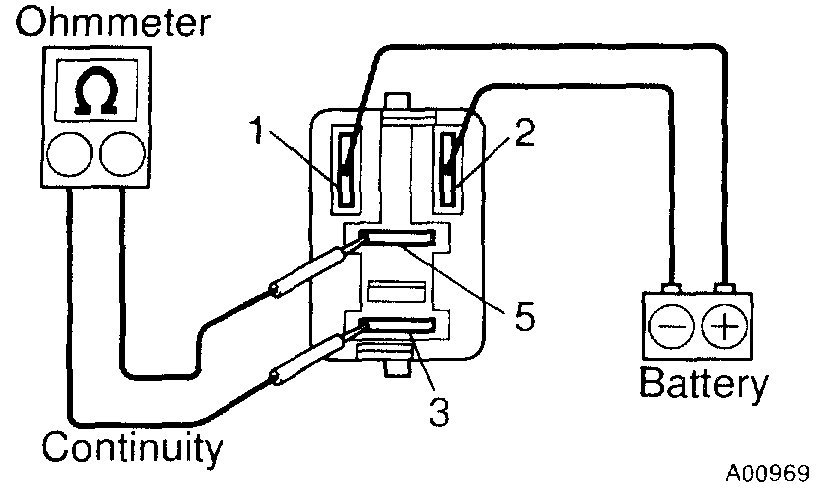
c. Inspect the No.1 cooling fan relay continuity.
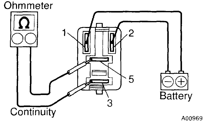
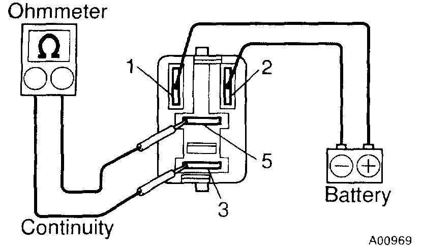
(1) Using an ohmmeter, check that there is continuity between terminals 1 and 2.
If there is no continuity, replace the relay.
(2) Check that there is continuity between terminals 3 and 4.
If there is no continuity, replace the relay.

pic 3

d. Inspect the No. 1 cooling fan relay operation.
(1) Apply battery positive voltage across terminals 1 and 2.
(2) Using an ohmmeter, check that there is no continuity between terminals 3 and 4.
If there is continuity, replace the relay.
e. Reinstall the No.1 cooling fan relay.
f. Reinstall the relay box cover.
2. INSPECT NO.2 COOLING FAN RELAY
a. Remove the relay box cover.

pic 4

b. Remove the No.2 cooling fan relay. (Marking: FAN NO.2)

pic 5

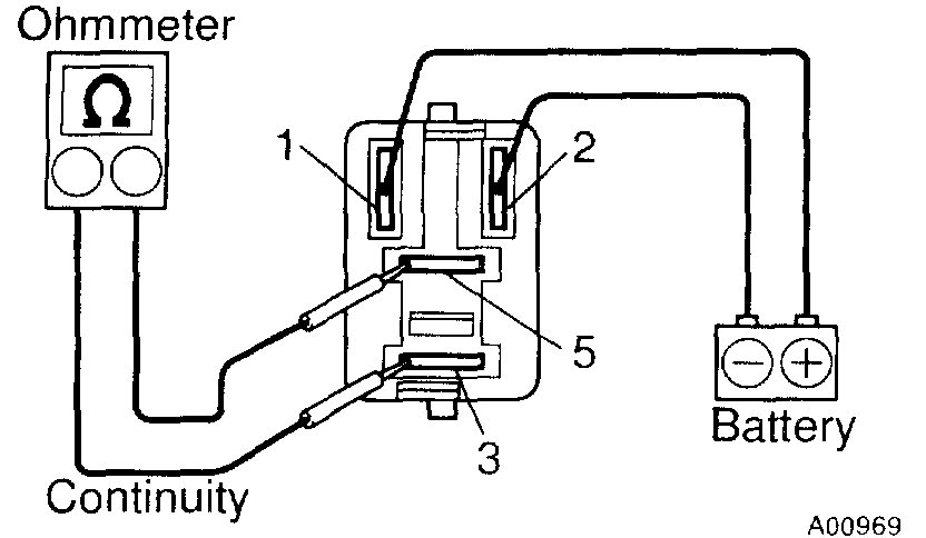
c. Inspect the No.2 cooling fan relay continuity.
(1) Using an ohmmeter, check that there is continuity between terminals 1 and 2.
If there is no continuity, replace the relay.
(2) Check that there is continuity between terminals 3 and 4.
If there is no continuity, replace the relay.
(3) Check that there is no continuity between terminals 3 and 5.
If there is continuity, replace the relay.

pic 6

d. Inspect the No.2 cooling fan relay operation.
(1) Apply battery positive voltage across terminals 1 and 2.
(2) Using an ohmmeter, check that there is no continuity between terminals 3 and 4.
If there is continuity, replace the relay.
(3) Using an ohmmeter, check that there is continuity between terminals 3 and 5.
If there is no continuity, replace the relay.
e. Reinstall the No.2 cooling fan relay.
f. Reinstall the relay box cover.
3. INSPECT N0-3 COOLING FAN RELAY
a. Remove the relay box cover.

pic 7

b. Remove the No.3 cooling fan relay. (Marking: FAN NO.3)

pic 8

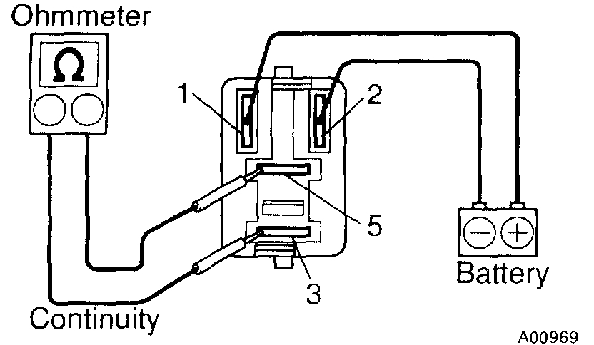
c. Inspect the No.3 cooling fan relay continuity.
(1) Using an ohmmeter, check that there is continuity between terminals 1 and 2.
If there is no continuity, replace the relay.
(2) Check that there is no continuity between terminals 3 and 5.
If there is continuity, replace the relay.

pic 9

d. Inspect the N o.3 cooling fan relay operation.
(1) Apply battery positive voltage across terminals 1 and 2.
(2) Using an ohmmeter, check that there is continuity between terminals 3 and 5.
If there is no continuity, replace the relay.
e. Reinstall the No.3 cooling fan relay.
f. Reinstall the relay box cover.

____________________________________

Here are a few links you may find helpful.

https://www.2carpros.com/articles/how-to-check-an-electrical-relay-and-wiring-control-circuit

https://www.2carpros.com/articles/how-to-use-a-test-light-circuit-tester

https://www.2carpros.com/articles/how-to-use-a-voltmeter

https://www.2carpros.com/articles/how-to-check-wiring

Let me know if this helps.

Take care,
Joe
Was this
answer
helpful?
Yes
No
+1
Saturday, March 23rd, 2019 AT 6:56 PM

Please login or register to post a reply.