Sweet smell after turning on the heater

Tiny
RIKII90
  • MEMBER
  • 2005 CHEVROLET COLORADO
  • 5 CYL
  • 4WD
  • AUTOMATIC
  • 124,000 MILES
I was driving my truck and it’s cold out so the windows were fogging up. So I turned on my heater and it made it worse and I started to smell a sweet smelly odor. I am not sure what the cause of this is.
Wednesday, December 2nd, 2020 AT 11:20 AM

2 Replies

Tiny
KASEKENNY
  • MECHANIC
  • 18,907 POSTS
This is the heater core has a leak in it. The smell that you are getting is the coolant as it smells sweet and the moisture from the coolant is what is fogging up your windows.

Here is a guide that will help with the replacement:

https://www.2carpros.com/articles/replace-heater-core

Unfortunately there is no other repair for this then replacing it so I also attached the process from the manual.

Let me know what questions you have. Thanks
Was this
answer
helpful?
Yes
No
Wednesday, December 2nd, 2020 AT 1:46 PM
Tiny
ASEMASTER6371
  • MECHANIC
  • 52,796 POSTS
Good afternoon,

This is a sign of a leaking heater core. Coolant will smell like this when it leaks into the cabin.

https://www.2carpros.com/articles/replace-heater-core

I attached the procedure and some pictures for you of the repair.

Let us know if you have any other questions.

Roy

HEATER CORE REPLACEMENT

REMOVAL PROCEDURE
1. Remove the HVAC module assembly. See: Housing Assembly HVAC > Service and Repair

imageOpen In New TabZoom/Print

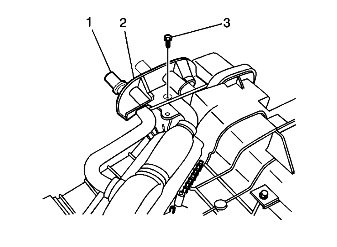
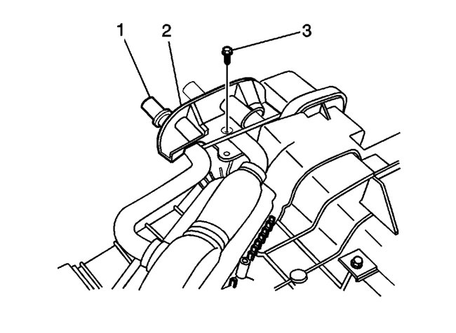
2. Remove the heater core pipes clamp screw (3).
3. Remove the heater core pipes clamp (2).
4. Remove the heater core clamp screws.
5. Remove the heater core clamp (2).
6. Remove the heater core from the HVAC module.

INSTALLATION PROCEDURE

imageOpen In New TabZoom/Print

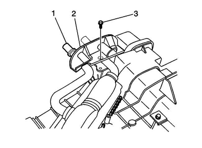
1. Install the heater core to the HVAC module.
2. Install the heater core clamp (2).

NOTE: Refer to Fastener Notice in Service Precautions.

3. Install the heater core clamp screws.

Tighten
Tighten the screws to 1.9 N.m (17 lb in).

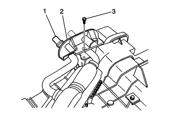
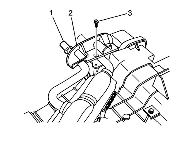
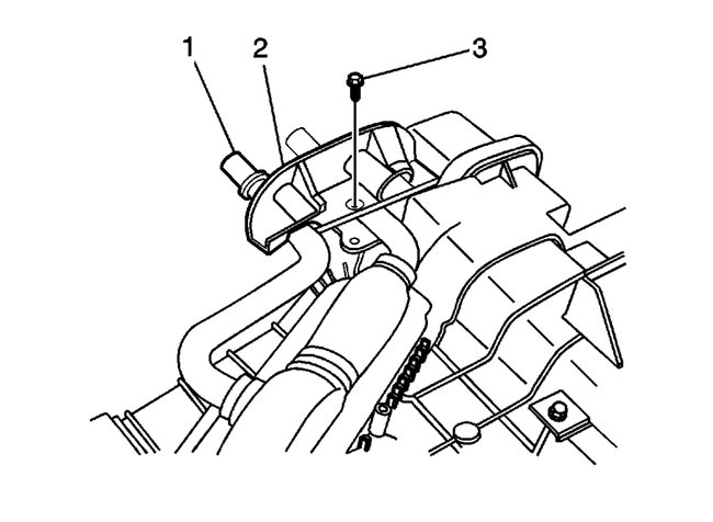
4. Install the heater core pipes clamp (2).
5. Install the heater core pipes clamp screw (3).

Tighten
Tighten the screw to 20 N.m (15 lb ft).

6. Install the HVAC module assembly.

HVAC MODULE ASSEMBLY REPLACEMENT (W/ AIR CONDITIONING)

TOOLS REQUIRED
J 43181 Heater Line Quick Connect Release Tool
J 39400-A Halogen Leak Detector

REMOVAL PROCEDURE
1. Drain the engine coolant. Refer to Draining and Filling Cooling System in Cooling System.
2. Recover the refrigerant. Refer to Refrigerant Recovery and Recharging.
3. Remove the I/P carrier.

imageOpen In New TabZoom/Print

4. Release the heater hose clamps using J 43181.
5. Disconnect the heater hose quick connects (2) and (3) from the heater core.

imageOpen In New TabZoom/Print

6. Remove the retaining nut from the TXV stud.
7. Remove the evaporator tube and suction hose from the TXV.
8. Disconnect all of the electrical connectors to the HVAC module assembly.
9. Remove the HVAC module retaining nuts from the cowl.
10. Remove the HVAC module assembly.

INSTALLATION PROCEDURE
1. Install the HVAC module assembly.
2. Install the HVAC module retaining nuts from the cowl.

NOTE: Refer to Fastener Notice in Service Precautions.

3. Tighten the HVAC module retaining nuts.

Tighten
Tighten the nut to 4.5 N.m (40 lb in).

imageOpen In New TabZoom/Print

4. If replacing the HVAC module assembly (8), transfer the components from the old HVAC module assembly as necessary.
5. Install the HVAC module assembly (8).
6. Connect all of the electrical connectors to the HVAC module assembly.

imageOpen In New TabZoom/Print

7. Connect the heater hose quick connects (2) and (3) to the heater core.
8. Install the evaporator tube and suction hose to the TXV.
9. Install the retaining nut to the TXV stud.

NOTE: Refer to Fastener Notice in Service Precautions.

10. Tighten the retaining nut.

Tighten
Tighten the nut to 4.5 N.m (40 lb in).

11. Install the I/P carrier.
12. Evacuate and recharge the A/C system. Refer to Refrigerant Recovery and Recharging.
13. Leak test the fittings of the components using the J 39400-A.
14. Refill the engine coolant. Refer to Draining and Filling Cooling System in Cooling System.
Was this
answer
helpful?
Yes
No
Wednesday, December 2nd, 2020 AT 1:50 PM

Please login or register to post a reply.