Transmission will not shift into first, second, or fourth gears?

Tiny
REKLESSREDNEK88
  • MEMBER
  • 2006 CHEVROLET TRUCK
  • 6.6L
  • V8
  • TURBO
  • 4WD
  • AUTOMATIC
  • 75,000 MILES
I parked my truck about a year ago and it ran fine and shifted great. I fired it up the other day and took it for a drive. When I shift it out of park and into drive it shifted hard and seems to be going into 3rd and won't shift into 1st 2nd or 4th. It just stays in 3rd. I can shift it into reverse and when I do it shifts very hard and there is a hard jerk. What do I need to do? There is a code stating that it lost communication with the transmission.
Thank you
Friday, January 27th, 2023 AT 12:55 AM

1 Reply

Tiny
STEVE W.
  • MECHANIC
  • 15,687 POSTS
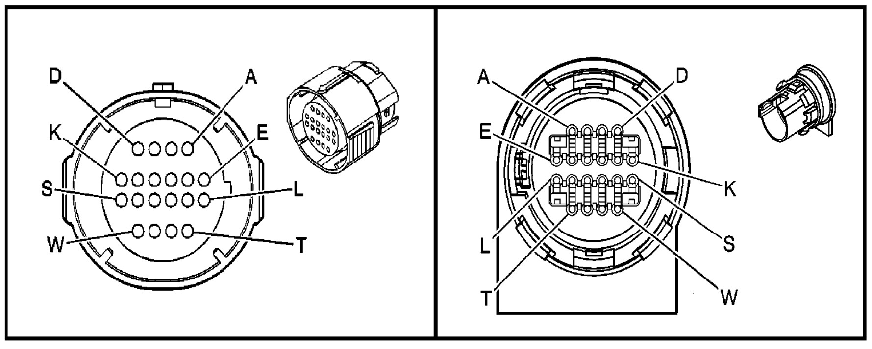
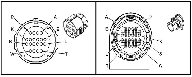
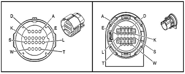
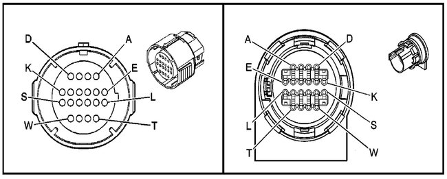
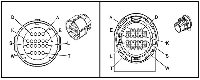
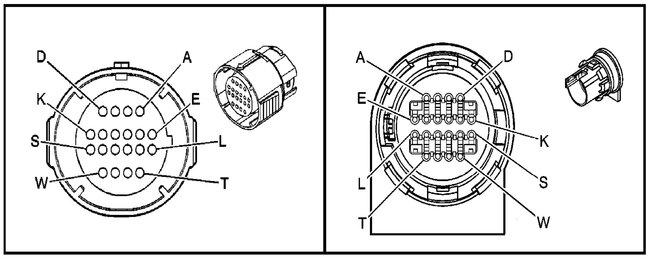
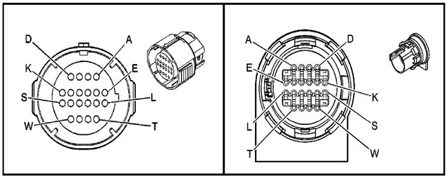
Parked for a year and now it has transmission issues. First thing will be to check the wiring harness for rodent damage, they love to snack on the insulation and have been known to eat the wires. If the harness checks out visually then the next step is to unplug the wiring connector from the side of the transmission and look inside, it to see if there is any transmission fluid in it. It's a common issue on that transmission for the insulation and seals on the connectors inside the transmission to fail and cause random issues as well as the switch assembly inside the transmission which tells the PCM what the transmission is doing. The lost comm code is common in both instances. If the issue is chewed wiring it can just be repaired. If it is internal leakage you need to remove the transmission pan, then the harness and valve body to get the harness out.
Was this
answer
helpful?
Yes
No
Friday, January 27th, 2023 AT 2:27 AM

Please login or register to post a reply.