Will not start, possible anti-theft issue?

Tiny
MICHAELMAXWELL420559
  • MEMBER
  • 1996 FORD F-150
  • 200,000 MILES
The pickup truck won't let me start it. It used to but now it doesn't. I'm thinking it's the security, is there any way to bypass it or any way to fix it? When I try to start it I hear nothing from the starter at all. It's not the starter, the starter is new, batteries good. So, I'm thinking it's the ignition or the Pats if it has pats. Can you tell me that as well?
Monday, October 10th, 2022 AT 3:49 PM

1 Reply

Tiny
STEVE W.
  • MECHANIC
  • 15,688 POSTS
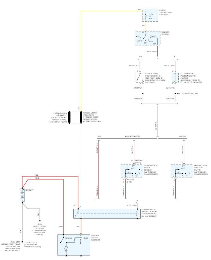
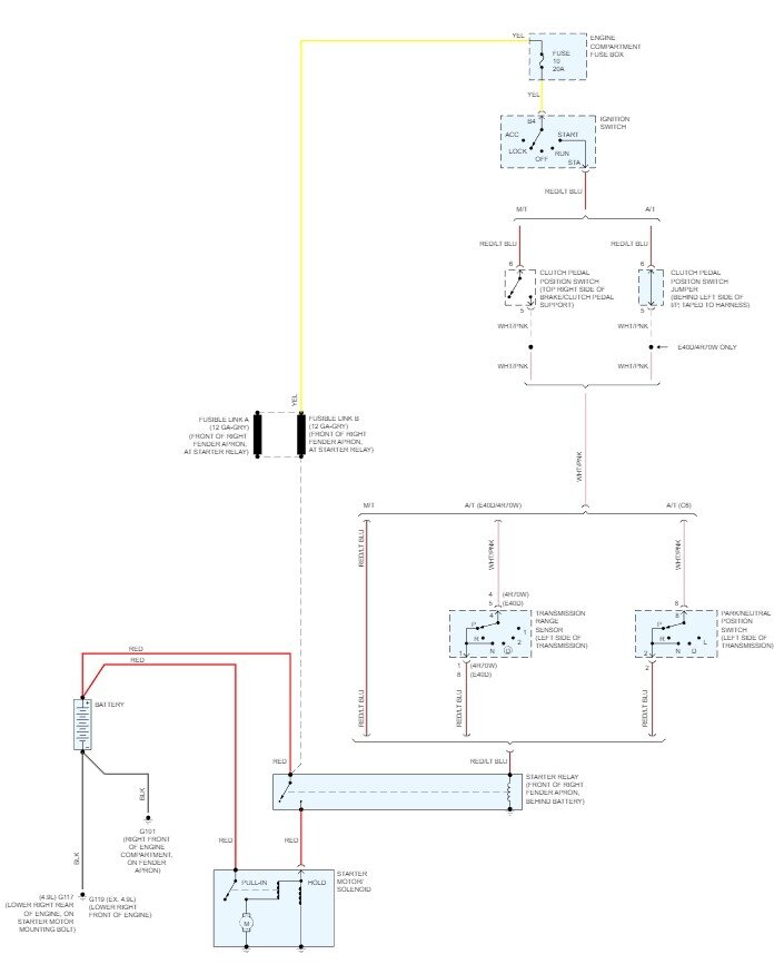
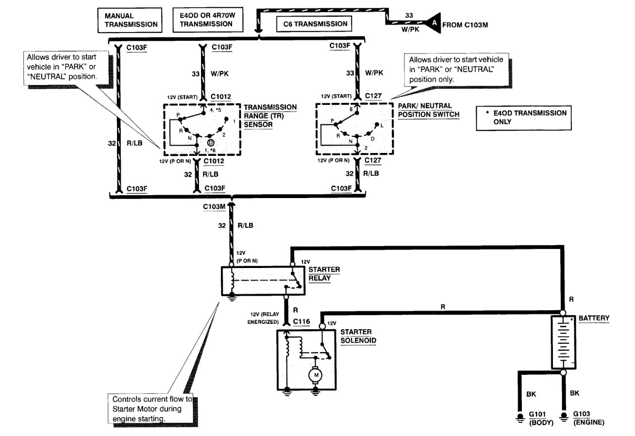
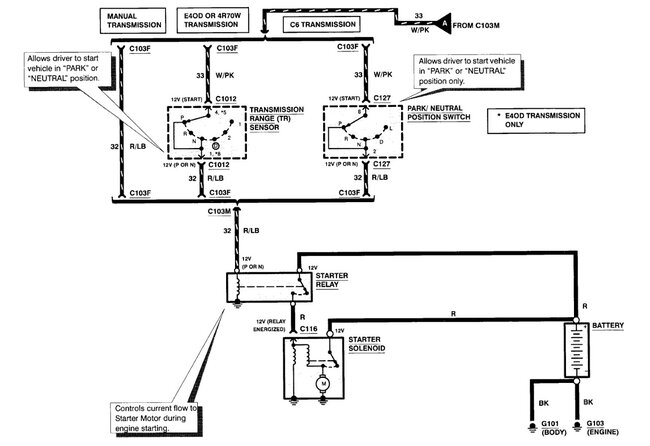
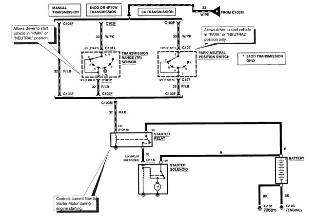
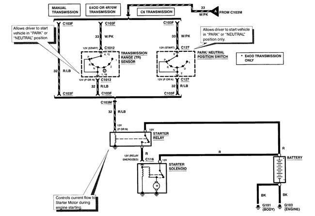
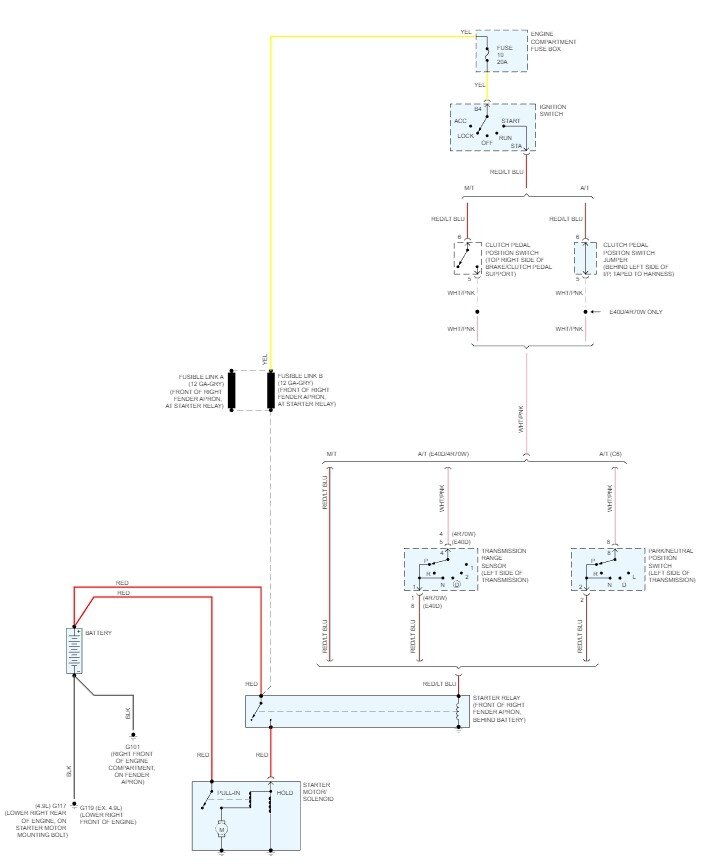
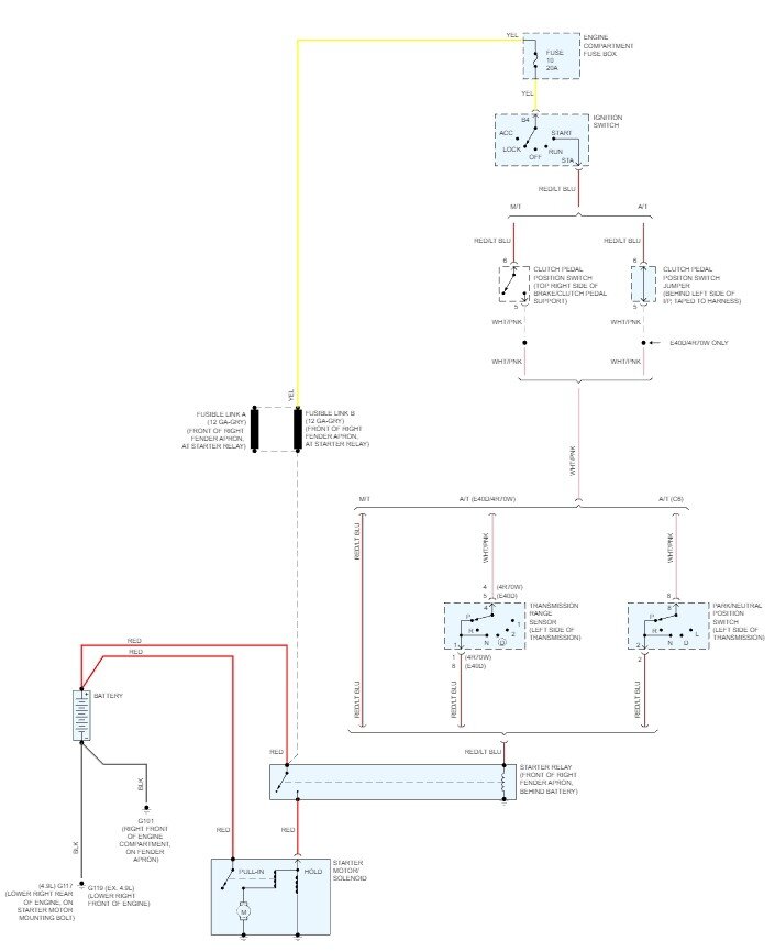
The 1996 didn't have a starter disable relay, so if you turn the key and hear nothing it isn't the PATS system preventing it from starting. From the description it sounds like the starter relay or the switch not sending the start signal. The relay is on the right inner fender and looks like the last picture. It has to be grounded to the fender and the small terminal is the one that gets voltage from the ignition switch. To test if it's the relay is simple. Make sure the truck is in park, now take a piece of wire and jump from the battery feed on the relay to the small screw terminal. If the starter engages and the engine turns over the relay, battery and starter are good. If nothing happens or you only hear a click and no starter, then the relay is likely the problem. A way to test the rest of the parts is to use a solid piece of metal across the two large terminals. If the starter now turns but the relay didn't trigger it, the relay is bad.
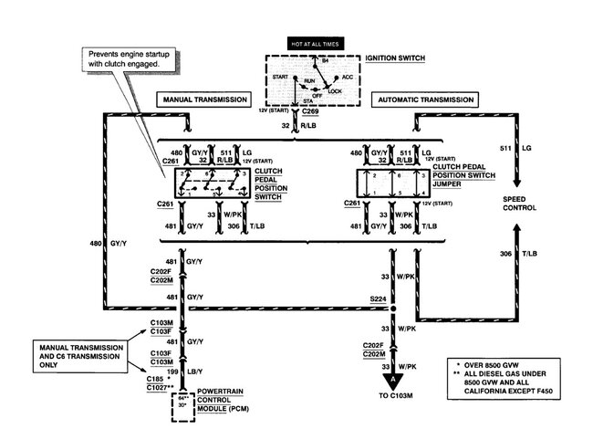
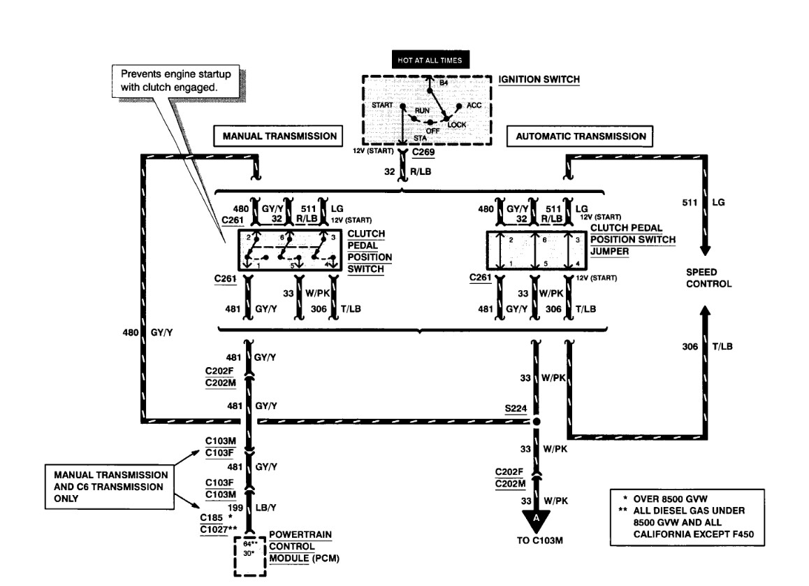
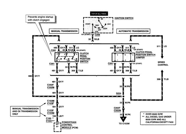
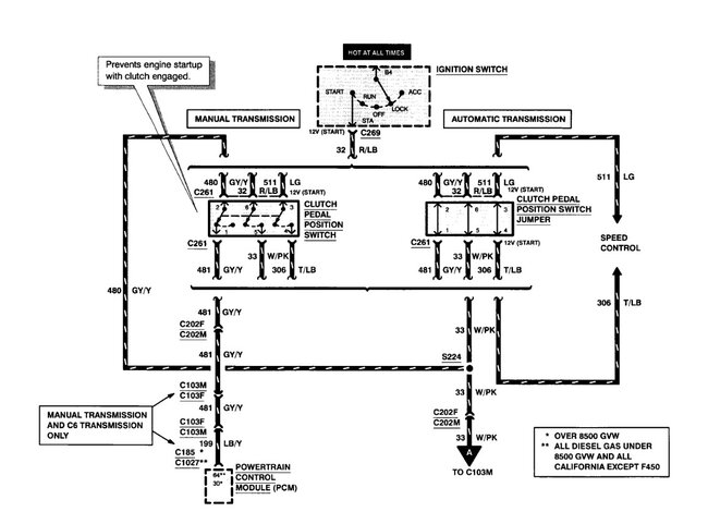
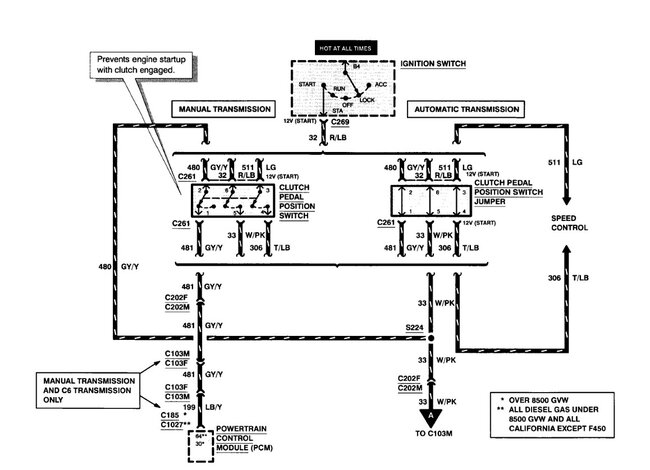
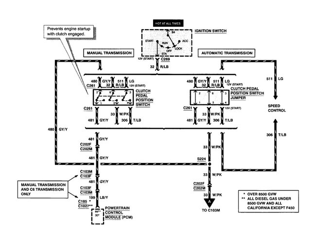
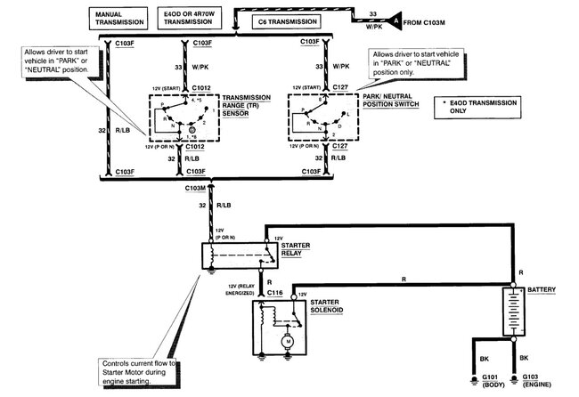
Now if testing here shows that the relay and the rest are good then we need to test the wiring from the relay back to the ignition switch. There are a couple of interlock switches in the circuit that can stop the starter from cranking. What type they are depends on if it's an automatic or a standard shift. On an auto it would be the park neutral switch, on a manual it would be the clutch interlock switch. The attached wiring diagrams show the wires that control the starting system. Testing them is simple, for all of the various switches you can just use a jumper wire to bypass the switches. So, if you bypass the park neutral switch and it now starts, the PN switch is bad. Same with the other interlock switches.
The PN switch is on the side of the transmission if it's an automatic.
Replacing it isn't hard, but it can be a bit fussy if there is rust. First block the tires and put the transmission into neutral. Then loosen the bolts that retain the switch. Remove the lever that the cable connects to remove the bolts and the switch. Install the new switch by reversing that process. Most of them will come with instructions for the adjustments and positioning of the switch. If it's a manual the switch is next to the clutch pedal arm.
Now say you jumped across those switches, and it still didn't try to start when you used the key, then it is likely a bad ignition switch. To change that is a bit more complex as the switch is bolted in place at the bottom of the steering column. It basically unbolts, remove the wiring and replace the switch. With the key in the off position. Now test it to be sure it is adjusted properly and off run and start are all in the correct places.
Was this
answer
helpful?
Yes
No
Monday, October 10th, 2022 AT 10:15 PM

Please login or register to post a reply.