Not starting after it sits

Tiny
DOLA927
  • MEMBER
  • 1995 CHEVROLET S-10
  • 4 CYL
  • 2WD
  • AUTOMATIC
  • 117,000 MILES
It will start and run. However, after you turn the vehicle off and let it sit for twenty minutes, the truck will not start until the next day.
Wednesday, May 29th, 2019 AT 11:03 AM

3 Replies

Tiny
JACOBANDNICKOLAS
  • MECHANIC
  • 110,192 POSTS
Welcome to 2CarPros.

When the engine fails to start, you need to check if it is getting spark and fuel. I have a feeling this is an ignition spark related problem, most likely resulting from a faulty crankshaft position sensor.

What I need you to do is check for spark and fuel. The easiest way is to see if it will start using starting fluid. If it starts for a couple seconds and then shuts off, it is a fuel related issue. If it refuses to start, then suspect ignition (no spark).

Here are links that will help you with diagnosing the problem. Take a look through them and let me know if it helps or if you have other questions.

https://www.2carpros.com/articles/car-cranks-but-wont-start

https://www.2carpros.com/articles/how-to-check-fuel-system-pressure-and-regulator

https://www.2carpros.com/articles/how-to-test-an-ignition-system

https://www.2carpros.com/articles/how-a-crank-shaft-angle-sensor-works

https://www.2carpros.com/articles/symptoms-of-a-bad-crankshaft-sensor

https://www.2carpros.com/articles/crankshaft-angle-sensor-replacement

Joe
Was this
answer
helpful?
Yes
No
Wednesday, May 29th, 2019 AT 8:31 PM
Tiny
DOLA927
  • MEMBER
  • 2 POSTS
Thanks for the information.

The engine will start for a couple of seconds using starting fluid and then shuts off. There is no performance problems while the engine is running. But once the engine is warm and you turn the ignition off, the truck will not start again until the engine cools down. After the engine is cool, it will start and keep running until you turn the truck off.

Again thanks for the information, Larry
Was this
answer
helpful?
Yes
No
Thursday, May 30th, 2019 AT 4:00 AM
Tiny
JACOBANDNICKOLAS
  • MECHANIC
  • 110,192 POSTS
Welcome back:

If it will start for a couple seconds with starting fluid (warm) and stall, then it is a fuel related issue. Have you checked fuel pressure when the vehicle won't run?

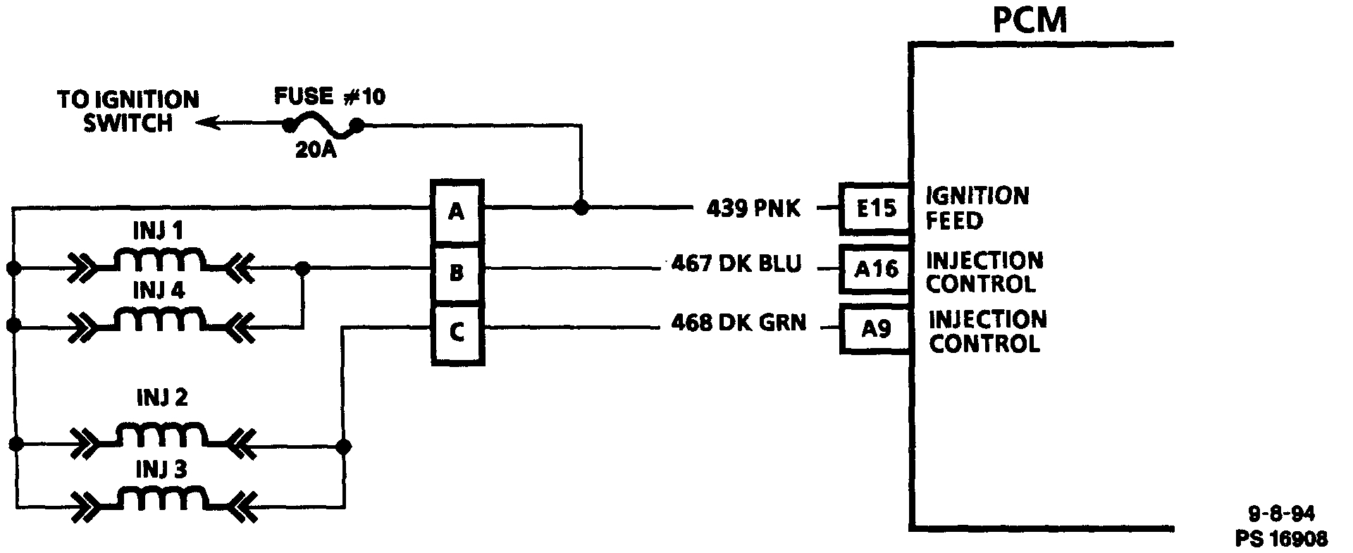
Let me know. Larry, I'll try my best to help. We need to eliminate the simple things first. Since it starts for a couple seconds with starting fluid, then it't not getting fuel. Now, this could be related to a sensor, bad fuel pump relay, simply a plugged fuel filter, the fuel pump, or an issue with the injectors. To know where we should start troubleshooting, we first need to know what the fuel pressure is when it won't start.

If you look at the attached pictures, they discuss a crank/no start and specific tests for your vehicle. Fuel pressure testing is included. Here are the directions which correlate with the testing. Note that the test follow a flow chart, so check one thing at a time. Also, this will need to be done when the engine won't start. I'm adding this first because it includes fuel pressure testing and general other checks.

Let me know what you find with the fuel pressure or if you have other questions, let me know.

Joe
Was this
answer
helpful?
Yes
No
Thursday, May 30th, 2019 AT 7:15 PM

Please login or register to post a reply.