No spark?

Tiny
NICK123456#
  • MEMBER
  • 4 POSTS
  • 2002 CHEVROLET SILVERADO
  • 4.3L
  • V6
  • 2WD
  • AUTOMATIC
  • 200,000 MILES
My truck is cranking but not starting. Originally it was misfiring and jerking under load then it started dying when put in gear and sitting at a stop sign and it just died going up a hill and would not turn back on.

I replaced the alternator, belt, crankshaft sensor, spark plugs and spark plug wiring, and the distributor. I also tried jump starting it.

I checked the fuel pump pressure with a gauge and ran at 60 psi (fuel pump was replaced within the year). To also make sure it wasn't the fuel pump I used starting fluid and still would not start.

I tested the spark plug on cylinder 1 and boot with a tester. Received no spark. I then replaced the distributor, and now have spark but still no go on the start.

I next replaced the spark plugs and wiring. Still no start.

My next theory is the cam shaft sensor is bad. Could this cause a no start? Or could I have installed the distributor wrong but if it is wrong, why am I still receiving spark?

Codes that were on p0404, p0405, p1345, p0300, p0341
Was this
answer
helpful?
Yes
No
Monday, October 5th, 2020 AT 10:08 AM (Merged)
Tiny
MOTOR MASTER
  • MECHANIC
  • 279 POSTS
Hello my name is Dave.

First thing we need to diagnose is the P1345 code which is saying that the cam and crank sensors are not synchronized with each other. In simpler terms the timing is off (I don't know why that can't just call it that ). This can cause a cam sensor code (P0341) and random misfire code (P0300 ). The cam sensor is located in the distributor so if you replaced the distributor with a complete unit you have already replaced the sensor. I am going to attach the diagrams from the manual showing how to install the distributor. Unfortunately to properly time the cam sensor (distributor) you will need a scan tool that has live data however if you follow the distributor installation instructions the engine should start provided that is the only cause of your no start. I am also noting where the illustrations are located in the manual.
Illustration 1
1. Rotate the crankshaft balancer clockwise until the alignment marks on the crankshaft balancer are aligned with the tabs on the engine front cover and the number 1 piston is at top dead center of the compression stroke.
Illustration 2
2. Align white paint mark on the bottom stem of the distributor, and the pre-drilled indent hole in the bottom of the gear (3).
NOTE: The ignition system distributor driven gear and rotor may be installed in multiple positions. In order to avoid mistakes, mark the distributor on the following compartments in order to ensure the same mounting position upon reassembly:
The distributor driven gear
The distributor shaft
The rotor holes
Installing the driven gear 180 degrees out of alignment, or locating the rotor in the wrong holes, will cause a no-start condition. Premature engine wear or damage may result.
3. With the gear in this position, the rotor segment should be positioned as shoran for a V6 engine.
Illustration 3
4. Using a long screw driver, align the oil pump drive shaft to the drive tab of the distributor.
5. Guide the distributor into the engine. Ensure that the spark plug towers are perpendicular to the center-line of the engine.
Illustration 4
6. Once the distributor is fully seated, the rotor segment should be aligned with the pointer cast into the distributor base.
This pointer may have a 6 cast into it, indicating that the distributor is to be used on a 6 cylinder engine or a 8 cast into it, indicating that the distributor is to be used on a 8 cylinder engine.
If the rotor segment does not come within a few degrees of the pointer, the gear mesh between the distributor and the camshaft may be off a tooth or more.
If this is the case, repeat the procedure again in order to achieve proper alignment.
I believe if you follow these instructions the engine will start and as far as the other codes for the EGR valve lets worry about those after we get the engine running. Please keep us up to date on your progress and thank you for using 2CarPros!
Was this
answer
helpful?
Yes
No
Monday, October 5th, 2020 AT 10:08 AM (Merged)
Tiny
PBUTCHER04
  • MEMBER
  • 4 POSTS
  • 2002 CHEVROLET SILVERADO
Engine Mechanical problem
2002 Chevy Silverado 6 cyl Two Wheel Drive Automatic

I was driving the other day when my truck started sputtering and then died. It will crank but not start. I have installed a new coil and control module. I can hear the fuel pump running when I turn the key. Ive checked all fuses and everything is ok. I see it sparking from the coil but the spark is orange. I would expect it to be blue, but I dont know. What could be the problem?
Was this
answer
helpful?
Yes
No
Monday, October 5th, 2020 AT 10:08 AM (Merged)
Tiny
MASTERTECHTIM
  • MECHANIC
  • 4,750 POSTS
SprAY starter fluid into intake and see if it starts, if it does then the fuel pump is too weak
Was this
answer
helpful?
Yes
No
Monday, October 5th, 2020 AT 10:09 AM (Merged)
Tiny
PBUTCHER04
  • MEMBER
  • 4 POSTS
Sprayed starter fluid. Still doesnt start. Does give more of an effort. But nothing
Was this
answer
helpful?
Yes
No
Monday, October 5th, 2020 AT 10:09 AM (Merged)
Tiny
MASTERTECHTIM
  • MECHANIC
  • 4,750 POSTS
Well I would first want to check distributor cap and rotor to make sure the spark is going to the right cylinders. If ok then remove spark plugs and checked for flooding and go from there
Was this
answer
helpful?
Yes
No
Monday, October 5th, 2020 AT 10:09 AM (Merged)
Tiny
PBUTCHER04
  • MEMBER
  • 4 POSTS
Did all that. Everything seems fine
Was this
answer
helpful?
Yes
No
+1
Monday, October 5th, 2020 AT 10:09 AM (Merged)
Tiny
MASTERTECHTIM
  • MECHANIC
  • 4,750 POSTS
If the spark plugs are not fouled then I would assume its from not getting fuel. You did spray starter fluid directly into intake throttle body and you say it did not start? 99 percent of the time when I have spark on this engine and no start its from a lack of fuel pressure and starter fluiod in the throttle body is the easiest way to determine this because it will give enough to get it to run. I would double check the starter fluid trick again. Have some one crank engine over then spray starter fluid directly into throttle body and tell me what happe ns
Was this
answer
helpful?
Yes
No
-1
Monday, October 5th, 2020 AT 10:09 AM (Merged)
Tiny
PBUTCHER04
  • MEMBER
  • 4 POSTS
I sprayed starting fluid. It acts like its going to start but never does. I have tried and tried.
Was this
answer
helpful?
Yes
No
Monday, October 5th, 2020 AT 10:09 AM (Merged)
Tiny
TOM RUNDHAUG
  • MEMBER
  • 1 POST
  • 2001 CHEVROLET SILVERADO
  • V8
  • 4WD
  • AUTOMATIC
  • 150,000 MILES
I had a problem with my starter. The wire from the solenoid to the starter was corroded off. I put a new end on the starter wire and put the starter back in the truck. I went to start the truck and it turned over fine, just wouldn't start. I went and pulled a plug and checked spark, nothing. I started checking all fuses and they all checked out fine. Someone told me to try a different key (anti theft) still nothing. I even took the starter back out to see if I messed the wires to the crank position sensor and I couldn't find any damage or loose wires. I put the starter back and now I'm In need of some help.
Was this
answer
helpful?
Yes
No
Monday, October 5th, 2020 AT 10:09 AM (Merged)
Tiny
MASTERTECHTIM
  • MECHANIC
  • 4,750 POSTS
You will need to do a compression test on all cylinders and get back to me with the readings
Was this
answer
helpful?
Yes
No
Monday, October 5th, 2020 AT 10:09 AM (Merged)
Tiny
JDL
  • MECHANIC
  • 16,098 POSTS
Hello,

I have seen many crankshaft angle sensors go out in these trucks it sounds like that's what happened to your truck here is a video showing the job being done.

https://youtu.be/sKo7xRWVNqY

Please run down this guide and report back.

Was this
answer
helpful?
Yes
No
Monday, October 5th, 2020 AT 10:09 AM (Merged)
Tiny
BROWNN
  • MEMBER
  • 1 POST
Thanks for this post I watched the video and replaced the sensor truck fired right up :) I love this site.
Was this
answer
helpful?
Yes
No
+1
Monday, October 5th, 2020 AT 10:09 AM (Merged)
Tiny
BOB TYREE
  • MEMBER
  • 2 POSTS
I had no spark and I took off a plug wire and put a new plug in it and turned ignition there was no spark. I tried again and noticed spark at 1st then nothing. I turned the key again but just enough to turn motor over and plenty if spark and it started the motor. I put plug wire back on and every time I just turn the ignition enough to turn over motor it starts if I turn ignition all the way no start.
Was this
answer
helpful?
Yes
No
Monday, October 5th, 2020 AT 10:09 AM (Merged)
Tiny
KEN L
  • MASTER CERTIFIED MECHANIC
  • 55,512 POSTS
Hello,

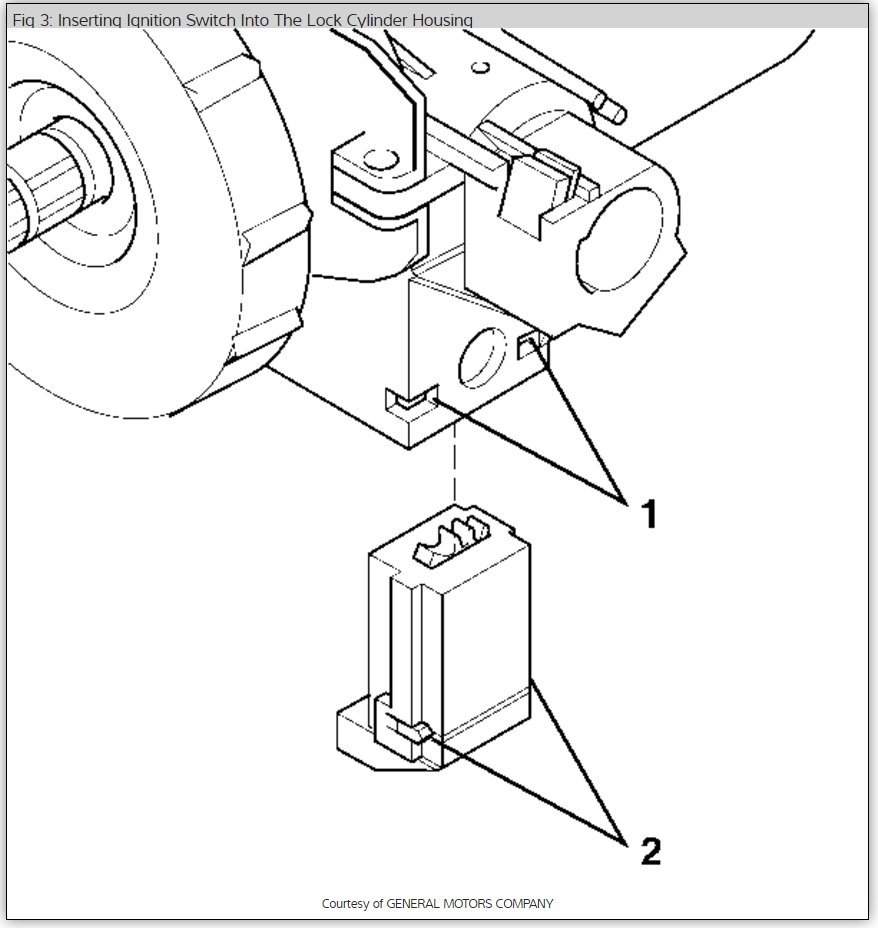
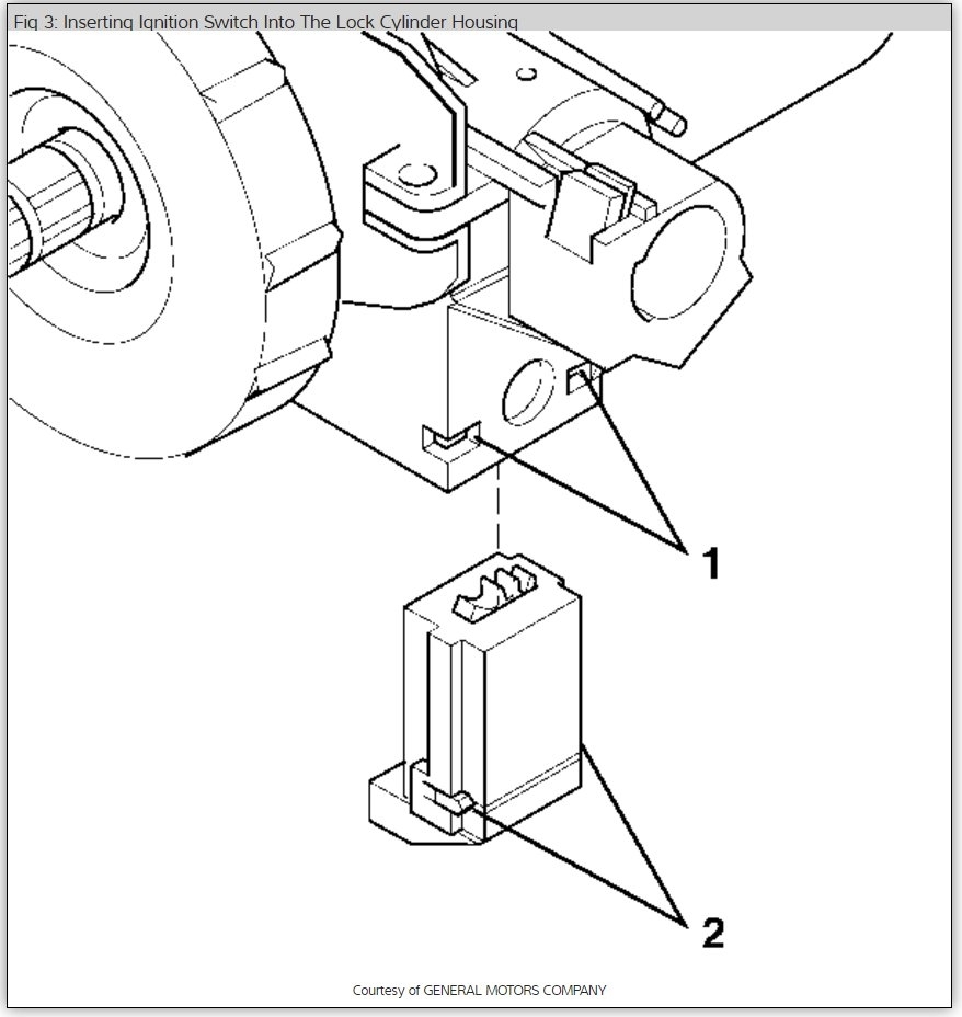
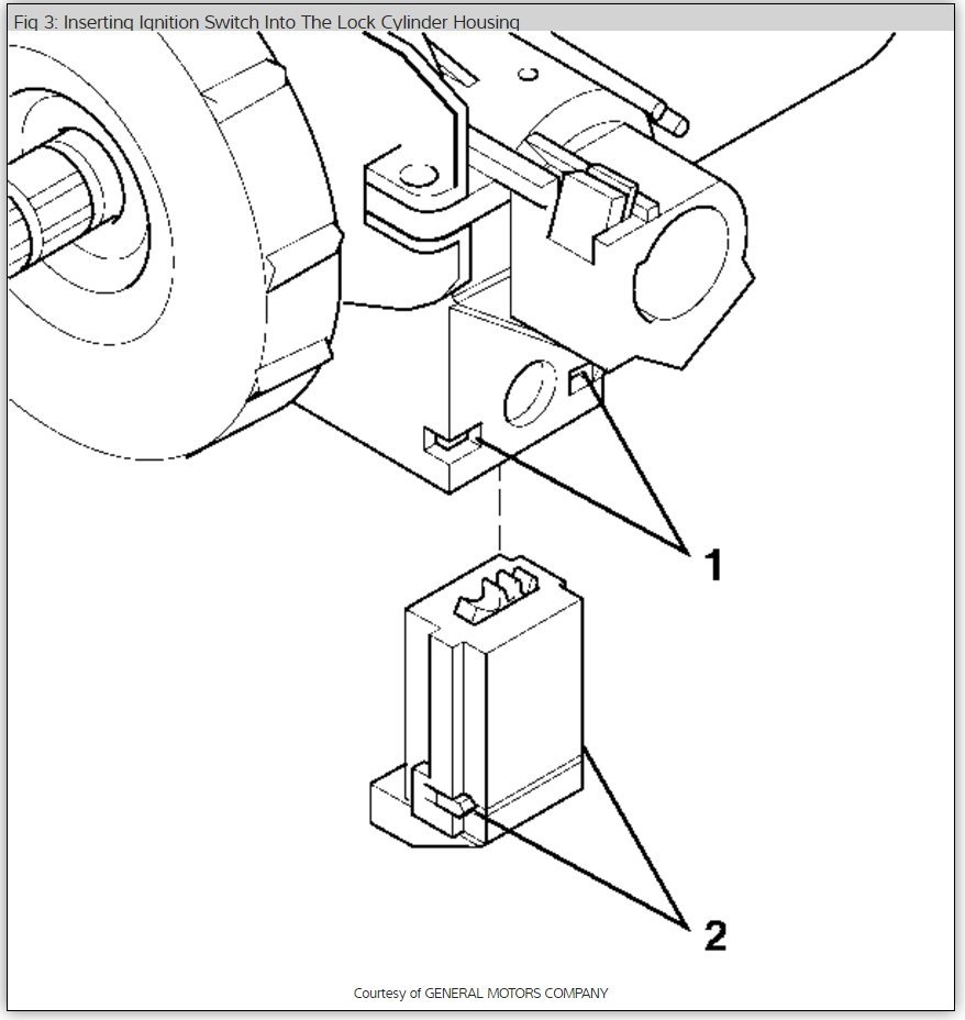
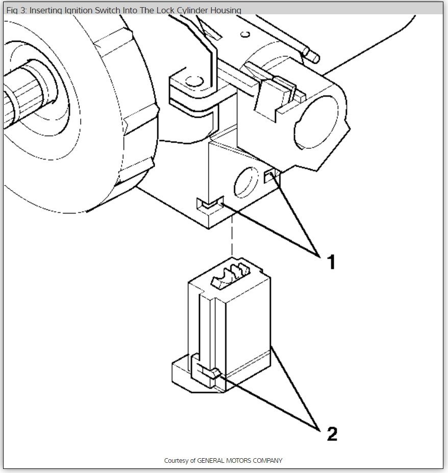
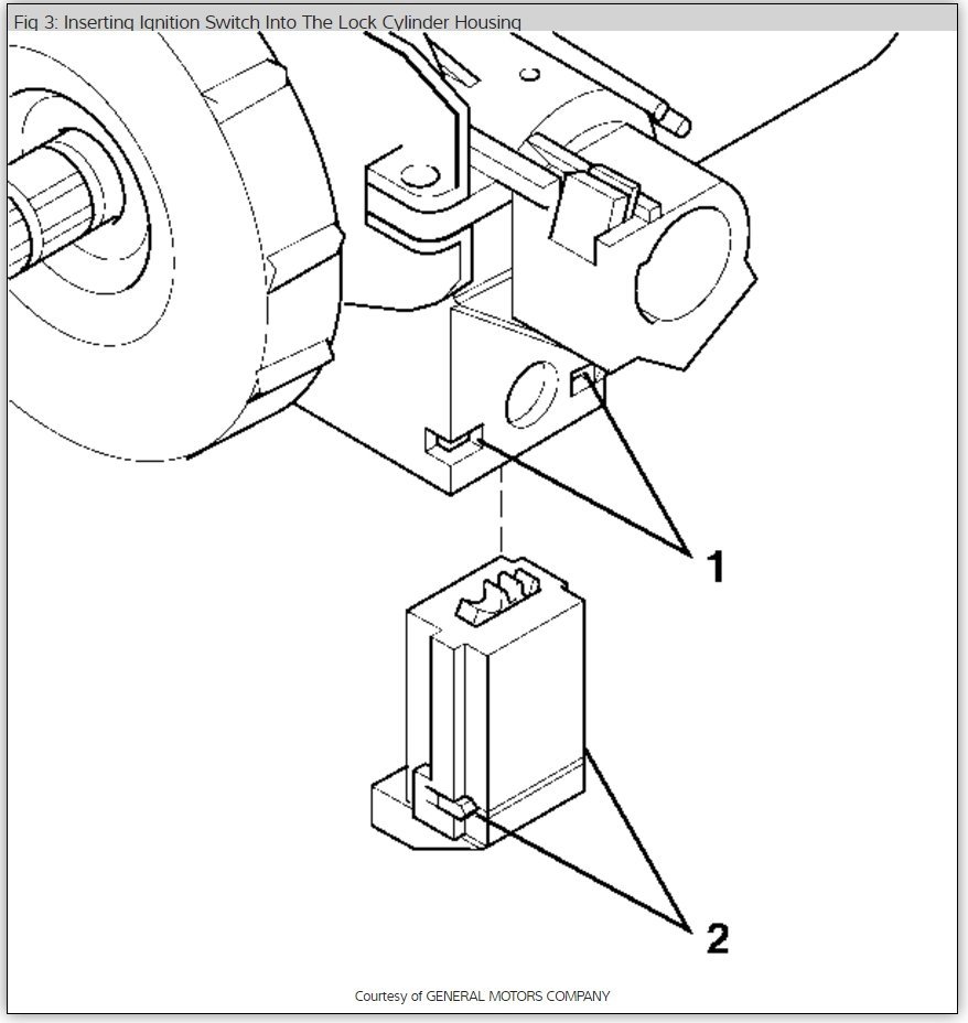
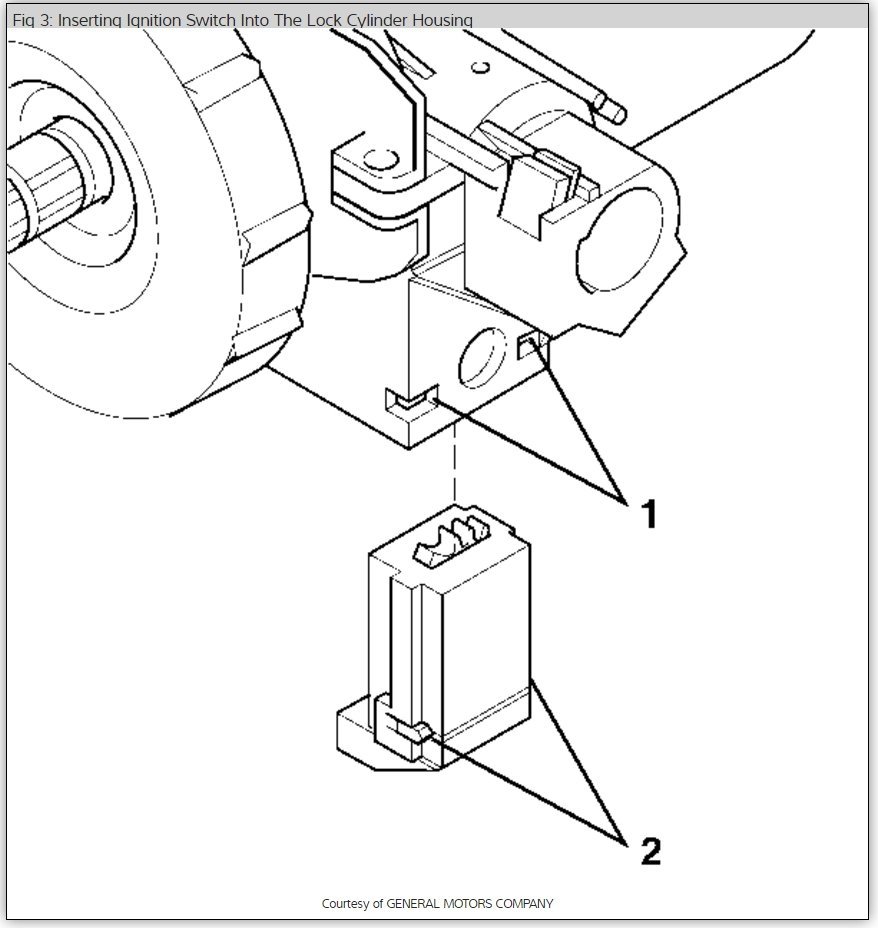
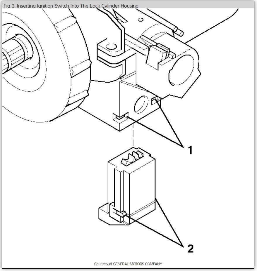
It sounds like the ignition switch has gone bad here is how can replace it. Check out the diagrams (Below). Please let us know what happens.
Was this
answer
helpful?
Yes
No
Monday, October 5th, 2020 AT 10:09 AM (Merged)
Tiny
BOB TYREE
  • MEMBER
  • 2 POSTS
Ken thanks for the advice on the ignition switch. I had changed it out and I still have the same issue.
Was this
answer
helpful?
Yes
No
Monday, October 5th, 2020 AT 10:09 AM (Merged)
Tiny
KEN L
  • MASTER CERTIFIED MECHANIC
  • 55,512 POSTS
Can you please shoot a quick video with your phone so we can see what's going on? that would be great. You can upload it here with your response. It could be the PCM lets run the codes to see if anything comes up.

https://www.2carpros.com/articles/checking-a-service-engine-soon-or-check-engine-light-on-or-flashing

Please run down this guide and report back.

Was this
answer
helpful?
Yes
No
Monday, October 5th, 2020 AT 10:09 AM (Merged)
Tiny
BIG_AL71
  • MEMBER
  • 1 POST
  • 2001 CHEVROLET SILVERADO
  • 6 CYL
  • 2WD
  • AUTOMATIC
  • 154,000 MILES
Im a litltle baffled by this one. I installed new distibutor w/ new cap an rotor truck won't start. So I check spark at plug and i'm not getting any spark. So I check spark at coil to dist: an i'm getting good spark. So I installed new crank sensor but still no spark at wires. Now on harmonic balancer pulley there are 2 marks for timing but no numbers that indicate degrees since timing is not adjustable. So my question is which mark do I use for top dead center and if dist is advanced a tooth would that cause no spark at plugs which don't make sense
Was this
answer
helpful?
Yes
No
Monday, October 5th, 2020 AT 10:09 AM (Merged)
Tiny
MHPAUTOS
  • MECHANIC
  • 31,937 POSTS
Hi there,

If you have a good spark at the coil but not at the plugs, you best check that you have the correct cap and rotor and that the carbon bush in the cap that passes the voltage to the rotor is there,

mark (mhpautos)
Was this
answer
helpful?
Yes
No
+2
Monday, October 5th, 2020 AT 10:09 AM (Merged)
Tiny
GEORGE1146
  • MEMBER
  • 1 POST
  • 2000 CHEVROLET SILVERADO
  • 6 CYL
  • 2WD
  • AUTOMATIC
  • 80,000 MILES
My engine will turn over but will not start. Mechanic replaced spark plugs and now has replaced the fuel injector assy and still won't start. There is 62 psi from gas tank to engine. Any idea why there is either no spark or no fuel to fire engine? Needless to say I have no confidence in the mechanic!
Was this
answer
helpful?
Yes
No
Monday, October 5th, 2020 AT 10:09 AM (Merged)

Please login or register to post a reply.