Saturday, October 7th, 2017 AT 3:19 PM
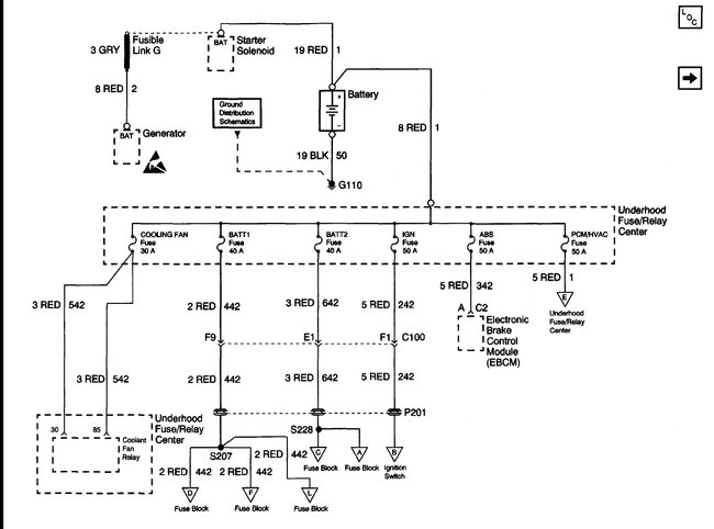
The car just quit running, no dashboard lights, turn key on no click, no anything. The headlights work, battery good with good contacts, starter works, jumped okay, all fuses good, but no power to the 20A IGN MBL fuse. Took off housing disconnected power wiring to ignition switch-put power light to ignition switch wiring no power to red wires.



