Will not start

Tiny
MITSUBISHI 95
  • MEMBER
  • 1995 MITSUBISHI MIRAGE
  • 4 CYL
  • 2WD
  • MANUAL
  • 80,000 MILES
Where is the fuel relay and fuel pump located?
Friday, March 13th, 2009 AT 12:04 AM

8 Replies

Tiny
RASMATAZ
  • MECHANIC
  • 75,992 POSTS
The fuel pump is in the fuel tank and the relay which is the multi-port fuel injection relay is under right center of dash.
Was this
answer
helpful?
Yes
No
Friday, March 13th, 2009 AT 1:59 AM
Tiny
PATRICIA MANERS
  • MEMBER
  • 3 POSTS
I have a 1995 Mitsubishi Mirage. I ran out of gas now it starts up after I let it said but then such the putt-putt and then shuts off. Is this the fuel filter need to be cleaned and how do I do it?
Was this
answer
helpful?
Yes
No
Monday, July 15th, 2019 AT 10:09 AM
Tiny
KEN L
  • MASTER CERTIFIED MECHANIC
  • 55,428 POSTS
Hello,

It sounds more like the fuel pump has gone out due to being run dry.To be sure lets run a pressure test. here is a guide to help us get started:

https://www.2carpros.com/articles/how-to-check-fuel-system-pressure-and-regulator

Here is a guide on how to change the filter as well with diagrams below to show you on your car:

https://www.2carpros.com/articles/how-to-change-a-fuel-filter

Please run down this guide and report back.
Was this
answer
helpful?
Yes
No
+1
Monday, July 15th, 2019 AT 12:43 PM
Tiny
PATRICIA MANERS
  • MEMBER
  • 3 POSTS
  • 1995 MITSUBISHI MIRAGE
  • 1.8L
  • 6 CYL
  • 2WD
  • MANUAL
  • 257,647 MILES
Put more gas in it it starts. After a bit it cuts out and shuts off. Is this the fuel filter fuel pump and how do I fix this problem?
Was this
answer
helpful?
Yes
No
Monday, July 15th, 2019 AT 6:07 PM (Merged)
Tiny
CARADIODOC
  • MECHANIC
  • 34,484 POSTS
Before you go looking for the difficult stuff, put more gas in the tank. One of my minivans needs at least five gallons after running out. The fuel pump pick-up screen sits in a small bowl that prevents the gas from running away from that screen when you go around a corner while the fuel level is low. In many vehicles, when you pour in the gas, it misses that bowl and goes into the rest of the tank. You need to get the fuel level up high enough for it to spill over into the bowl and fill it.

Once the fuel pump begins pumping fuel from the bowl, it circulates to the engine, then back to the tank in the return hose. That is what keeps the bowl full. It sounds like your engine is just running sporadically on residual fuel in the line.
Was this
answer
helpful?
Yes
No
Monday, July 15th, 2019 AT 6:07 PM (Merged)
Tiny
PATRICIA MANERS
  • MEMBER
  • 3 POSTS
  • 1995 MITSUBISHI MIRAGE
  • 1.8L
  • 4 CYL
  • 2WD
  • MANUAL
  • 256,674 MILES
Changed the fuel filter still doing the same thing. The fuel pump how do I get to and do I have to change it or just clean it? Because I hear it click on when I start the car.
Was this
answer
helpful?
Yes
No
-1
Tuesday, July 16th, 2019 AT 12:42 PM (Merged)
Tiny
SCGRANTURISMO
  • MECHANIC
  • 4,897 POSTS
Hello,

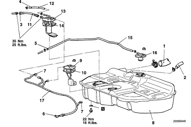
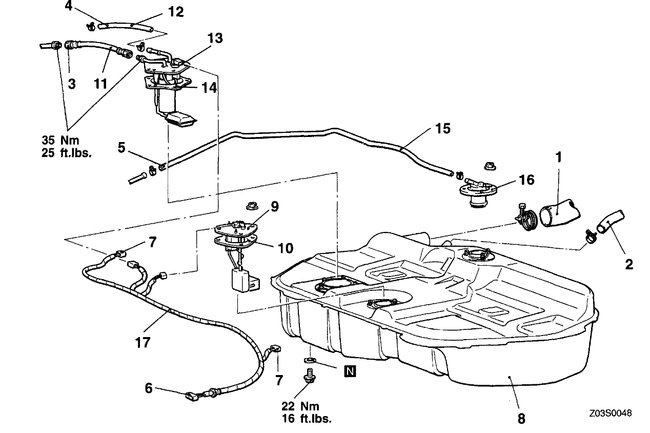
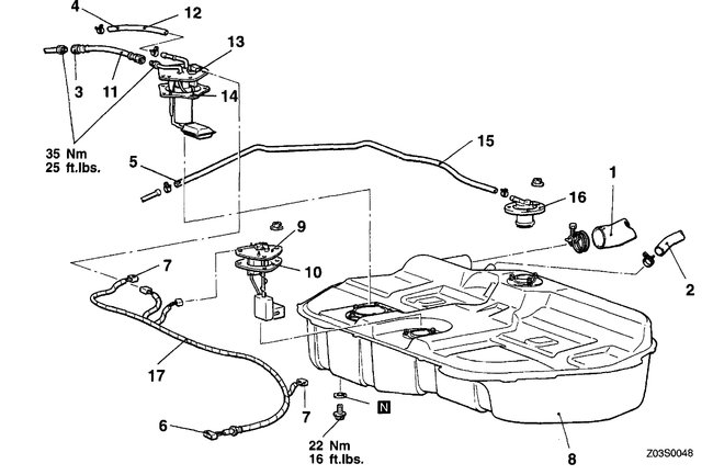
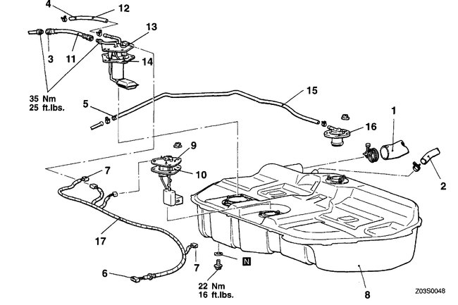
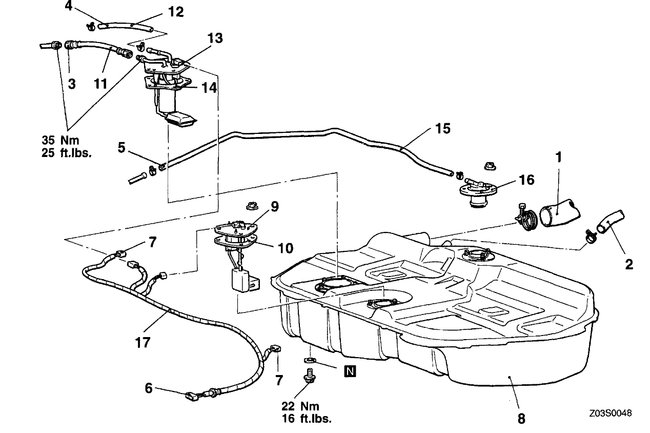
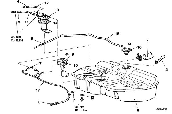
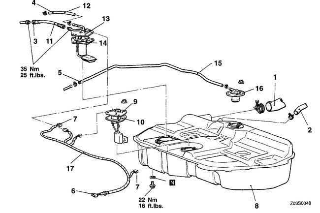
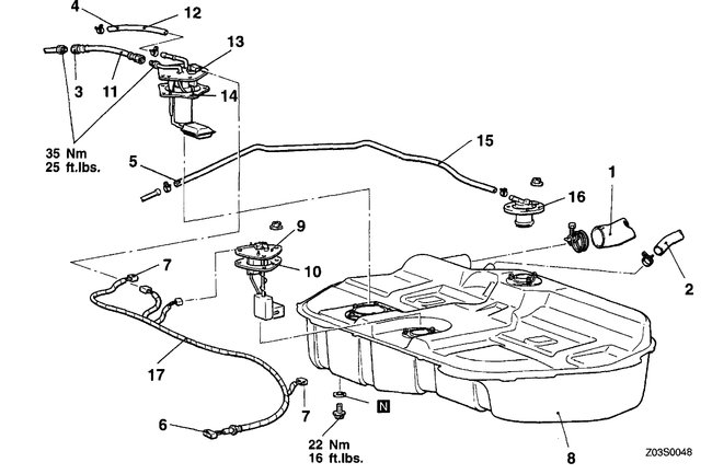
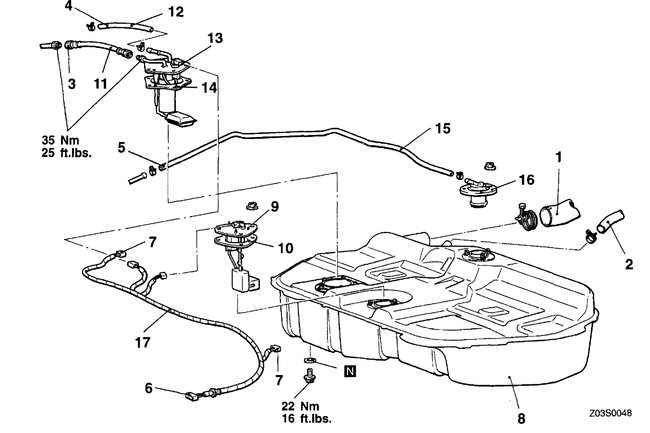
In the diagrams down below I have included guides for testing and inspecting your vehicle's fuel pump, fuel pressure and also instructions for the removal and installation of the fuel pump should it be bad. Please go through these guides and get back to us with what you are able to find out.

Thanks,
Alex
2CarPros
Was this
answer
helpful?
Yes
No
Tuesday, July 16th, 2019 AT 12:42 PM (Merged)
Tiny
CARADIODOC
  • MECHANIC
  • 34,484 POSTS
Did you put at least five gallons of gas in the tank?
Was this
answer
helpful?
Yes
No
+1
Tuesday, July 16th, 2019 AT 9:34 PM

Please login or register to post a reply.