Hard start issue

Tiny
SOAE
  • MEMBER
  • 2003 SUZUKI GRAND VITARA
  • 1.6L
  • 4 CYL
  • 4WD
  • AUTOMATIC
  • 135,000 MILES
Good day, does the IAC valve cause a vehicle to hard start? Could it be the ignition switch causing the vehicle to hard start? Most parts were changed in the vehicle as mentioned before {battery, camshaft sensor, neutral/park safety switch, ignition coil packs, plugs, engine temperature sensor, even the starter was serviced}. I was told to check the resistance of the IAC valve which is 16 ohms as well as the IAC valve does not move back and forth when tested. I am at a lost here, as I feel I am spinning top in mud.
Thursday, January 16th, 2020 AT 4:53 PM

4 Replies

Tiny
KASEKENNY
  • MECHANIC
  • 18,907 POSTS
The IAC could cause a hard start but it is more likely to cause a start then stall. The resistance sounds high but this could be normal so I would compare this to another one. If your local parts store has one they may allow you to measure the resistance of it just to check.

I would at the very least clean your IAC and then retest the hard starting.

https://www.2carpros.com/articles/how-to-replace-an-idle-speed-control-motor-iac

Here is a guide to clean the IAC:

https://www.2carpros.com/articles/idle-air-control-valve-service

If this is not the IAC then here is a guide that will go through the other causes of a hard start:

https://www.2carpros.com/articles/engine-cranks-excessively-before-starting
Was this
answer
helpful?
Yes
No
Thursday, January 16th, 2020 AT 5:17 PM
Tiny
JACOBANDNICKOLAS
  • MECHANIC
  • 110,192 POSTS
Hi,

What happens when you try to start the car? If you press lightly on the throttle will it start?

Let me know,

Joe
Was this
answer
helpful?
Yes
No
Thursday, January 16th, 2020 AT 5:19 PM
Tiny
SOAE
  • MEMBER
  • 3 POSTS
Hi Joe, that is correct, when I lightly press the throttle it starts sometimes, then sometimes it hard starts even though I press lightly on the throttle. Today while idling the engine just stall. Never while driving does it stall.
Was this
answer
helpful?
Yes
No
Monday, January 20th, 2020 AT 4:25 PM
Tiny
JACOBANDNICKOLAS
  • MECHANIC
  • 110,192 POSTS
Okay, it honestly does sound like what Kenny said. However, it could be an engine vacuum leak or even low fuel pressure. Here are a few links you can use to perform general testing.

https://www.2carpros.com/articles/how-to-check-fuel-system-pressure-and-regulator

https://www.2carpros.com/articles/how-to-use-an-engine-vacuum-gauge

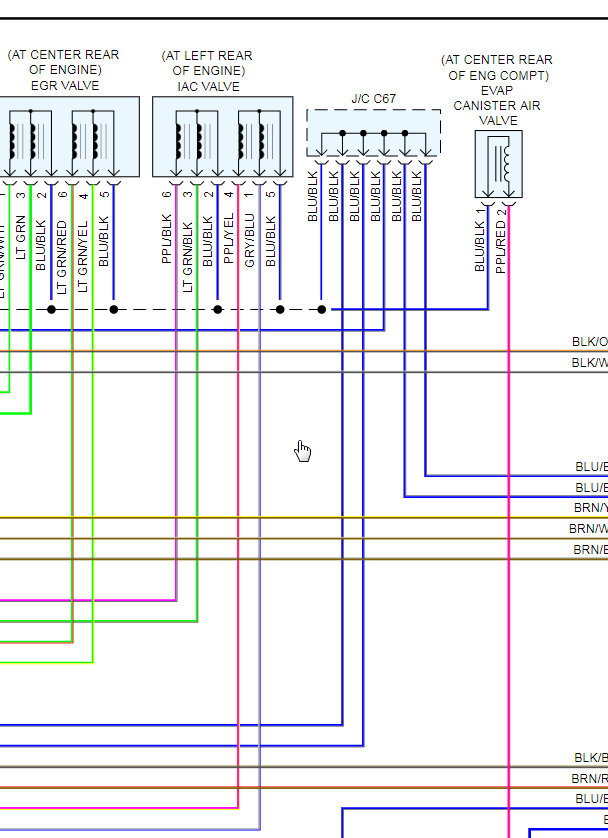
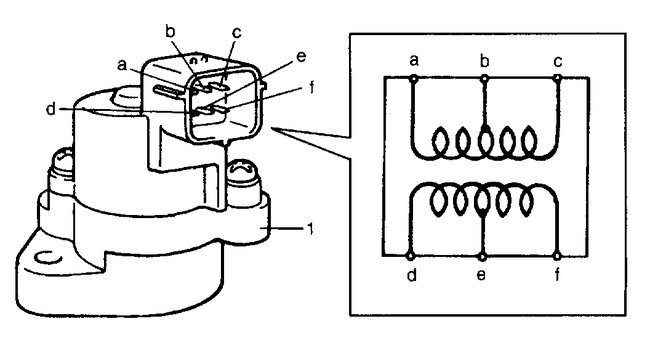
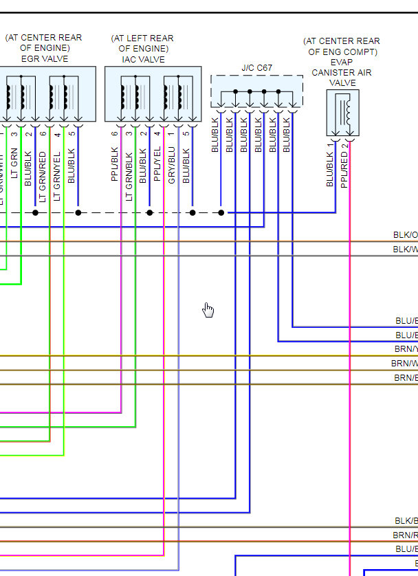
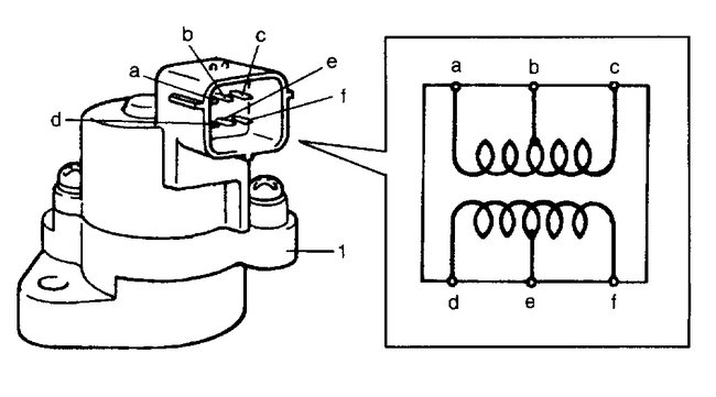
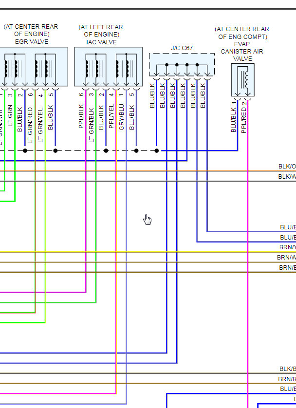
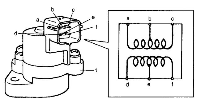
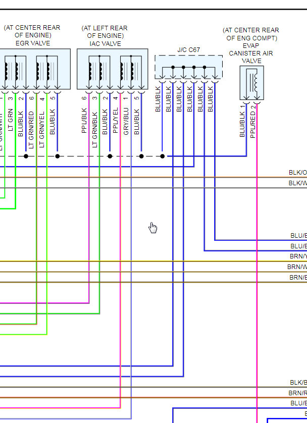
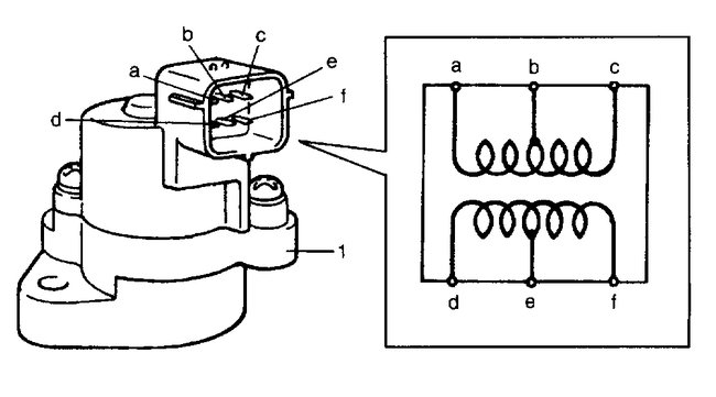
If you want to test the idle air control valve, here are the directions for on vehicle testing. The attached pictures correlate with the directions.

_____________________________

2003 Suzuki Truck Grand Vitara 4WD V6-2.5L
Idle Air Control (IAC) Valve On-Vehicle Inspection
Vehicle Powertrain Management Fuel Delivery and Air Induction Idle Speed/Throttle Actuator - Electronic Testing and Inspection Component Tests and General Diagnostics Idle Air Control (IAC) Valve On-Vehicle Inspection
IDLE AIR CONTROL (IAC) VALVE ON-VEHICLE INSPECTION
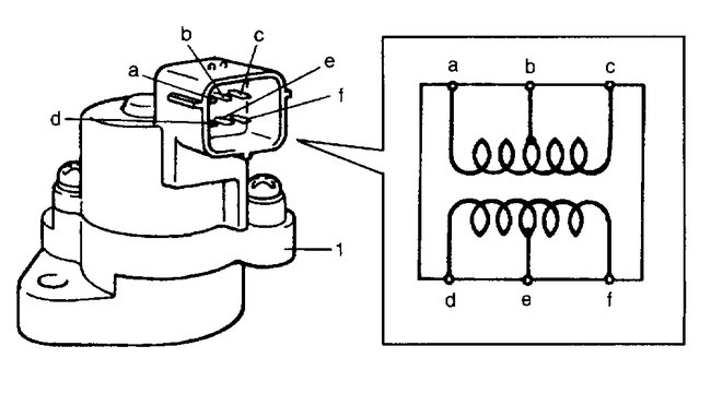
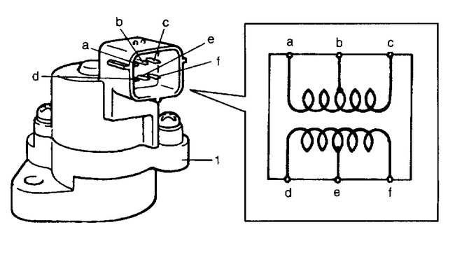
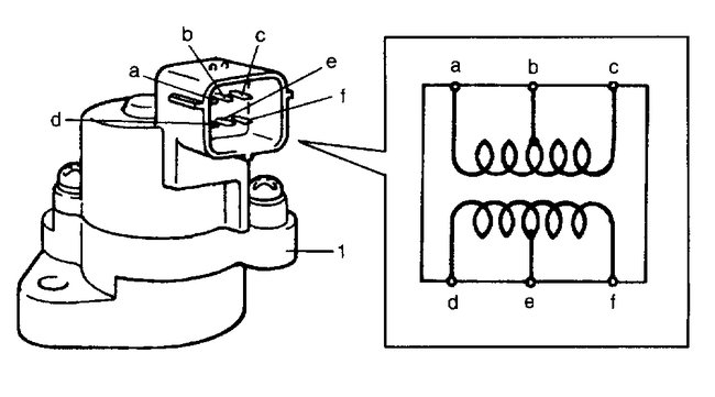
1. Disconnect connector from IAC valve (1).

IAC Valve Resistance

pic 1

pic 2

2. Check each coil of IAC valve for resistance. If resistances is out of specification, replace.
3. Remove IAC valve (1) from intake collector.
4. Connect connector to IAC valve (1).
5. Check that plunger of IAC valve (1) moves once and then stops as soon as ignition switch is turned OFF.
If plunger of IAC valve (1) does not operate at all, check wire harnesses for open and short. If wire harnesses are in good condition, replace IAC valve (1) and recheck.

NOTE: This check should be performed by two people, one person operates ignition switch while the other checks plunger operation.

_____________________________

Also, here are the manufacturer's specs for fuel pressure.

____________________________

2003 Suzuki Truck Grand Vitara 4WD V6-2.5L
Fuel Pressure

With fuel pump operating and engine stopped: 38.4 - 44.1 psi

At specified idle speed: 29.9 - 37.0 psi

With 1 min. after engine (fuel pump) stop (pressure reduces as time passes: over 28.4 psi

_________________________

Let us know if you have questions.

Take care,
Joe
Was this
answer
helpful?
Yes
No
Monday, January 20th, 2020 AT 7:20 PM

Please login or register to post a reply.