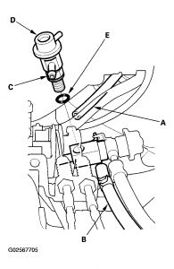
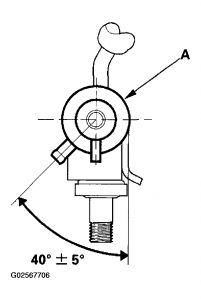
FUEL PRESSURE TEST Special Tools Required à   Fuel pressure gauge 07406-0040001 à   Fuel pressure gauge attachment 07VAJ-0040100 1. Relieve the fuel pressure (see Fuel Pressure Relieving ). 2. Use a wrench to remove the fuel pulsation damper from its fitting, then attach the fuel pressure gauge attachment. Fig. 3: Removing Fuel Pulsation Damper Courtesy of AMERICAN HONDA MOTOR CO., INC. 3. Attach the fuel pressure gauge. Fig. 4: Attaching Fuel Pressure Gauge - '98-99 Models Courtesy of AMERICAN HONDA MOTOR CO., INC. Fig. 5: Attaching Fuel Pressure Gauge - '00-02 Models Courtesy of AMERICAN HONDA MOTOR CO., INC. 4. Disconnect the vacuum hose (A) of the fuel pressure regulator and pinch it closed with a clamp (B). 5. Start the engine and let it idle. à   If the engine starts, go to step 7 . à   If the engine does not start, go to step 6. 6. Check to see if the fuel pump is running: remove the fuel fill cap and listen to the fuel fill port while an assistant turns the ignition switch ON (II). You should hear the pump run for about 2 seconds when the ignition is turned ON (II). à   If the pump runs, go to step 7. à   If the pump does not run, test it (see FUEL PUMP TEST ). 7. Read the pressure gauge (with the fuel pressure regulator vacuum hose disconnected and clamped). The pressure should be: '98-00 models: 280-330 kPa (2.9-3.4 kgf/cm 2 , 41-48 psi). '01-02 models: 320-370 kPa (3.3-3.8 kgf/cm 2 , 48-54 psi). à   If the pressure is OK and the engine is running, go to step 8. If the engine is not running, repair the cause, then continue this test. à   If the pressure is out of spec, go to step 9 . 8. With the engine running, reconnect the vacuum hose, and read the gauge again. The pressure should be: '98-00 models: 220-270 kPa (2.25-2.75 kgf/cm 2 , 32-40 psi) '01-02 models: 260-310 kPa (2.7-3.2 kgf/cm 2 , 38-46 psi) à   If the fuel pressure is OK, the test is complete. Go to step 10 . à   If the pressure is out of spec, go to step 9. 9. Disconnect the vacuum hose from the pressure regulator again while you watch the pressure gauge. The pressure should rise when you disconnect the hose. à   If the pressure did not rise, replace the fuel pressure regulator (see Fuel Pressure Regulator Replacement ), and recheck the fuel pressure. à   If the pressure rose, and all your readings were within spec, go to step 10. à   If the pressure rose, but your readings were out of spec, check for these problems: à   If the pressure is too low, check for a clogged fuel filter and for leaks in the fuel lines. à   If the pressure is too high, check for a pinched or clogged fuel return hose or line. 10. Reconnect the vacuum hose, remove the pressure gauge, and reinstall the fuel pulsation damper with a new washer. Tighten the fuel pulsation damper to 22 N.m (2.2 kgf.m, 16 lbf.ft).
NOTE: Disassemble and clean the fuel pressure gauge attachment thoroughly after use.







Saturday, August 23rd, 2008 AT 6:50 AM