Sunday, October 18th, 2009 AT 3:11 PM
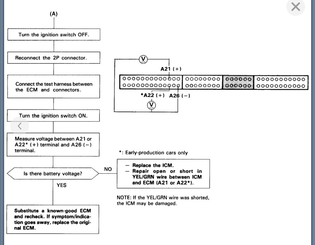
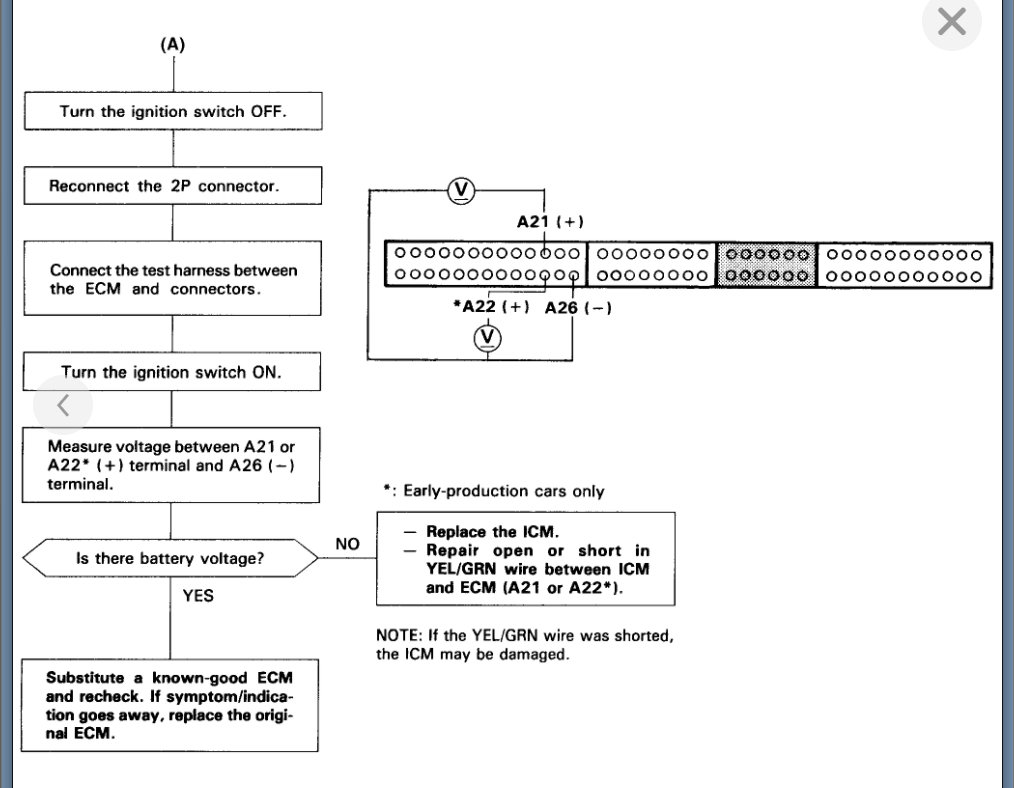
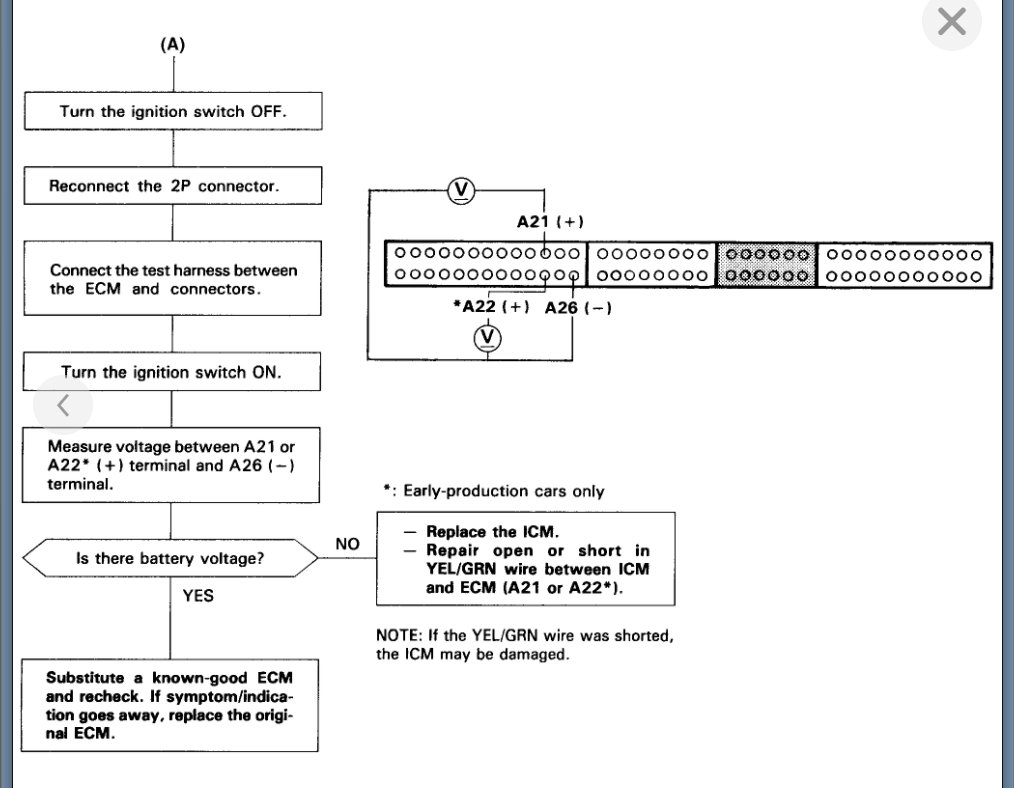
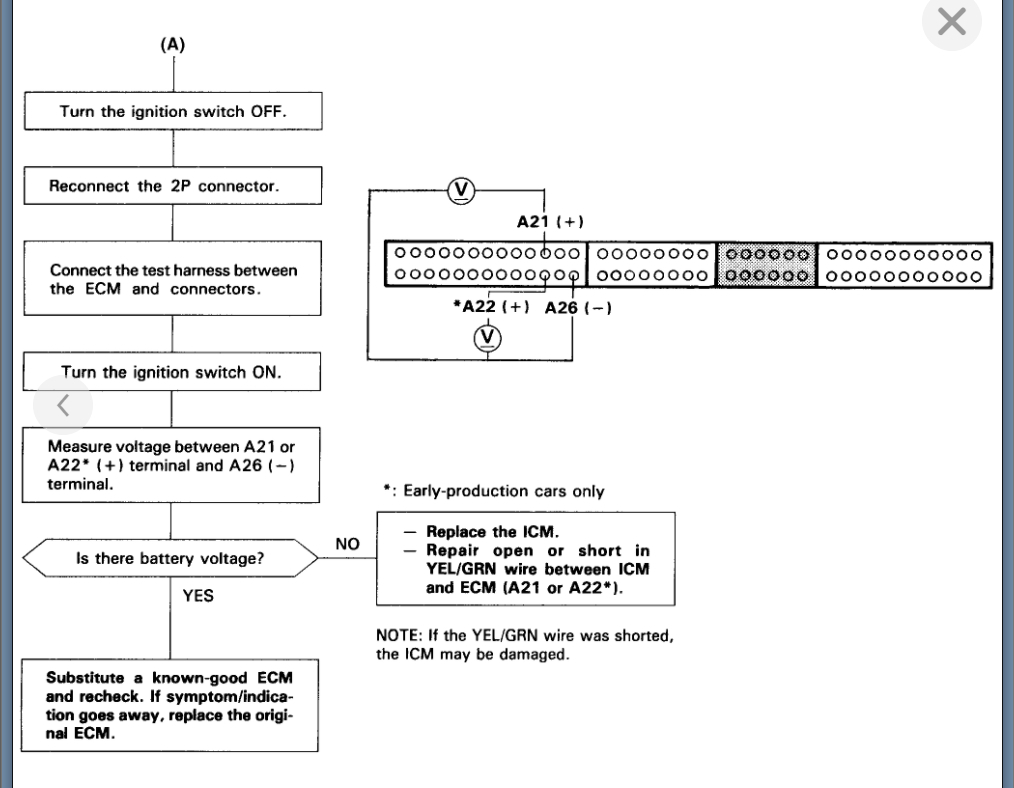
I have the car listed above LX. Car was park and then try to start it up, but it shuts off immediately, looks like it run about 1 second of time and then shuts off. I know it is not the idle problem. I had tried to put in a new main relay, new distributor, and I even put a new ignition switch, the one part that is behind the ignition lock. But the same problem persists. I am sure the fuel pump has good fuel pressure, spark is good. So, I use a jumper wire to get a code from ECU, it is code 15, ignition output signal. I was wondering what other parts controls this ignition output signal. Thank you for advises.





