Blower motor the fan is not kicking on

Tiny
NATASHIA BURRELL
  • MEMBER
  • 2003 ACURA TL
  • 3.2L
  • 6 CYL
  • AUTOMATIC
  • 177,000 MILES
The heating and air went out. It is like the fan is not kicking on to blow the hot or cold air out. I did the self check on it and the letter N pop up on mine. Can you please tell me what this means?
Friday, December 8th, 2017 AT 4:24 AM

1 Reply

Tiny
KEN L
  • MASTER CERTIFIED MECHANIC
  • 55,488 POSTS
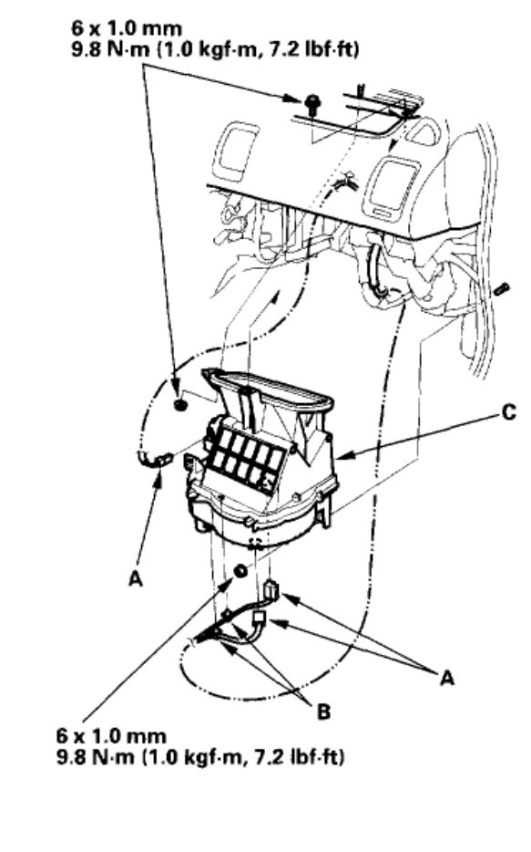
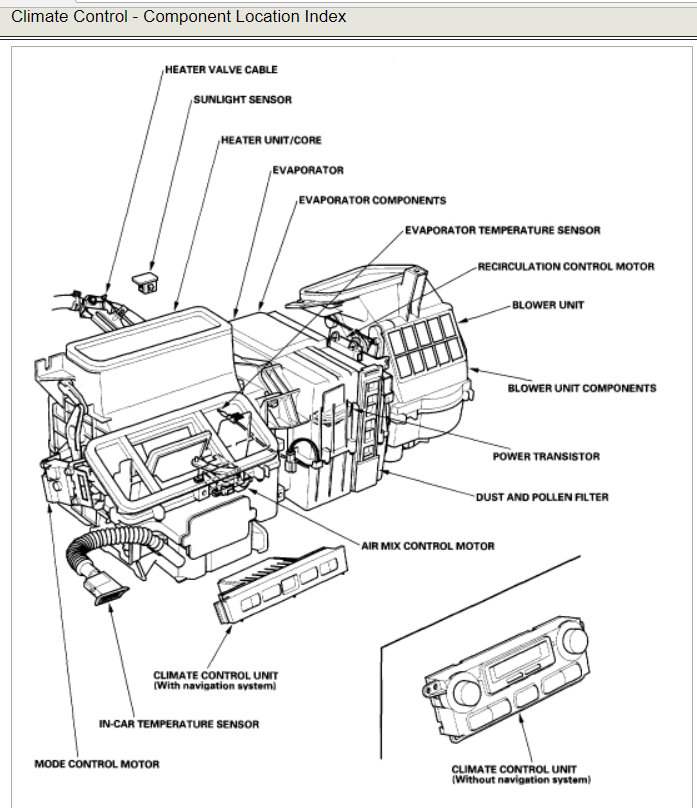
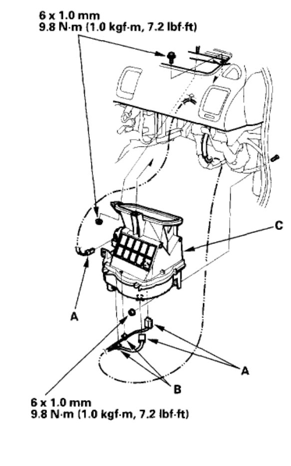
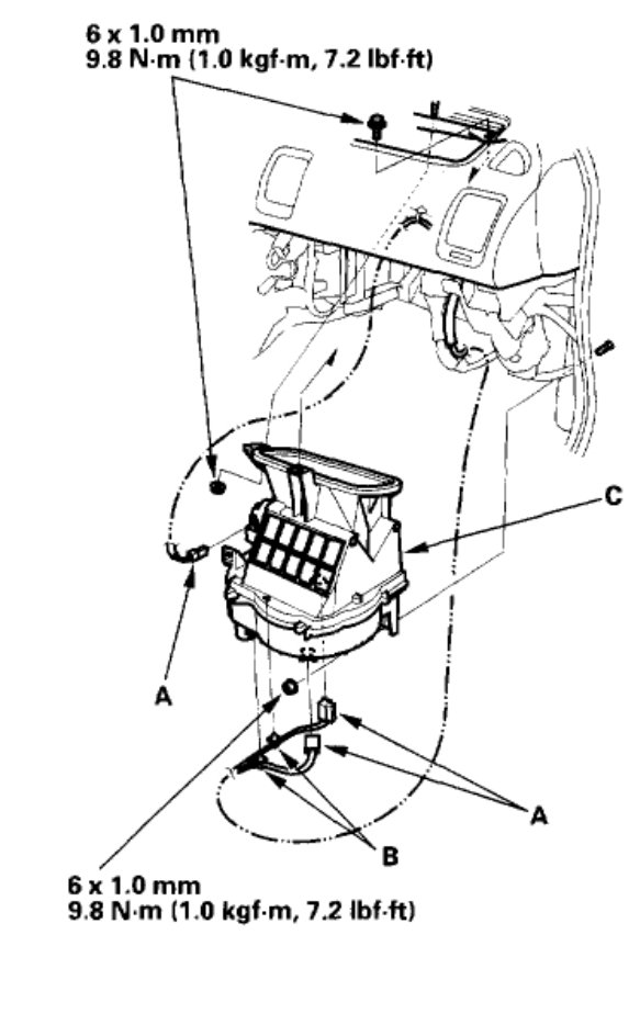
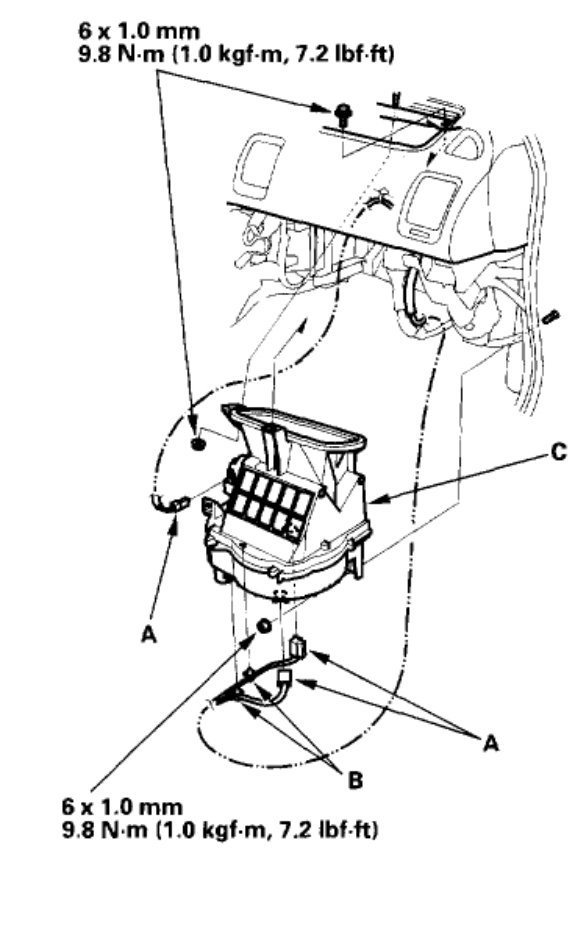
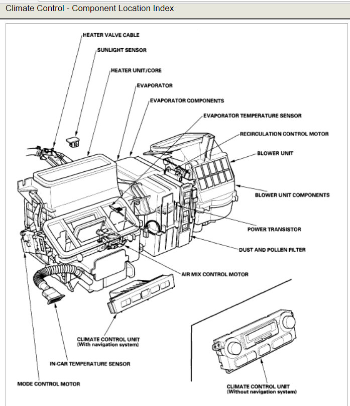
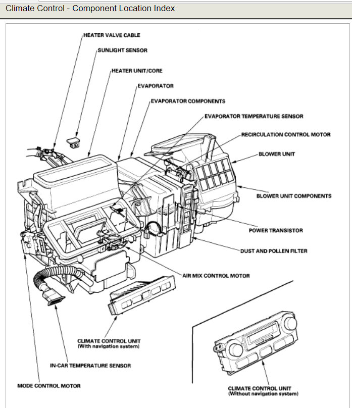
N stands for no codes to report. This sounds like you have a blower motor that has gone out.

Here is a guide to help you see what you are in for and how to confirm the failure:

https://www.2carpros.com/articles/blower-fan-motor-works-on-high-speed-only

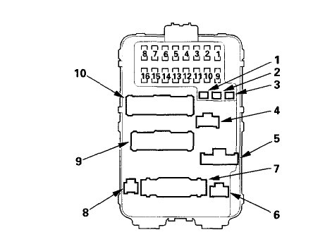
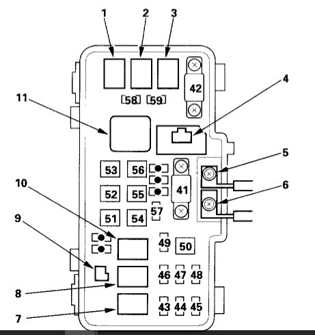
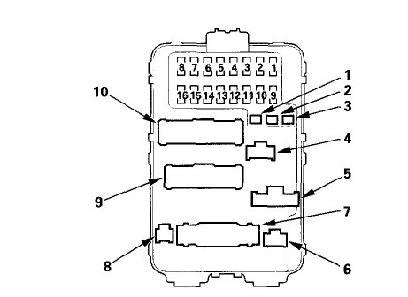
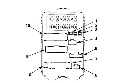
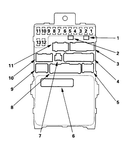
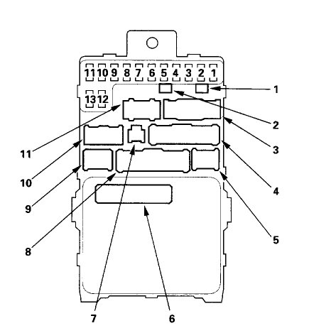
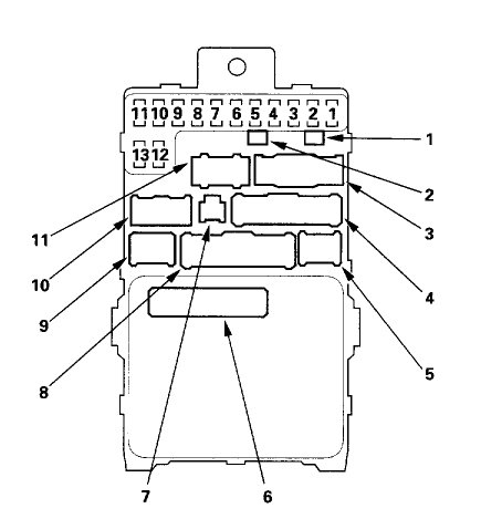
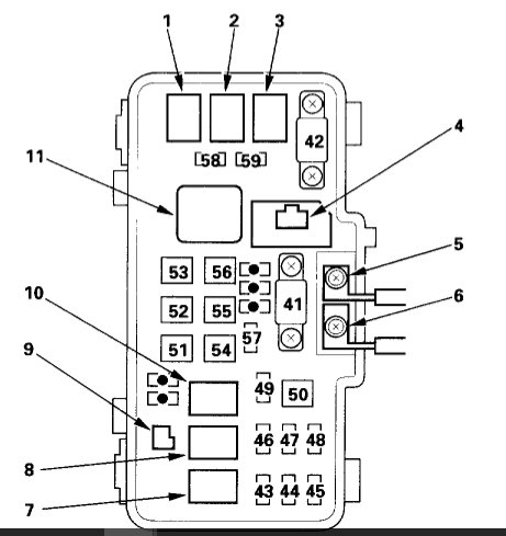
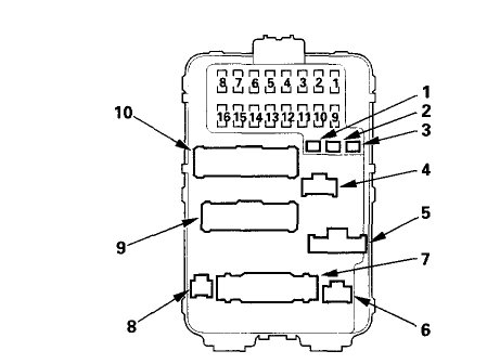
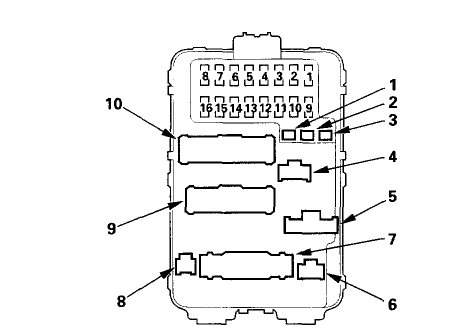
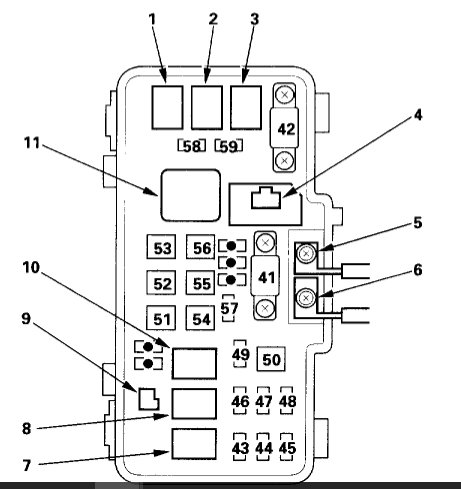
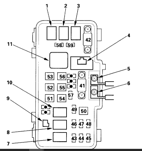
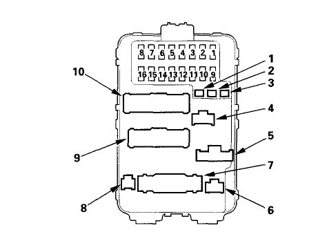
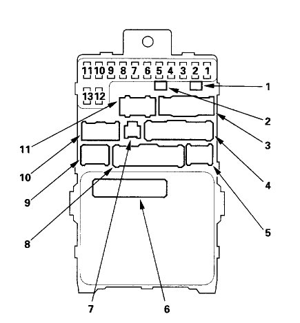
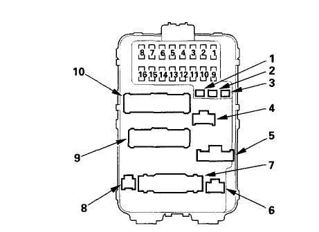
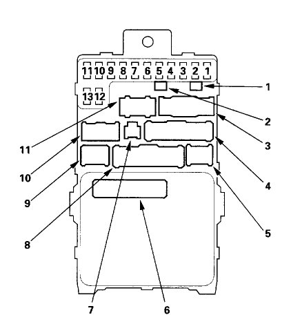
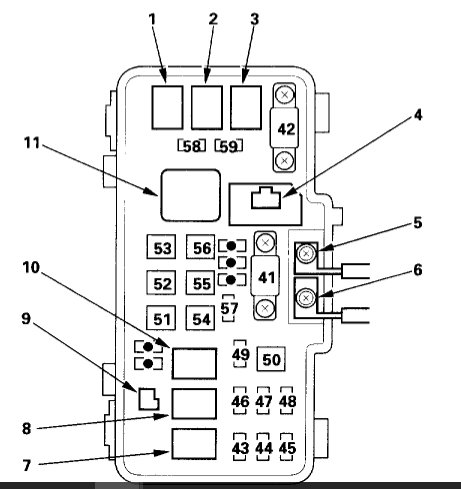
Below are some guides to help check the power and the fuse panels for the car.

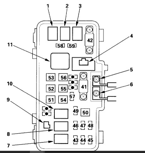
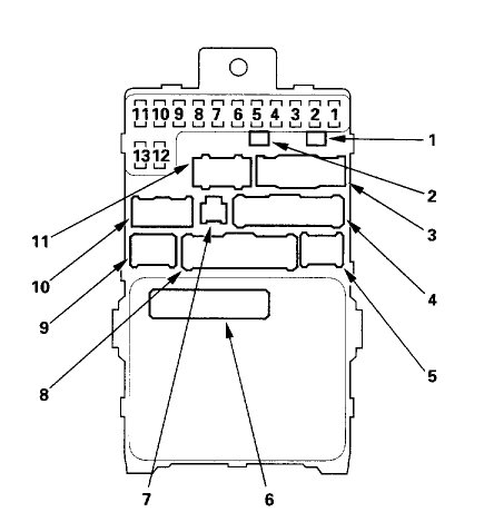
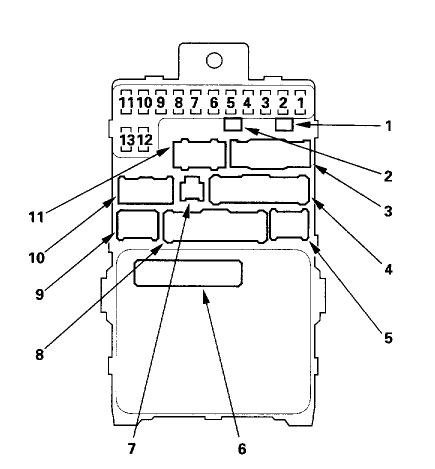
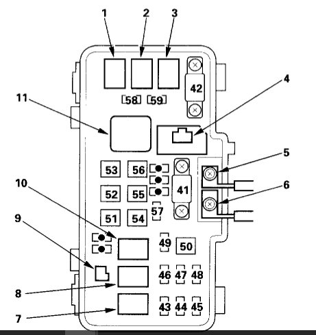
There is a fuse number 56 and a relay that runs the system as well.

Here are two guides to help with that:

https://www.2carpros.com/articles/how-to-check-a-car-fuse

and

https://www.2carpros.com/articles/how-to-check-an-electrical-relay-and-wiring-control-circuit

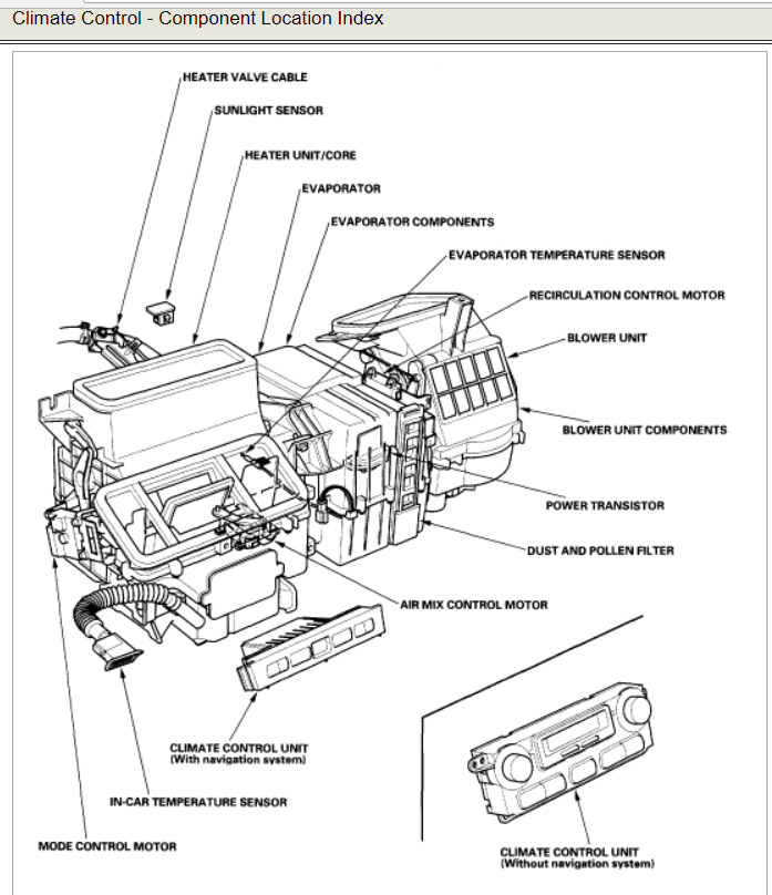
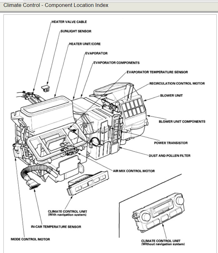
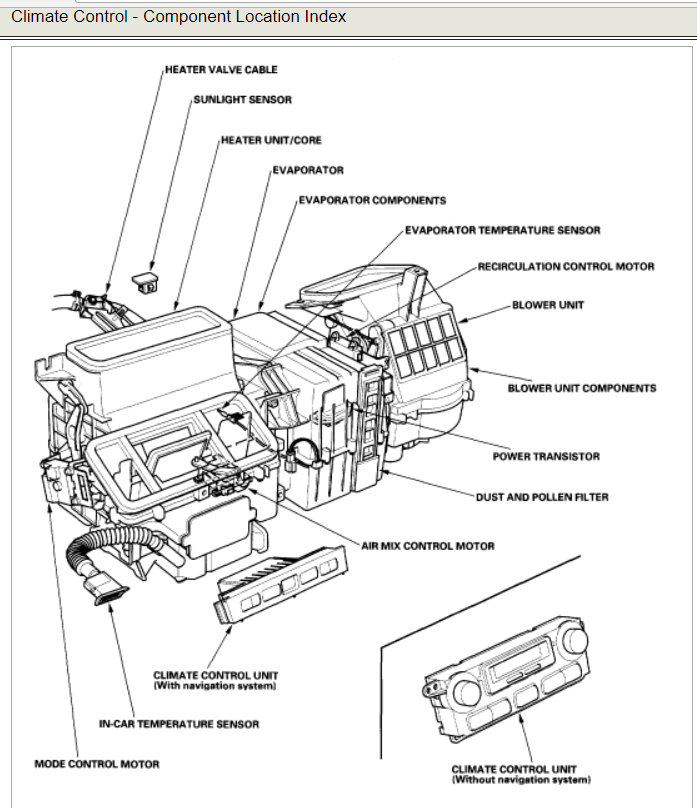
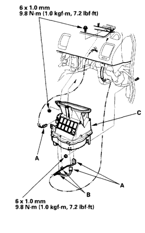
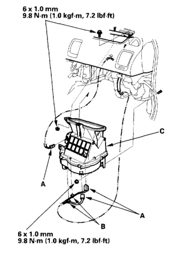
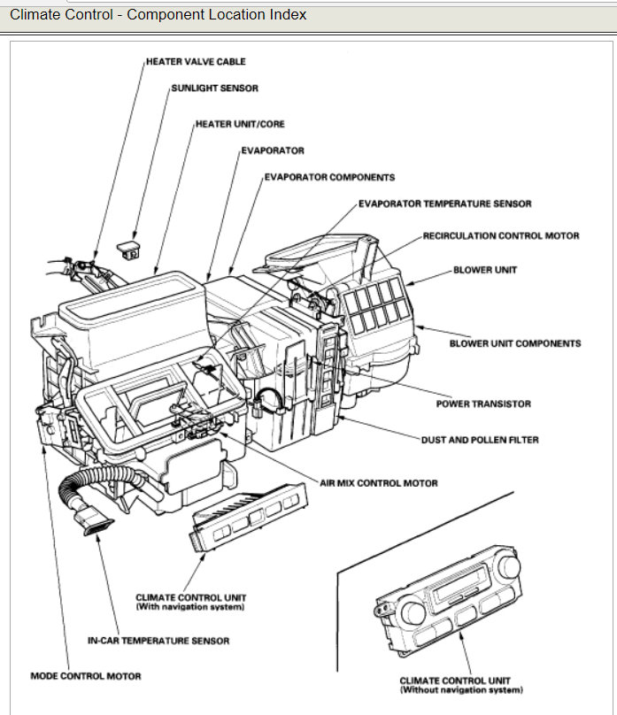
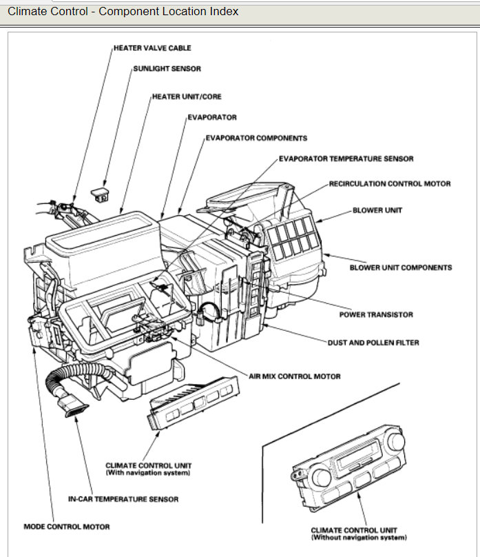
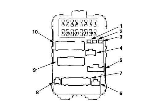
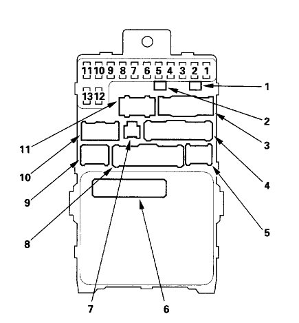
Check out the diagrams (below).

Let us know what happens and please upload pictures or videos of the problem.

Cheers, Ken
Was this
answer
helpful?
Yes
No
Saturday, December 9th, 2017 AT 6:33 PM

Please login or register to post a reply.