Headlights driver's side not as bright as the passenger side

Tiny
ARCHIE22
  • MEMBER
  • 2001 CHEVROLET IMPALA
  • 3.4L
  • 6 CYL
  • 2WD
  • AUTOMATIC
  • 130,000 MILES
New bulbs on both sides and driver side is dimmer then passenger side.
Monday, September 3rd, 2018 AT 8:06 AM

2 Replies

Tiny
ARCHIE22
  • MEMBER
  • 4 POSTS
It was a fuse.
Was this
answer
helpful?
Yes
No
+1
Tuesday, September 4th, 2018 AT 5:26 AM
Tiny
KEN L
  • MASTER CERTIFIED MECHANIC
  • 55,512 POSTS
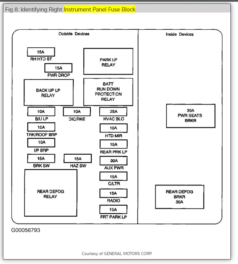
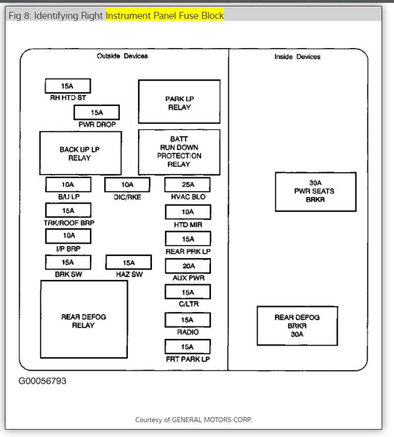
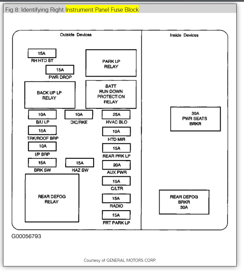
Good find, in the good old days dim headlight meant bad ground which it still is but the circuit is controlled by the BCM which fails to close the circuit when a fuse is out. Here is a guide and the fuse panel diagrams so if anyone else needs to fix their car it will show them how:

https://www.2carpros.com/articles/how-to-check-a-car-fuse

Check out the diagrams (below). Please let us know if you need anything else to get the problem fixed.

Cheers, Ken
Was this
answer
helpful?
Yes
No
+2
Tuesday, September 4th, 2018 AT 12:25 PM

Please login or register to post a reply.