After being parked for twenty minutes would not start

Tiny
MANISSHAY
  • MEMBER
  • 1998 TOYOTA CAMRY
  • 2.1L
  • 4 CYL
  • 200,000 MILES
Probably failed fuel pump. However, I wanted to see about location of any relays and or inertia switch on this model. Car was working fine parked and twenty minutes later when I went to leave it would not start.
Sunday, May 27th, 2018 AT 10:29 PM

1 Reply

Tiny
ASEMASTER6371
  • MECHANIC
  • 52,796 POSTS
Good morning.

I attached a picture of the location and how to test the relay.

There is no inertia switch.

Have you verified power to the pump?

Roy

https://www.2carpros.com/articles/how-to-check-fuel-system-pressure-and-regulator

https://www.2carpros.com/articles/how-to-check-fuel-system-pressure-and-regulator

1. REMOVE RELAY BOX COVER

imageZoom/Print

2. REMOVE CIRCUIT OPENING RELAY
(Marking: CIR OPN)

imageZoom/Print

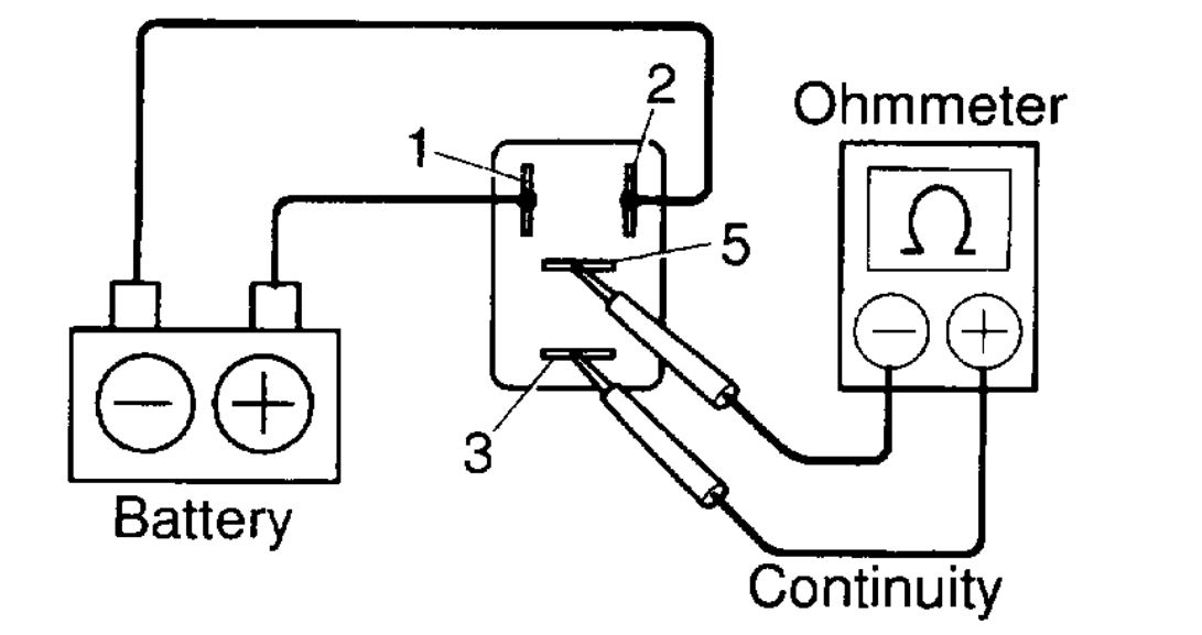
3. INSPECT CIRCUIT OPENING RELAY CONTINUITY
(a)Using an ohmmeter, check that there is continuity between terminals 1 and 2.
If there is no continuity, replace the relay.
(b)Check that there is no continuity between terminals 3 and 5.
If there is continuity, replace the relay.

imageZoom/Print

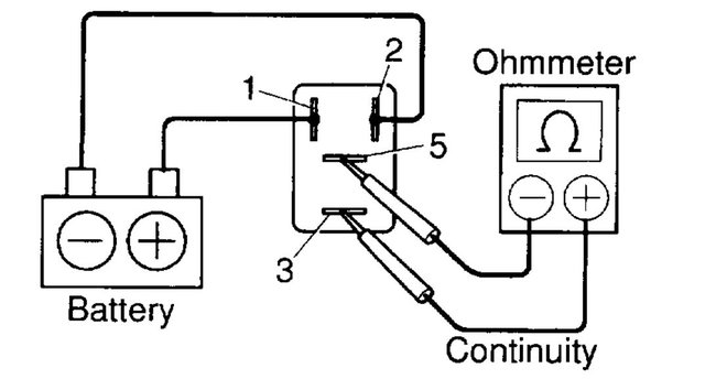
4. INSPECT CIRCUIT OPENING RELAY OPERATION
(a)Apply battery positive voltage across terminals 1 and 2.
(b)Using an ohmmeter, check that there is continuity between terminals 3 and 5.
If there is no continuity, replace the relay.

5. REINSTALL CIRCUIT OPENING RELAY

6. REINSTALL RELAY BOX COVER
Was this
answer
helpful?
Yes
No
Monday, February 22nd, 2021 AT 9:30 AM

Please login or register to post a reply.