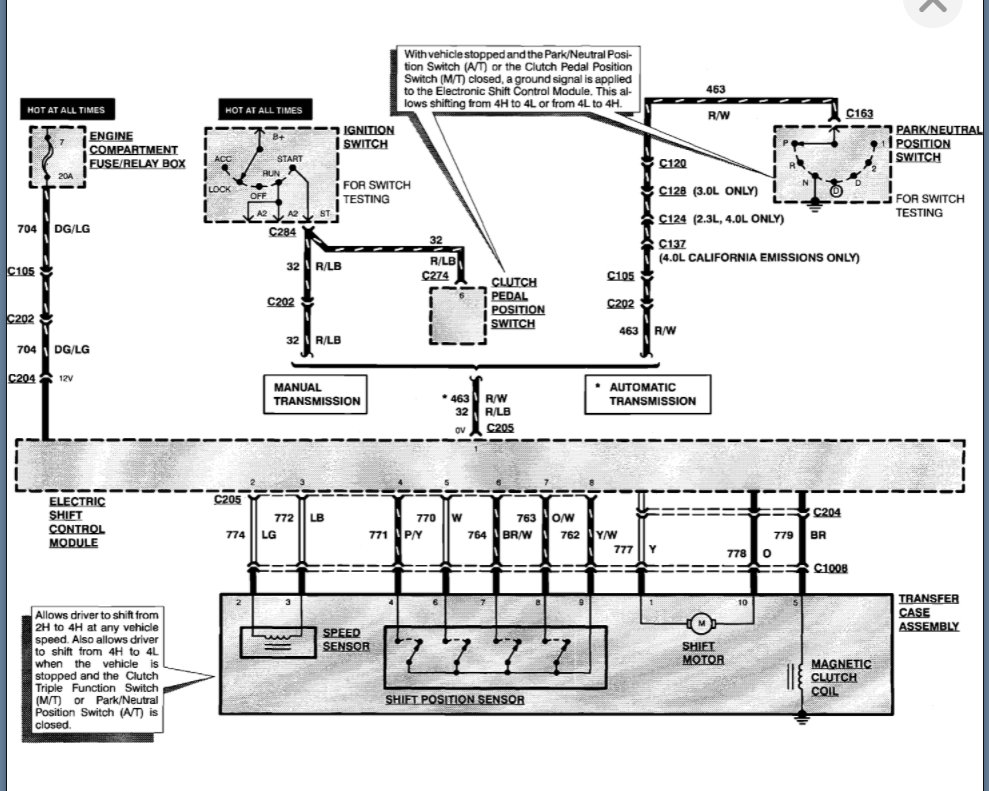
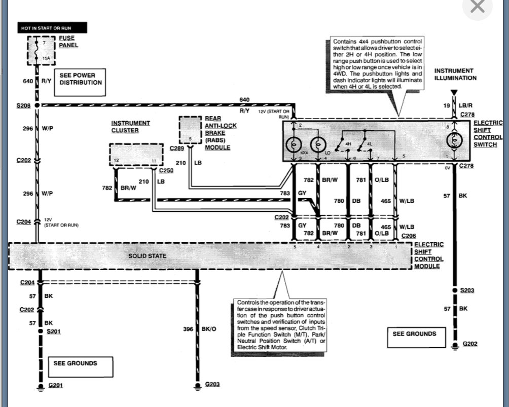
Automatic 4X4 system does not operate

Tiny
CMANZANILLA
  • MEMBER
  • 1994 FORD RANGER
My problem is that I have the automatic 4X4 system in my ranger. But when I press the 4X4 button or even the "low range" button nothing happens. No blinking lights or noises or anything. My guess is that it is the control module. Am I right? If I am, where is it located in the truck and what does it look like? I can't seem to locate it. Thank you.
Wednesday, February 3rd, 2010 AT 4:39 PM

1 Reply

Tiny
KASEKENNY
  • MECHANIC
  • 18,907 POSTS
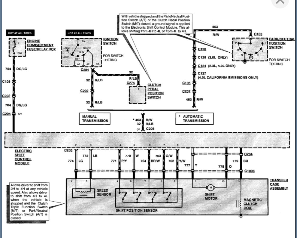
If when you press the button, nothing happens then it could be the control module. This is called the electronic shift control module. Basically we need to check the voltage coming out of the switch to find out if the switch is telling the module to turn it on. The way the lights work is you press the button and then the module gets that signal and it turns the lights on.

So if the switch is operating then the module is the issue. Once the module gets the signal from the switch it turns the light on or flashes it if there is another sensor like the park neutral or clutch position switch that is not sending the correct signal. This flashing says that the module is trying to turn the system on but it cannot.

Here is a guide that will help with this testing:

https://www.2carpros.com/articles/how-to-check-wiring

Please run through this info and let us know if you have questions.

Thanks
Was this
answer
helpful?
Yes
No
Monday, August 2nd, 2021 AT 8:36 PM

Please login or register to post a reply.