Engine Oil Pan Removal

FORD F-150
Avatar
BECKEETLESS
  • MEMBER
  • 1 POST
How do I remove the oil pan in my 2002 Ford F-150 V6 4.2 Liter. I need your help can you please give me instructions and step by step diagrams please? I love this site.

THANKS!
Jan 18, 2007 at 10:15 PM
Advertisement
Avatar
STRAILER
  • CAR REPAIR CONTRIBUTOR
  • 54,248 POSTS
Hello,

You must raise the engine up to get the pan out. Here is a safe way to raise the truck

https://www.2carpros.com/articles/jack-up-and-lift-your-car-safely

The best way is to jack up the engine so that you can unbolt it from the bottom and have enough room between the engine block and the crossmember to remove it.

Disconnect the exhaust, unbolt the engine mounts, unbolt (or at least loosen and back off) the transmission mounting nuts, unbolt the fan shroud and drape it over the fan, (can't really get it out unless you remove the fan as well) and then some models require you to remove a few components on top of the engine so that you are able to jack the engine up the necessary five or six inches to clear the crossmember.

You can then unbolt the oil pan, reach in, unbolt the oil pump and pickup tube, drop those into the pan and haul the pan out of there. I hope this helps.

Don't forget to drain the oil beforehand.

Here are some guides from the repair manual (below)

Let us know what happens and please upload pictures or videos of the problem.

Cheers, Ken
Nov 9, 2017 at 2:24 PM
Advertisement
Avatar
LCPLMATT
  • MEMBER
  • 1 POST
I have an 01 ford f150 4x4 with a 5.4 v8 and 80,000 miles. I need to change out the oil pan but have heard to drop it out you have to jack the engine up being that the front of the oil pan almosts rests on the front diferential and can not drop out. Is this true or is there and easier way to drop this pan out.
Nov 9, 2017 at 2:25 PM (Merged)
Avatar
INDYUKE
  • CAR REPAIR CONTRIBUTOR
  • 416 POSTS
That is true. You must unbolt the engine mounts, loosen the transmission mounts and jack up the engine about five to six inches. Also i think the starter needs to be removed.
Nov 9, 2017 at 2:25 PM (Merged)
Avatar
JWOOD60379
  • MEMBER
  • 2 POSTS
Engine Mechanical problem
2001 Ford F-150 6 cyl Two Wheel Drive Automatic 200000 miles

How hard is it to replace the oil pan seal. I have had the rear main seal replaced and the the shop says that I need to replace the oil pane seals.
Nov 9, 2017 at 2:25 PM (Merged)
Avatar
WRENCHTECH
  • CAR REPAIR CONTRIBUTOR
  • 20,761 POSTS
It's a 2-3 hour job but much easier if you have a lift. You will also need an engine support tool.
Nov 9, 2017 at 2:25 PM (Merged)
Avatar
MYFORD95
  • MEMBER
  • 1 POST
Engine Mechanical problem
1995 Ford F150 V8 Two Wheel Drive Automatic

Is it neccesary to pull the motor on a 1995 f150 5.0 to remove the oil pan? What is the easiest route to go?
Nov 9, 2017 at 2:26 PM (Merged)
Avatar
MHPAUTOS
  • CAR REPAIR CONTRIBUTOR
  • 31,937 POSTS
Hi there, See text for sump removal. mark (mhpautos)


https://images.2carpros.com/forum/automotive_pictures/61395_1_35.jpg

Nov 9, 2017 at 2:26 PM (Merged)
Avatar
MO123456
  • MEMBER
  • 1 POST
1992 Ford F150 6 cyl Two Wheel Drive Automatic

how do you remove the oil pan to change the oil pan gasket
Nov 9, 2017 at 2:26 PM (Merged)
Avatar
MHPAUTOS
  • CAR REPAIR CONTRIBUTOR
  • 31,937 POSTS
Hi there, oil pan R&R instructions. mark (mhpautos)


https://images.2carpros.com/forum/automotive_pictures/61395_Capture_13.jpg

Nov 9, 2017 at 2:26 PM (Merged)
Avatar
KELLYFULLER6
  • MEMBER
  • 1 POST
Engine Mechanical problem
2001 Ford F150 6 cyl Two Wheel Drive Automatic 150,00 miles

how much should i have to pay to replace oil pan? was quoted $60.00 for parts and $600.00 for labor
Nov 9, 2017 at 2:26 PM (Merged)
Avatar
BLUELIGHTNIN6
  • CAR REPAIR CONTRIBUTOR
  • 16,542 POSTS
that's a pretty average estimate for your vehicle's oil pan and gasket replacement..


https://images.2carpros.com/forum/automotive_pictures/261618_Noname_892.jpg

Nov 9, 2017 at 2:26 PM (Merged)
Avatar
SHAWNBOBBIE
  • MEMBER
  • 1 POST
Engine Mechanical problem
1995 Ford F150 V8 Four Wheel Drive Automatic 139000 miles

My oil dip stick broke off at the oil pan is it hard to replace? What does it take to fix it? I need to drive it for work will anything happen if i need to get the money to repair it what will happen if anything if i drive it
Nov 9, 2017 at 2:26 PM (Merged)
Avatar
JACOBANDNICKOLAS
  • CAR REPAIR CONTRIBUTOR
  • 110,190 POSTS
THey are easy to replace. They simply are bolted to the engine block. Once the bolt is removed, it will pull out. There is an o-ring where it pushes back into the engine. If it is broken, just check to make sure nothing is leaking from it when you run the engine. That is the worst thing that could happen.
Nov 9, 2017 at 2:27 PM (Merged)
Avatar
EWINFREY
  • MEMBER
  • 6 POSTS
I raised motor put blocks under motor mounts, its high enough to get pan out but cant get it past transmission housing. I removed the oil pump pick up line still cant clear trans. housing. I raised the transmission up also, removed trans. mount but not enough. Is there another option other than removing transmission
Nov 9, 2017 at 2:27 PM (Merged)
Avatar
CARADIODOC
  • CAR REPAIR CONTRIBUTOR
  • 34,308 POSTS
I have come across this before... you will have to jack up the engine to gain the clearance necessary to remove the oil pan. There is a post up top that as a bunch of diagrams that will help you in this process.
Nov 9, 2017 at 2:27 PM (Merged)
Avatar
SQUIRRLY STERLY
  • MEMBER
  • 1 POST
Engine Mechanical problem
1994 Ford F150 V8 Four Wheel Drive Automatic

what do you have to do to change the oil pan in a 1994 ford f150 5.0 liter 4 wheel drive?
Nov 9, 2017 at 2:27 PM (Merged)
Avatar
BMRFIXIT
  • CAR REPAIR CONTRIBUTOR
  • 19,053 POSTS
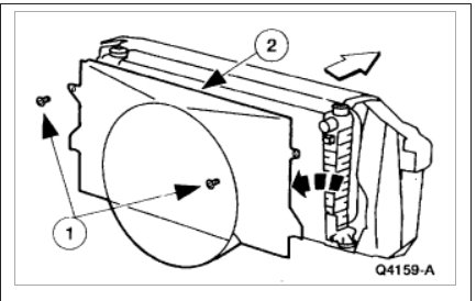
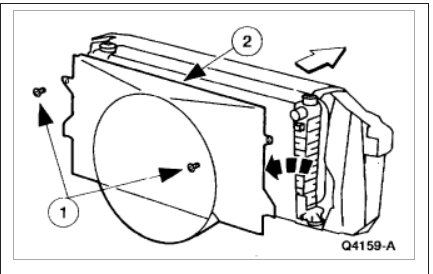
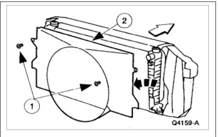
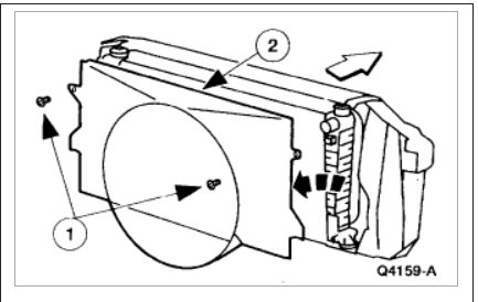
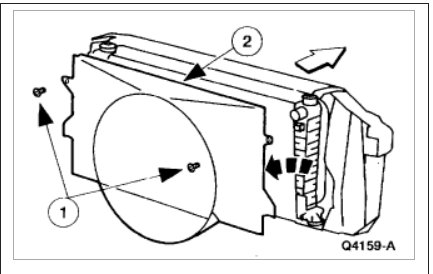
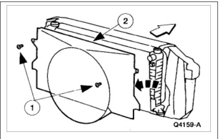
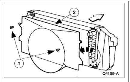
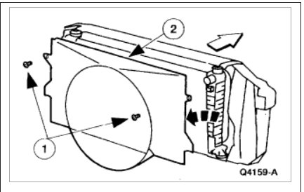
OIL PAN
Removal
Remove fan shroud.
Remove upper intake manifold.
Remove front engine mount-to-frame nuts and raise engine.
On A/T models, disconnect oil cooler lines from radiator.
Disconnect exhaust pipes from exhaust manifold.
Drain engine oil.
Support transmission and remove transmission crossmember. Remove oil pan bolts and lower oil pan.
Remove oil pump bolts and pick-up tube nut.
Lower oil pump assembly into pan.
Remove oil pan from vehicle.


Installation
To install, reverse removal procedure. Apply silicone sealant at front and rear corners of oil pan surface and cylinder block, and where timing chain cover meets cylinder block. To install remaining components, reverse removal procedure.
Nov 9, 2017 at 2:27 PM (Merged)
Avatar
WST
  • MEMBER
  • 1 POST
I have a 94 ford f-150 with a straight six with 147,000 miles on it. the oil pan needs replacing and I found when I unbolted it that it would not come out becouse it cannot fit by the transmition one way and the other the deep part cannot fit over the frame for thee front supension and axel. I have been told that I might be able to undo jest one engin mount and jack up the engin. any help would be appreciated. thanks
Apr 14, 2020 at 12:36 PM (Merged)
Avatar
TEMPO NIGHTMARE
  • MEMBER
  • 5 POSTS
Hello

Sometimes just disconnecting 1 motor mount will usually do the trick...However, undoing both and raiseing the whole motor maybe a better benefit to easy removal and replacement of the oil pan.. Just becareful when doing so. So as to not breaking any other components...I know with GM's the distributor is in the rear of the motor. But since this is a straight six that shouldnt be a problem... Just be sure nothing else is crushed or damaged in the process...

Good Luck!
Let me know the end result.. and please dont forget to donate to the site...Thanks!
Apr 14, 2020 at 12:36 PM (Merged)
Avatar
BIGO
  • MEMBER
  • 36 POSTS
I havea 89 ford f150 2wd automatic 189000 ,my rear main seal went out on it an im ready to change it by dropping the tranny,an oil pan,but it looks close considering the oil pumpis all the way to the bottom of the oil pan,I DO NOT WANT to drop the trans start to drop the oil pan then find out ill need to pull the motor any way to get the oil pan off its a 351 windsor, c6trans,2wd. Is what I REALLY NEED TO KNOWIS IF ANYONE HAS PULLED THE OIL PAN ON ONE OF THESE TRUCKS WITHOUT PULLING THE MOTOR as i would rather do 1 or the other not both . but like i say i think it will clear and abouit half a dozen of my pals think it will but I would give my eye teeth to the guy who said yes ive pulled the pan without pulling the motor or to say you will need to pull the motor to get the pan off I f any one knows for sure PLEASE LET ME KNOW agin its a 89 f150 351 windsor ,c6 trans 2wd thanks a million
Apr 14, 2020 at 12:36 PM (Merged)
Avatar
INDYUKE
  • CAR REPAIR CONTRIBUTOR
  • 416 POSTS
I have pulled the pan on '91 f150... which is a pickup of the same exact body style. It was also 2wd, had the V8 and the auto trans. The oil pan will clear the crossmember, however in order for it to do so, you need to unbolt the engine from it's mounts, loosen the tranny mounts, disconnect the exhaust at the manifolds and jack the engine up about four to five inches for the oil pan to clear.

The oil pump and pickup tube sticks down into the oil pan quite a ways and you won't be able to pull the pan out unless you reach up in there and unbolt both and lower them into the oil pan.

Make sure the crankshaft throw for #1 cylinder is at the top of it's stroke (TDC). All that should give you the room you need to remove the oil pan. I hope this helps.
Apr 14, 2020 at 12:36 PM (Merged)
Avatar
KEALLI2
  • MEMBER
  • 5 POSTS
Hi,
I did as the manual suggested to remove the oil pan but there is not enough clearance to get it past the transmission.
PLEASE HELP!!!!!
Apr 14, 2020 at 12:36 PM (Merged)
Avatar
BLUELIGHTNIN6
  • CAR REPAIR CONTRIBUTOR
  • 16,542 POSTS
You will have to remove the front engine mount nuts and raise the front of engine with a jack and wood block. This should give you the clearance to remove the pan.
Apr 14, 2020 at 12:36 PM (Merged)
Avatar
BLUELIGHTNIN6
  • CAR REPAIR CONTRIBUTOR
  • 16,542 POSTS
have you removed the oil pump and tubing for extra clearance?
Apr 14, 2020 at 12:36 PM (Merged)
Avatar
KEALLI2
  • MEMBER
  • 5 POSTS
Yes I did. Any suggestions?
Apr 14, 2020 at 12:36 PM (Merged)
Avatar
BLUELIGHTNIN6
  • CAR REPAIR CONTRIBUTOR
  • 16,542 POSTS
this is on a 4.9L engine, correct?
Apr 14, 2020 at 12:36 PM (Merged)
Avatar
KEALLI2
  • MEMBER
  • 5 POSTS
Yes, it is.
The oil pan is hitting the transmission. It's close to clearing but not quite.
Apr 14, 2020 at 12:36 PM (Merged)
Avatar
FTOATH
  • MEMBER
  • 3 POSTS
Engine Mechanical problem
1992 Ford F150 V8 Four Wheel Drive Automatic

What is the trick to removing the oil pan I have a 5.8L engine 4x4 I have removed all the bolts and unbolted the motor mounts and jacked up the motor but the oil pan will not slide ouy. Please advise
Apr 14, 2020 at 12:36 PM (Merged)
Avatar
BLUELIGHTNIN6
  • CAR REPAIR CONTRIBUTOR
  • 16,542 POSTS


https://images.2carpros.com/forum/automotive_pictures/261618_Noname_1866.jpg


https://images.2carpros.com/forum/automotive_pictures/261618_Noname2_593.jpg


https://images.2carpros.com/forum/automotive_pictures/261618_Noname3_231.jpg

Apr 14, 2020 at 12:36 PM (Merged)
Avatar
FTOATH
  • MEMBER
  • 3 POSTS
Thanks for the help but I can't see the text it is to small and I cant soom in
Apr 14, 2020 at 12:36 PM (Merged)
Avatar
BLUELIGHTNIN6
  • CAR REPAIR CONTRIBUTOR
  • 16,542 POSTS
sorry about that, whats your email and i will send it to you so you can open it up and enlarge it through email.
Apr 14, 2020 at 12:36 PM (Merged)
Avatar
GRUBBMARVIN
  • MEMBER
  • 1 POST
I cannot get oil pan to slide out from under engine after removing all bolts and motor mount nuts still hits on front of transmission transmission is 4 speed manual
Apr 14, 2020 at 12:36 PM (Merged)
Avatar
WRENCHTECH
  • CAR REPAIR CONTRIBUTOR
  • 20,761 POSTS
Have you removed the fan and lifted the motor until it contacts the firewall?
Apr 14, 2020 at 12:36 PM (Merged)
Avatar
DOCFIXIT
  • CAR REPAIR CONTRIBUTOR
  • 18,828 POSTS
Hi
Engine must be traised at least 1" off mounts. also rest oil pan on cross member remove two bolt holding oil pump let pump fall into pan remove.
Thanks for donate
Apr 14, 2020 at 12:36 PM (Merged)
Avatar
ROLLIN_ROYCE5
  • MEMBER
  • 1 POST
Hi. I have a 1990 F150 6 cyl with 73K miles. The truck runs great, but the oil pan has rusted out. I have removed all the bolts from the oil pan, but how I do pull it out? Do I have to remove the transmission access panel or anything else? Thank-you. I llove my truck but it needs help. :roll:
Apr 14, 2020 at 12:36 PM (Merged)
Avatar
INDYUKE
  • CAR REPAIR CONTRIBUTOR
  • 416 POSTS
Yes, remove the torque converter dust cover (metal plate), unbolt the engine mounts, loosen the tranny mounts, and jack up the engine 4-6 inches. You have to do that so the oil pan will clear the crossmember easily. Make sure everything like the fan shroud and stuff will clear before you jack it up. I hope this helps.
Apr 14, 2020 at 12:36 PM (Merged)
Avatar
KEALLI2
  • MEMBER
  • 5 POSTS
Jacked up front of engine just like I was told.
Still lacking about 1/2 inch of clearing the transmission
Apr 14, 2020 at 12:37 PM (Merged)
Avatar
BLACKOP555
  • CAR REPAIR CONTRIBUTOR
  • 10,386 POSTS
what pan are you talking about. engine oil or tranny?

make sure no wires are preventing engine from going up. also make sure radiator fan isnt hitting radiator . try loosening up tranny mount and other motor mounts to gain additional clearence.
Apr 14, 2020 at 12:37 PM (Merged)
Avatar
GOOB2
  • MEMBER
  • 1 POST
do i have to lift the engine to remove the oil pan?
Apr 14, 2020 at 12:37 PM (Merged)
Avatar
RICHZOMBIE
  • CAR REPAIR CONTRIBUTOR
  • 173 POSTS
Yes, you will have to lift engine. Here is step by step how to replace oil pan.


https://images.2carpros.com/forum/automotive_pictures/307763_Noname_26.jpg

1.Drain the crankcase. CAUTION The EPA warns that prolonged contact with used engine oil may cause a number of skin disorders, including cancer! You should make every effort to minimize your exposure to used engine oil. Protective gloves should be worn when changing the oil. Wash your hands and any other exposed skin areas as soon as possible after exposure to used engine oil. Soap and water, or waterless hand cleaner should be used. 2.Drain the cooling system. CAUTION When draining the coolant, keep in mind that cats and dogs are attracted by ethylene glycol antifreeze and are quite likely to drink any that is left in an uncovered container or in puddles on the ground. This will prove fatal in sufficient quantity. Always drain the coolant into a sealable container. Coolant should be reused unless it is contaminated or several years old. 3.On 1987-93 models, remove the upper intake manifold and throttle body (see Fuel System ). 4.Remove the starter. 5.Remove the engine front support insulator to support bracket nuts and washers on both supports. Raise the front of the engine with a transmission jack and wood block and place 1 in. (25mm) thick wood blocks between the front support insulators and support brackets. Lower the engine and remove the transmission jack. 6.Remove the oil pan attaching bolts and lower the pan to the crossmember. Remove the two oil pump inlet tube and screw assembly bolts and drop the assembly in the pan. Remove the oil pan. Remove the oil pump inlet tube attaching bolts. Remove the inlet tube and screen assembly from the oil pump and leave it in the bottom of the oil pan. Remove the oil pan gaskets. Remove the inlet tube and screen from the oil pan. To install: 7.Clean the gasket surfaces of the oil pump, oil pan and cylinder block. Remove the rear main bearing cap to oil pan seal and cylinder front cover to oil pan seal. Clean the seal grooves. 8.Apply oil-resistant sealer in the cavities between the bearing cap and cylinder block. Install a new seal in the rear main bearing cap and apply a bead of oil-resistant sealer to the tapered ends of the seal. 9.Install new side gaskets on the oil pan with oil-resistant sealer. Position a new oil pan to cylinder front cover seal on the oil pan. 10.Clean the inlet tube and screen assembly and place it in the oil pan. 11.Position the oil pan under the engine. Install the inlet tube and screen assembly on the oil pump with a new gasket. Tighten the screws to 5-7 ft. lbs. (7-9 Nm). Position the oil pan against the cylinder block and install the attaching bolts. Tighten the bolts in sequence to 10-12 ft. lbs. (13-16 Nm). 12.Raise the engine with a transmission jack and remove the wood blocks from the engine front supports. Lower the engine until the front support insulators are positioned on the support brackets. Install the washers and nuts on the insulator studs and tighten the nuts. 13.Install the starter and connect the starter cable. 14.Install the intake manifold and throttle body, if removed. 15.Fill the crankcase and cooling system. 16.Start the engine and check for coolant and oil leaks.
Apr 14, 2020 at 12:37 PM (Merged)
Repair Safety Notice: This information is for general instructional purposes only. Vehicle repair can be dangerous. Verify all information, follow manufacturer service procedures, use proper tools and safety equipment, and consult a qualified repair shop when needed.