Change the CAM position sensor?

Tiny
KELLYHELTON35
  • MEMBER
  • 2004 FORD F-150
  • V8
  • 4WD
  • AUTOMATIC
  • 129 MILES
I have a 2004 supercrew ford f-150 that I had a new remanufactured motor put in it. The truck barely idels, sounds like knocking on right side, and stalls. Im getting a error code of p0022- cam position retard. Ive changed the vct solenoid and no change. The old motor had a blown head gasket and droped valeve on right side. Is it posible that it has a bad computer in it doing this, or would it be a bad cam phaser. It being a new motor I cant see it being a bad cam phaser.
Thursday, September 23rd, 2010 AT 7:59 PM

32 Replies

Tiny
JACOBANDNICKOLAS
  • MECHANIC
  • 110,194 POSTS
I agree about the cam phaser. Does the engine have power once you get it going? As far as the knock, does it sounds like a rod bearing? I have a couple concerns. First, the engine was not timed properly when remanufactured. Second, if the timing is retarded, it shouldn't cause a knock. Too far advanced can because it fires too early.

Let me know.
Was this
answer
helpful?
Yes
No
Thursday, September 23rd, 2010 AT 9:22 PM
Tiny
KELLYHELTON35
  • MEMBER
  • 3 POSTS
It sounds like the valves chattering, it tries to die, it smoothes out alittle once the rpms are ran up. Its hard to start also.
Was this
answer
helpful?
Yes
No
Friday, September 24th, 2010 AT 8:20 PM
Tiny
JACOBANDNICKOLAS
  • MECHANIC
  • 110,194 POSTS
First, sorry about the delay in getting back to you. I lost my father this week and things were.

Have you checked the knock sensor?
Was this
answer
helpful?
Yes
No
Saturday, September 25th, 2010 AT 12:41 AM
Tiny
KELLYHELTON35
  • MEMBER
  • 3 POSTS
Im very sorry to hear about your father my condolences go out to you and your family. Would a knock sensor give the error code p0022, rough idel and hard to start and shimmy and valvel chattering?
Was this
answer
helpful?
Yes
No
Saturday, September 25th, 2010 AT 11:00 AM
Tiny
JACOBANDNICKOLAS
  • MECHANIC
  • 110,194 POSTS
Thank you.

As far as the knock sensor, its purpose is to adjust ignition timing to a point right before it gets too advanced. If it does get too advanced, you get valve chatter, and yes it can make it hard to start. It's worth checking.
Was this
answer
helpful?
Yes
No
Sunday, September 26th, 2010 AT 1:26 AM
Tiny
JOSIE2003
  • MEMBER
  • 1 POST
  • 2003 FORD F-150
  • 4.2L
  • V6
  • 2WD
  • MANUAL
  • 180,000 MILES
Where is it located exactly on my truck?
Was this
answer
helpful?
Yes
No
+1
Friday, August 21st, 2020 AT 5:53 PM (Merged)
Tiny
JACOBANDNICKOLAS
  • MECHANIC
  • 110,194 POSTS
Hi and thanks for using 2CarPros.

See picture 1 for location.

___________________________________

Here are the directions for replacement:

CAMSHAFT POSITION SENSOR
REMOVAL
1. Disconnect the battery ground cable.
2. Partially drain the cooling system.
3. Remove the air cleaner outlet tube.

See picture 2

4. Disconnect the engine harness from the water tube, remove the bolt and position the heater water outlet tube aside.

See picture 3

5. Disconnect the Camshaft Position (CMP) sensor electrical connector.

See picture 4

6. Remove the screws and the CMP sensor.

INSTALLATION
1. To install, reverse the removal procedure.

__________________________________________________

Let me know if this helps or if you have other questions.

Take care,
Joe
Was this
answer
helpful?
Yes
No
+3
Friday, August 21st, 2020 AT 5:53 PM (Merged)
Tiny
GINALANGSTON1
  • MEMBER
  • 66 POSTS
  • 2000 FORD F-150
  • 4.2L
  • 6 CYL
  • 2WD
  • AUTOMATIC
  • 236,000 MILES
While replacing my Injectors I noticed there was bare wires showing on one of the electrical connectors connected to something just underneath my EGR valve but not knowing what it is cuz I couldn't find it in books or anywhere I decided that I was going to remove it and I did not realize at the time that the top part with electrical connector connected could come separate from the other Part. It's directly under the EGR valve and held in by a big washer and bolt. So after I'm doing the bolt I attempted to pull it out several times but was not able to get it out then later realized what I was trying to pull out with my camshaft an electrical connector connected to the camshaft position sensor on top of it now I'm freaking out can you please tell me what damage I've done like trying to pull it out what I need to do to fix itI never did actually get it out but I did try pulling it several times and I don't think I put it back in the correct position that it was when I started. Please help me what do I do now did I mess it up bad I haven't tried starting the vehicle yet should I not start it what should I do is there any way to fix it or do I need to take the whole thing apart please tell me what I have to do and whether I need to try starting it or not waiting for your reply thank you so much. It's a 2000 Ford f150 4.2 v6 2 wheel drive it is the thing on the left. That the sensor is bolted on top of. And that big bolt and washer held it down in place
Was this
answer
helpful?
Yes
No
Friday, August 21st, 2020 AT 5:53 PM (Merged)
Tiny
ASEMASTER6371
  • MECHANIC
  • 52,796 POSTS
Hello again.

Did you re time the synchronizer? The last conversation we had, I told you it had to be retimed.

Roy
Was this
answer
helpful?
Yes
No
Friday, August 21st, 2020 AT 5:53 PM (Merged)
Tiny
GINALANGSTON1
  • MEMBER
  • 66 POSTS
No. I am sorry I don't think I ever got that message. Anyways, could you Please tell me how to do that. What steps do I need to take to time the Synchronizer? Step by step would be so greatly appreciated. Thank you so much.
Was this
answer
helpful?
Yes
No
Friday, August 21st, 2020 AT 5:53 PM (Merged)
Tiny
ASEMASTER6371
  • MECHANIC
  • 52,796 POSTS
Procedure.

Roy

INSTALLATION

CAUTION: The Syncro Positioning Tool must be obtained prior to installation of the new camshaft synchronizer assembly. Failure to follow this procedure will result in the fuel system being out of time with the engine, possibly causing engine damage.

ImageOpen In New TabZoom/Print

1. Install the Syncro Positioning Tool on the camshaft synchronizer by rotating the tool until it engages the notch in the camshaft synchronizer housing.

CAUTION: A Syncro Positioning Tool must be used during the installation of the new synchronizer assembly. Failure to follow this procedure will result in the fuel system being out of time with the engine, possibly causing engine damage.

ImageOpen In New TabZoom/Print

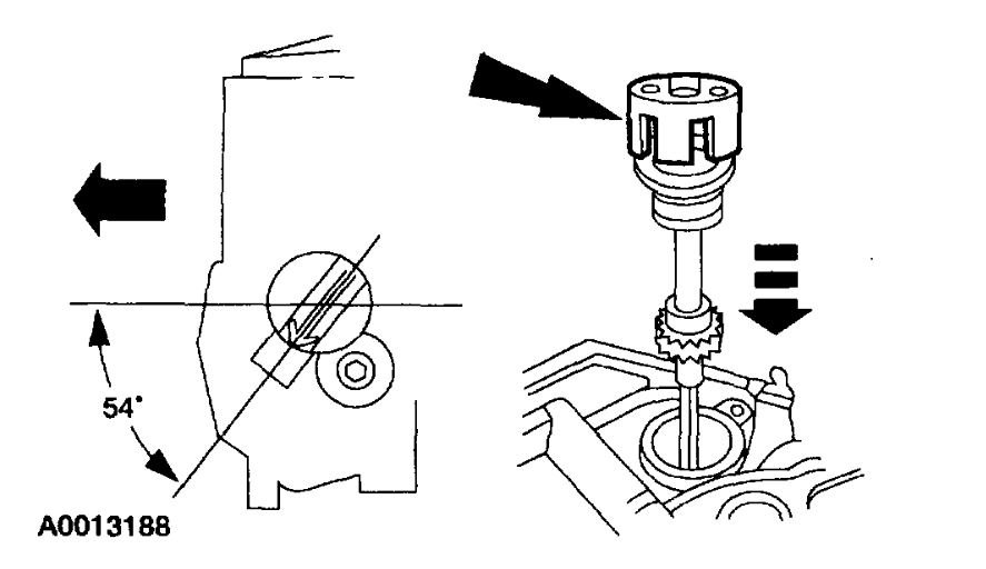
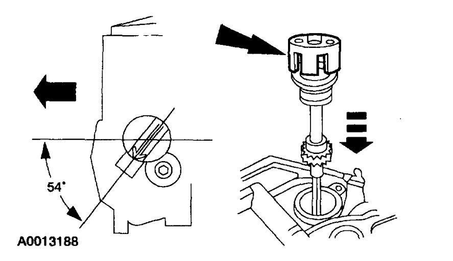
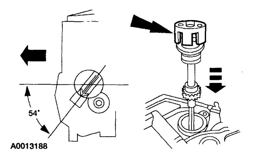
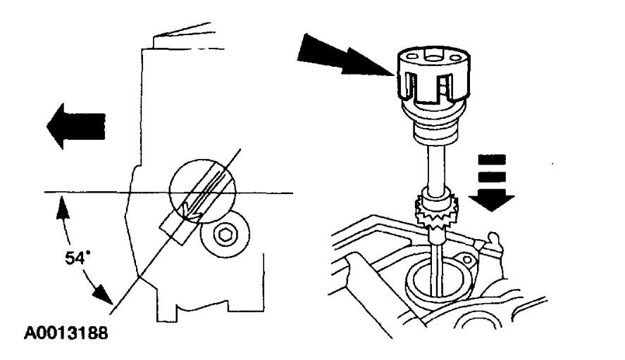
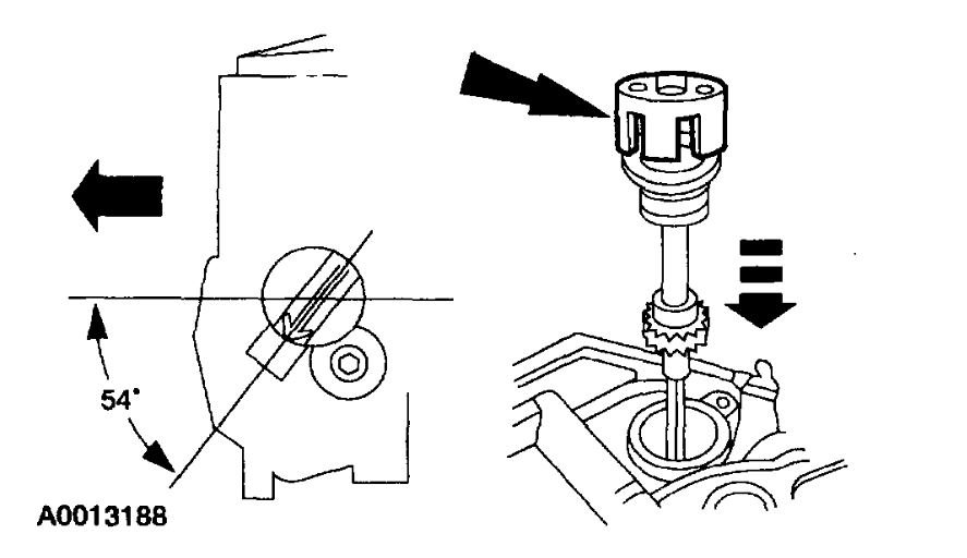
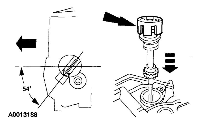
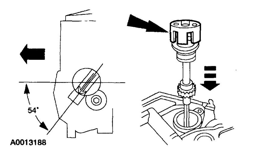
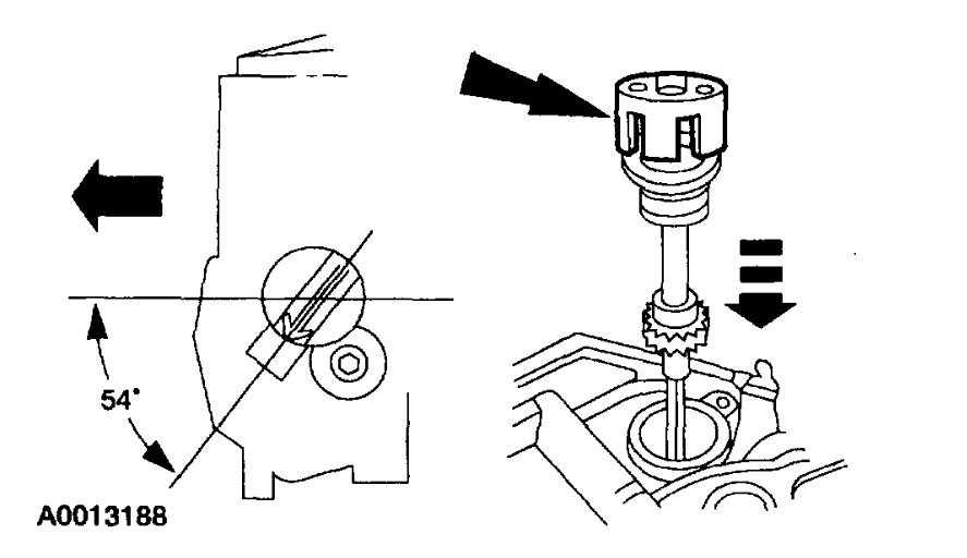
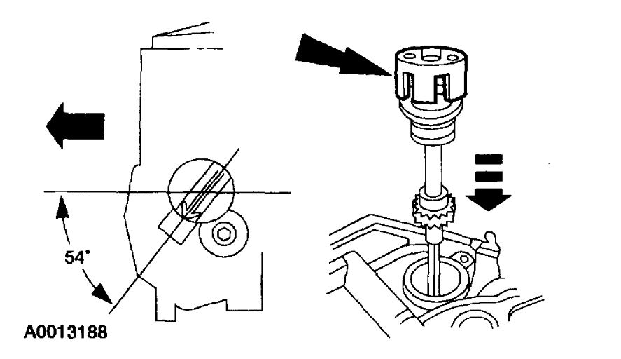
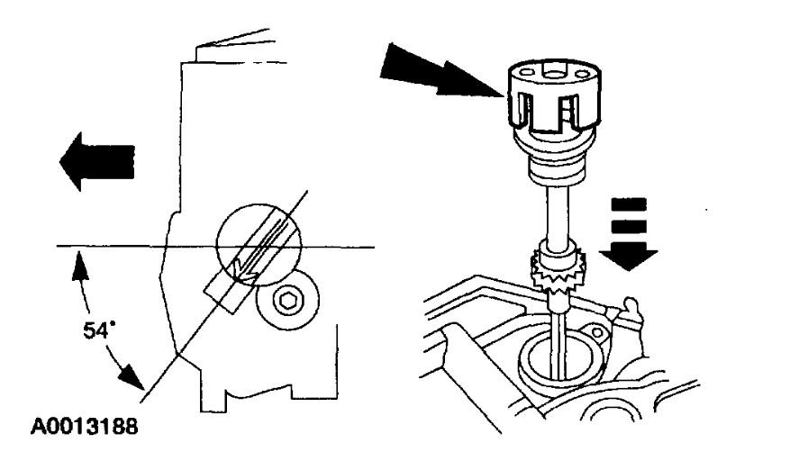
2. Install the camshaft synchronizer housing assembly so the arrow on the synchronizer alignment tool is 54 degrees from the centerline of the engine.

NOTE: During installation, the arrow on the synchronizer alignment tool will rotate clockwise as the gears engage.

ImageOpen In New TabZoom/Print

3. Install the bolt and remove the Syncro Positioning Tool.

NOTE: Do not remove the Syncro Positioning Tool until the bolt is tightened.

ImageOpen In New TabZoom/Print

4. Install the EGR valve and adapter assembly.
1 Position the EGR adapter gasket.
2 Position the EGR valve.
3 Install the bolts and the nut.

NOTE: Reuse the EGR valve adapter gasket.

ImageOpen In New TabZoom/Print

5. Install the EGR valve tube upper fitting.

ImageOpen In New TabZoom/Print

6. Connect the EGR valve vacuum hose.
7. Install the CMP sensor. For additional information, refer to Camshaft Position (CMP) Sensor.
Was this
answer
helpful?
Yes
No
Friday, August 21st, 2020 AT 5:53 PM (Merged)
Tiny
GINALANGSTON1
  • MEMBER
  • 66 POSTS
  • 2000 FORD F-150
  • 236,000 MILES
While working on my truck listed above 4.2 v6 I noticed that one of the electrical connectors to some type of sensor the wires were showing. So I cut it off to replace it and somehow I lost it and wasn't sure the part that it was connected on to. I've been looking into books and everywhere online I can't find what that was that was connected to. Finally I just decided to take it off and then take it to the auto parts store so I can get the correct connector for it and realized later that it was a camshaft position sensor. I did not totally remove it from the vehicle but I lifted it up and kept trying to pull it out but can't get out of course, but I want to know what damage I've done? Is my engine going to start?Is it going to cause worse damage to the motor it if I try starting it? What should I do? I bolted it back down to where I think it was but I'm not quite sure. Please tell me what I need to do. Do I need to take take it all apart? Should I not attempt to start it or what? Please help!
Was this
answer
helpful?
Yes
No
Friday, August 21st, 2020 AT 5:53 PM (Merged)
Tiny
ASEMASTER6371
  • MECHANIC
  • 52,796 POSTS
Good evening,

You need a pigtail for the cam sensor. You ask for that at a parts store.

As far as the sensor, it is held by 2 small bolts. I attached a picture for you to view. Is that what you tried to remove?

Roy
Was this
answer
helpful?
Yes
No
-1
Friday, August 21st, 2020 AT 5:53 PM (Merged)
Tiny
GINALANGSTON1
  • MEMBER
  • 66 POSTS
No, I tried to remove the whole camshaft position sensor. That that electrical part is bolted on top of. Without first marking it's location. What do I do now?
Was this
answer
helpful?
Yes
No
Friday, August 21st, 2020 AT 5:53 PM (Merged)
Tiny
ASEMASTER6371
  • MECHANIC
  • 52,796 POSTS
Did it come all the way out?

The top part is the sensor.

Roy
Was this
answer
helpful?
Yes
No
Friday, August 21st, 2020 AT 5:53 PM (Merged)
Tiny
ASEMASTER6371
  • MECHANIC
  • 52,796 POSTS
How did you make out?
Was this
answer
helpful?
Yes
No
Friday, August 21st, 2020 AT 5:53 PM (Merged)
Tiny
GINALANGSTON1
  • MEMBER
  • 66 POSTS
I have not done anything yet. So I have to basically take my whole engine apart to do this? Such as to remove the crankshaft pully, oil pan, oil pump, radiator and get to the timing chain and all that? I didn't completely take it out because the EGR valve was in the way, does that matter? Also how do I donatemoney to you guys? I did it before a few times but can't remember how.
Was this
answer
helpful?
Yes
No
Friday, August 21st, 2020 AT 5:53 PM (Merged)
Tiny
ASEMASTER6371
  • MECHANIC
  • 52,796 POSTS
Okay, no, the engine does not have to come apart. You need to remove the EGR valve to get the syncronizer out for reset.

Roy

REMOVAL
1. Rotate the crankshaft until the No.1 cylinder is at Top Dead Center (TDC) of the compression stroke.

CAUTION: Do not turn the crankshaft or camshaft during the removal and installation procedure or the fuel system timing will be out of time with the engine and possibly cause engine damage.

2. Remove the camshaft position sensor. For additional information, refer to Camshaft Position (CMP) Sensor.

ImageOpen In New TabZoom/Print

3. Disconnect the Exhaust Gas Recirculation (EGR) valve vacuum hose.

ImageOpen In New TabZoom/Print

4. Remove the EGR valve tube upper fitting.

ImageOpen In New TabZoom/Print

5. Remove the EGR valve and adapter.
1 Remove the nut and the bolts.
2 Remove the EGR valve and adapter assembly.

ImageOpen In New TabZoom/Print

6. Remove the bolt.
Was this
answer
helpful?
Yes
No
Friday, August 21st, 2020 AT 5:53 PM (Merged)
Tiny
GINALANGSTON1
  • MEMBER
  • 66 POSTS
Okay. But 2 last Questions being that I did not lift it all the way out due to EGR being in the way and I did not remove the Camshaft position sensor at all from yhe Synchronizer would that make it out of timing still? And how would I know if by pulling up on it if my oil pump disconnected?
Was this
answer
helpful?
Yes
No
Friday, August 21st, 2020 AT 5:53 PM (Merged)
Tiny
ASEMASTER6371
  • MECHANIC
  • 52,796 POSTS
Okay,

1. If the gear came away from the camshaft, then it has moved and needs to be reset.

2. If the unit went back down into place flush as it was before, then it is engaged in the oil pump.

Roy
Was this
answer
helpful?
Yes
No
+1
Friday, August 21st, 2020 AT 5:53 PM (Merged)

Please login or register to post a reply.