Engine problem - loss of power and Pickup

Tiny
KEVINPERSONIUS27
  • MEMBER
  • 2010 GMC SIERRA
  • 5.3L
  • V8
  • 4WD
  • AUTOMATIC
  • 187,000 MILES
Engine idles low, truck has loss of power and pickup. When driving gives a sudden jerk, engine shakes when parked don't notice when driving. It has recent spark plugs and air filter changed with a power steering hose gassed up before fixing the truck. I took it in to the shop after problem arises after driving 15 -40 km. They changed the master cylinder and the problem became less worrisome as I wasn't able to go over 60 km/h before the part was changed now I can slowly climb to 100 km/h in bout double the time it use to take.
Friday, August 26th, 2016 AT 8:23 PM

20 Replies

Tiny
HMAC300
  • MECHANIC
  • 48,601 POSTS
It sounds like a weak fuel pump or the MAF sensor is going bad these guides should help us fix it.

https://www.2carpros.com/articles/engine-has-low-power-output

and

https://www.2carpros.com/articles/how-to-check-fuel-system-pressure-and-regulator

and

https://www.2carpros.com/articles/mass-air-flow-service

Please run down these guides and report back.
Was this
answer
helpful?
Yes
No
+1
Saturday, August 27th, 2016 AT 6:18 AM
Tiny
KEVINPERSONIUS27
  • MEMBER
  • 3 POSTS
I added a fuel stabilizer and the problem is slowly going away I believe it was dirty fuel in the lines
Was this
answer
helpful?
Yes
No
Saturday, August 27th, 2016 AT 12:13 PM
Tiny
RENEE L
  • ADMIN
  • 1,260 POSTS
I would change the spark plug wires along with the plugs because they had big problems with them at your engine mileage. Please get back to us so it will help others.
Was this
answer
helpful?
Yes
No
Wednesday, August 31st, 2016 AT 5:54 PM
Tiny
KEVINPERSONIUS27
  • MEMBER
  • 3 POSTS
Changed the plugs recently not the wires, truck runs just not smoothly. It had a tune up every second year and is well maintained.
Was this
answer
helpful?
Yes
No
Wednesday, August 31st, 2016 AT 5:58 PM
Tiny
RENEE L
  • ADMIN
  • 1,260 POSTS
Try changing the wires, you should also run the codes even though it might not have a light on.

https://www.2carpros.com/articles/checking-a-service-engine-soon-or-check-engine-light-on-or-flashing

Was this
answer
helpful?
Yes
No
Wednesday, August 31st, 2016 AT 6:14 PM
Tiny
RAYROMERO11
  • MEMBER
  • 1 POST
  • 2008 GMC SIERRA
  • V8
  • 4WD
  • AUTOMATIC
  • 6,623 MILES
My engine light came on and I have onstar, they trouble shooted the light and stated the fault was the engine fuel control system. They stated I could still operate my truck, but to take it to the dealer with in 7 days, and may have a slight loss of power.
What is the fuel control system? And what is the cause?

V/r,
manuel
Was this
answer
helpful?
Yes
No
Wednesday, December 9th, 2020 AT 3:21 PM (Merged)
Tiny
MERLIN2021
  • MECHANIC
  • 17,250 POSTS
Fuel control comes from the PCM(computer) as it adjusts mixture with input from O2 sensors, MAF and MAP sensors, but I do see a TSB(tech bulliten) for clogged injectors, a good cleaning might be in order. GM states you use Top tier fuels from top tier gas companies with detergent additives to keep injectors clean.
Was this
answer
helpful?
Yes
No
Wednesday, December 9th, 2020 AT 3:21 PM (Merged)
Tiny
GHOSTANDNAVIGATOR
  • MEMBER
  • 1 POST
  • 2005 GMC SIERRA
  • V8
  • 4WD
  • AUTOMATIC
  • 111,100 MILES
My 05 Sierra Z71 1500 has recently encountered very poor acceleration when in "drive". The engine light is on. From a dead stop I can literally put the pedal to the floor and it creeps to 60km in approx 15-20 sec while the engine howls. On the other hand when I shift manually, that time cuts in half and drives like its speedy old self again. I have booked an appointment with a mechanic, but was hoping to come in with a second opinion. Any help?
Was this
answer
helpful?
Yes
No
Wednesday, December 9th, 2020 AT 3:22 PM (Merged)
Tiny
RASMATAZ
  • MECHANIC
  • 75,992 POSTS
Have the computer scanned for code/s-you have a problem within the engine management system that caused the CEL to turn on-This is your starting point of diagnosis, finding out what's going on.
Was this
answer
helpful?
Yes
No
Wednesday, December 9th, 2020 AT 3:22 PM (Merged)
Tiny
DDSTORC
  • MEMBER
  • 4 POSTS
It could also be your transmission thats going bad
Was this
answer
helpful?
Yes
No
Wednesday, December 9th, 2020 AT 3:22 PM (Merged)
Tiny
2CP-ARCHIVES
  • MEMBER
  • 4,540 POSTS
  • 2004 GMC SIERRA
  • 177,000 MILES
My truck has a 5.3liter engine 4x4 1/2 ton, about two years ago a deer had hit the driver side of the bed, body shop did an excellent job of reparing but now I have a vaccum leak that I didnt have before, service engine light is on and it idles rough and there is a loss of power, before I start following the diagnostics machine and start swapping out parts, til I find it, I would like to chase down the vaccum system and see if its just a line that has popped off some where.
Was this
answer
helpful?
Yes
No
Wednesday, December 9th, 2020 AT 3:22 PM (Merged)
Tiny
HMAC300
  • MECHANIC
  • 48,601 POSTS
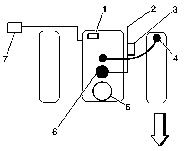
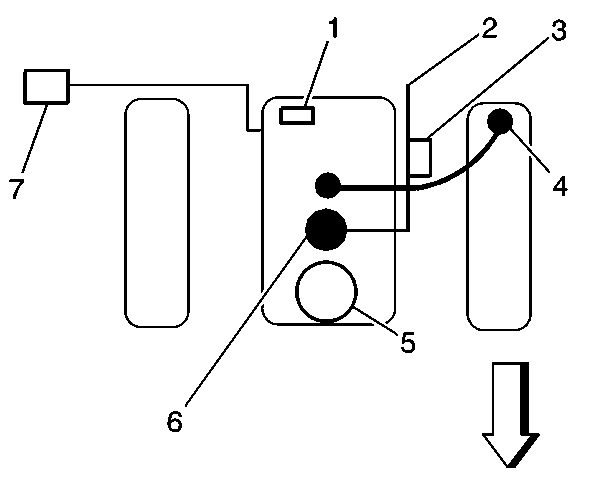
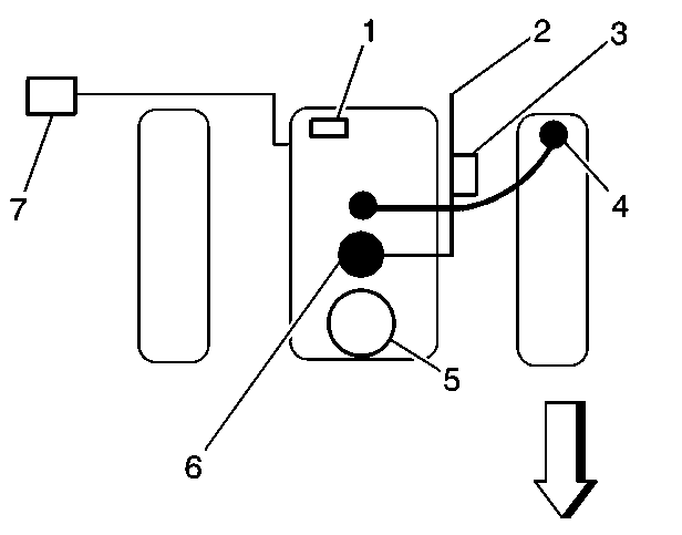
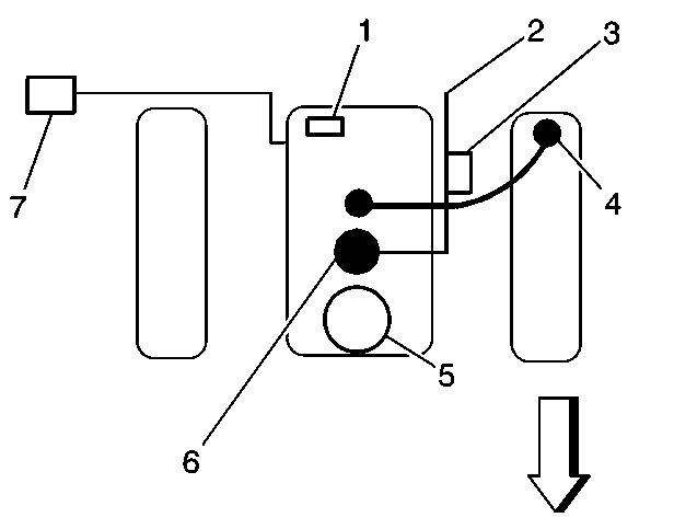
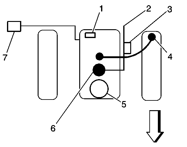
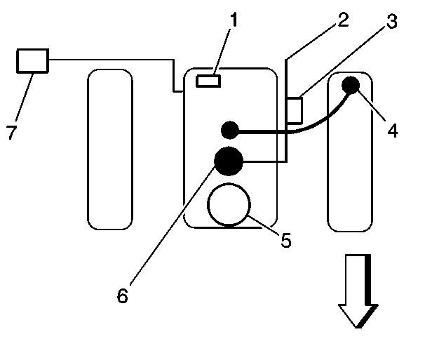
Callout Component Name
1 Manifold Absolute Pressure (MAP) Sensor
2 EVAP Canister Purge Hose
3 EVAP Service Port
4 Positive Crankcase Ventilation (PCV) Valve
5 Throttle Body
6 EVAP Canister Purge Valve
7 AIR Module,  if equipped

check by bed first, if it is on engine get choke cleaner and spray around hoses, intake etc.
Was this
answer
helpful?
Yes
No
Wednesday, December 9th, 2020 AT 3:22 PM (Merged)
Tiny
JOSH5258
  • MEMBER
  • 1 POST
  • 2004 GMC SIERRA
  • 4.3L
  • 6 CYL
  • 2WD
  • MANUAL
  • 180,000 MILES
Truck not accelerating correctly after replacing crank shaft position sensor.
Was this
answer
helpful?
Yes
No
Wednesday, December 9th, 2020 AT 3:22 PM (Merged)
Tiny
STEVE W.
  • MECHANIC
  • 15,691 POSTS
You replaced the sensor, did you also use a scan tool to run the crank variation re-learn process? This is the process but you need a good scan tool to do it.

This video will help

https://youtu.be/sKo7xRWVNqY

Monitor the powertrain control module for DTCs with a scan tool. If other DTCs are set, except DTC P0315, refer to Diagnostic Trouble Code (DTC) List for the applicable DTC that set.

Select the crankshaft position variation learn procedure with a scan tool.
The scan tool instructs you to perform the following:

Accelerate to wide open throttle (WOT).
Release throttle when fuel cut-off occurs.
Engine should not accelerate beyond calibrated RPM value.
Release throttle immediately if value is exceeded.
Block drive wheels.
Set parking brake.
DO NOT apply brake pedal.
Cycle the ignition from OFF to ON.
Apply and hold the brake pedal.
Start and idle engine.
Turn A/C OFF.
Vehicle must remain in Park or Neutral.

The scan tool monitors certain component signals to determine if all the conditions are met to continue with the procedure. The scan tool only displays the condition that inhibits the procedure. The scan tool monitors the following components:
Crankshaft position (CKP) sensors activity-If there is a CKP sensor condition, refer to the applicable DTC that set.
Camshaft position (CMP) sensor activity-If there is a CMP sensor condition, refer to the applicable DTC that set.
Engine coolant temperature (ECT)-If the engine coolant temperature is not warm enough, idle the engine until the engine coolant temperature reaches the correct temperature.

Enable the crankshaft position system variation learn procedure with the scan tool.
Accelerate to WOT.

IMPORTANT: While the learn procedure is in progress, release the throttle immediately when the engine starts to decelerate. The engine control is returned to the operator and the engine responds to throttle position after the learn procedure is complete.

Release when the fuel cut-off occurs.
The scan tool displays Learn Status: Learned this ignition. If the scan tool indicates that DTC P0315 ran and passed, the CKP variation learn procedure is complete. If the scan tool indicates DTC P0315 failed or did not run, refer to DTC P0315. If any other DTCs set, refer to Diagnostic Trouble Code (DTC) List for the applicable DTC that set.
Turn OFF the ignition for 30 seconds after the learn procedure is completed successfully.
Was this
answer
helpful?
Yes
No
Wednesday, December 9th, 2020 AT 3:22 PM (Merged)
Tiny
CHEV_MAN00
  • MEMBER
  • 18 POSTS
  • 2002 GMC SIERRA
  • 4.8L
  • V8
  • 2WD
  • AUTOMATIC
  • 227,430 MILES
I have this problem with loss off power and smell of gas and while driving. A flashing engine light which I know is a random misfire. Afterward engine light will stay on solid and read out misfire on number six cylinder. The problem does not do this all the time. I have changed every related sensor, plugs including spark plugs and coils related to misfires. Also, I know it is not the catalytic converters because also changed. Fuel pump changed, fuel injectors checked out good. Now when this is not occurring (no power/misfire) my truck runs excellent and is good on gas. Please help.
Was this
answer
helpful?
Yes
No
Wednesday, December 9th, 2020 AT 3:22 PM (Merged)
Tiny
DANNY L
  • MECHANIC
  • 5,648 POSTS
Hello, I am Danny.

I am kind of familiar with this problem. It started on my 1997 Silverado as well. You truck might be having a Spider Injection problem. It is located inside the intake manifold. Let me do some research and get back to you. Hope this helps and thanks for using 2CarPros.
Danny-
Was this
answer
helpful?
Yes
No
Wednesday, December 9th, 2020 AT 3:22 PM (Merged)
Tiny
CHEV_MAN00
  • MEMBER
  • 18 POSTS
My 2002 does not have spider injection, it has individual coils and injectors. Only engine light is misfire when flashing and solid number six misfire. Thanks
Was this
answer
helpful?
Yes
No
Wednesday, December 9th, 2020 AT 3:22 PM (Merged)
Tiny
DANNY L
  • MECHANIC
  • 5,648 POSTS
Hello again.

Have you used a Noid light set to check the number six cylinder fuel Injector pulse/signal in the wiring harness?
Danny-
Was this
answer
helpful?
Yes
No
Wednesday, December 9th, 2020 AT 3:22 PM (Merged)
Tiny
CHEV_MAN00
  • MEMBER
  • 18 POSTS
Hello, I got the problem resolved. Turned out it this was caused from back pressure from the muffler. I removed the muffler all together and now my truck is running smooth again. Thanks
Was this
answer
helpful?
Yes
No
Wednesday, December 9th, 2020 AT 3:22 PM (Merged)
Tiny
DANNY L
  • MECHANIC
  • 5,648 POSTS
You are welcome!
Hope to hear from you again sometime if needed. Thanks again for using 2CarPros.
Danny-
Was this
answer
helpful?
Yes
No
Wednesday, December 9th, 2020 AT 3:23 PM (Merged)

Please login or register to post a reply.